索尼PS开发套件专利曝光:PCIe扩展卡让服务器变身游戏开发机
8 月 20 日消息,外媒 Tech4Gamers 昨天曝光了一项索尼的全新专利,其形态类似传统的 PCIe 扩展卡,可让 PC 工作站 / 服务器“摇身一变”成为 PlayStation 开发机。
免费影视、动漫、音乐、游戏、小说资源长期稳定更新! 👉 点此立即查看 👈

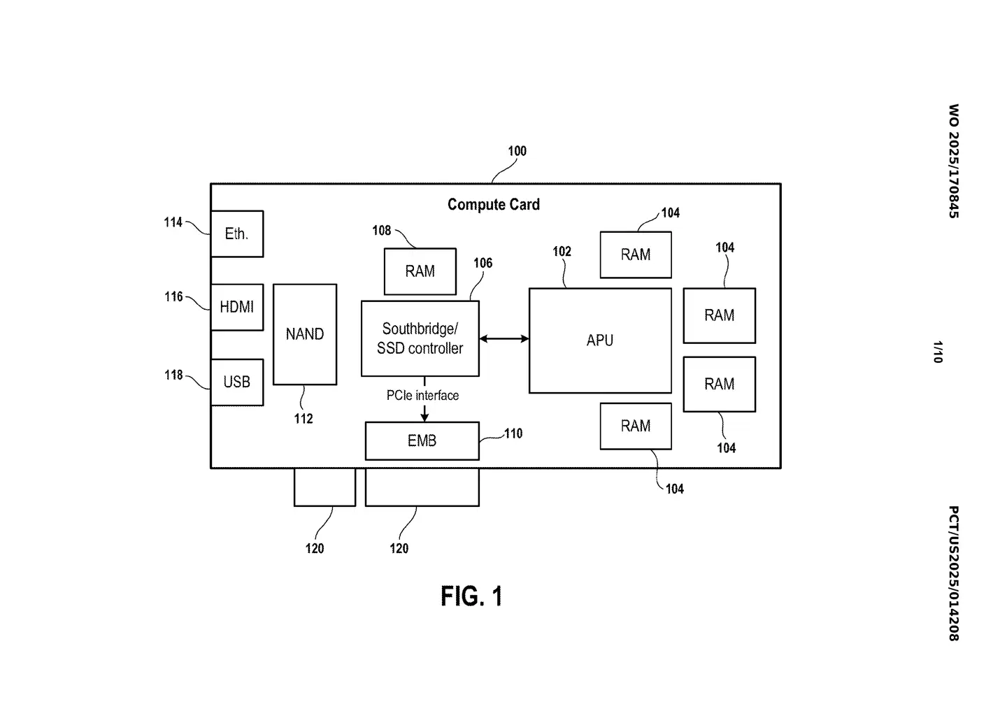
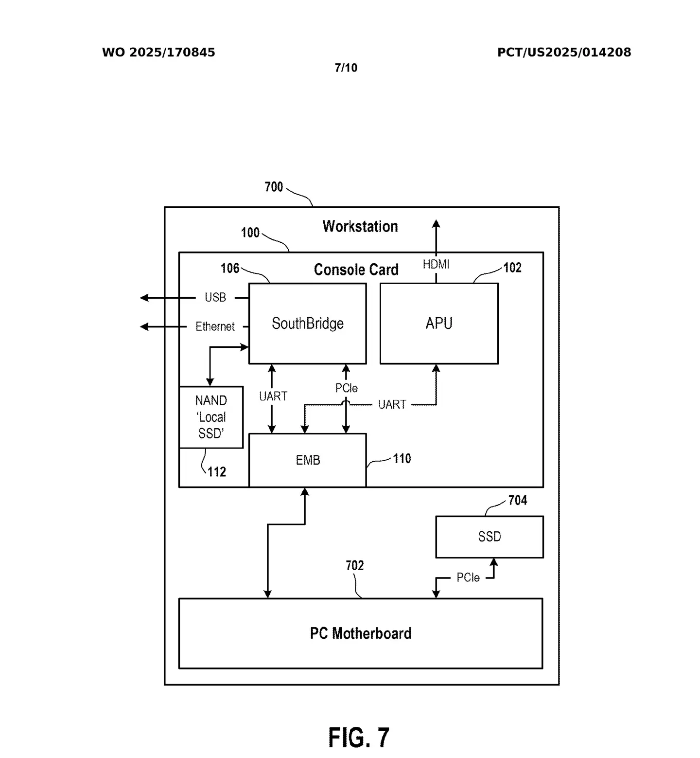
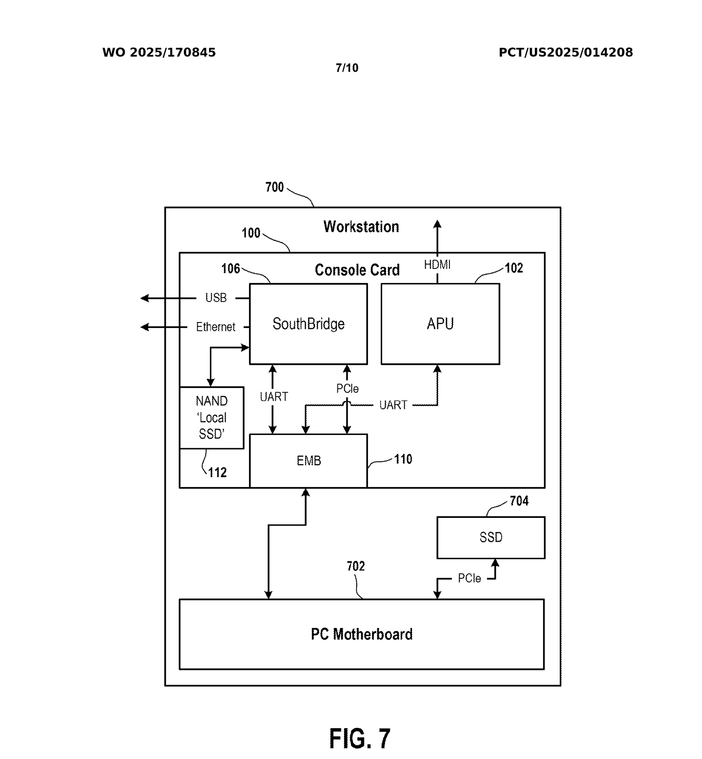
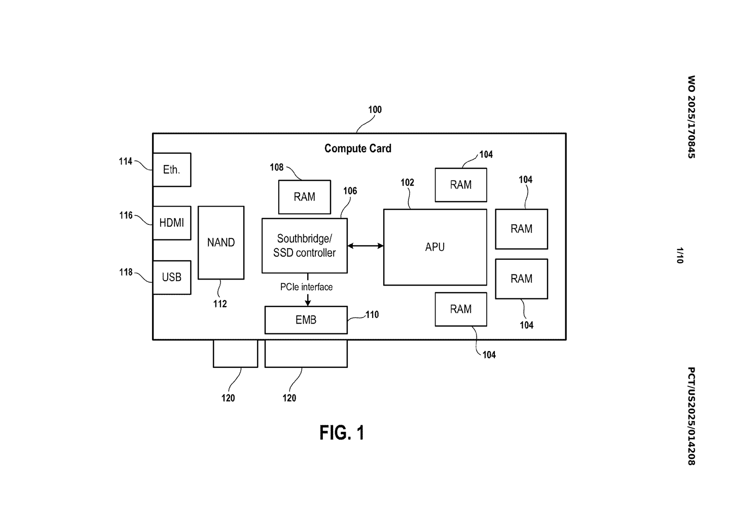
据介绍,这项专利的核心思路是将开发平台转变为可直接插入的 PCIe 扩展卡,告别笨重且稀缺的传统开发机。板卡上含有与常规 PlayStation 游戏机几乎相同的硬件。
同时板卡中还配有一种名为“端点管理桥(Endpoint Management Bridge)”的特殊芯片,可用于协调宿主 PC / 服务器与扩展卡之间的通信。

专利还展望了这张板卡的应用范围,整理后如下:
可用于构建远程开发机服务器,让全球开发者通过网络访问
可直接插在普通 PC 上,让常规 PC 成为开发机,直接用于主机游戏开发
索尼还在专利描述文件中表示,主机的独占性让开发游戏变得比较复杂,现有的专用开发机也不便适配云端环境,因此他们提出用这种 PCIe 扩展卡替代传统的开发机。
游乐网为非赢利性网站,所展示的游戏/软件/文章内容均来自于互联网或第三方用户上传分享,版权归原作者所有,本站不承担相应法律责任。如您发现有涉嫌抄袭侵权的内容,请联系youleyoucom@outlook.com。
同类文章
vivo X300 Ultra 手机维修备件价格公布:屏幕优惠价 1320 元,主板 3300 元起
vivo X300 Ultra维修价格出炉:看懂这份“后期养护”清单 vivo X300 Ultra昨天正式开卖,作为一款搭载了第五代骁龙8至尊版和蔡司大师镜头群的旗舰,6999元起的售价彰显了它的定位。新机到手,除了性能与影像,它的“后期养护”成本也成了不少用户关心的重点。这不,官方维修备件价格已
玄派玄机 16 2026 笔记本电脑上架:AMD 锐龙 AI Max+ 395,128GB + 2TB
玄派玄机 16 2026 笔记本电脑上架:AMD 锐龙 AI Max+ 395,128GB + 2TB 来了,一款瞄准专业创作和重度计算场景的移动工作站新鲜出炉。4月6日消息,玄派旗下的Metaphyuni系列新品——玄机16 2026笔记本电脑已经正式上架。其核心配置相当惹眼,直接搭载了AMD顶级
内存疯涨三星赚翻了!Q1利润暴涨600%以上 还得继续涨
存储芯片价格持续上涨,行业格局迎来深刻调整 近期存储芯片市场的普遍涨价,给众多下游电子厂商带来了显著的成本压力。与此同时,智能手机、个人电脑等终端产品全年出货量面临下滑,已成为业界共识。然而,市场格局往往是动态平衡的,对于三星电子这样的半导体巨头而言,当前的市场环境可谓机遇难得——公司第一季度盈利表
Meta 为雷朋 Display 智能眼镜推出第二个重大更新:新增营养追踪、聊天消息摘要、屏幕录制功能...
Meta 为雷朋智能眼镜推出第二代重要升级:新增营养追踪、消息摘要与高清屏幕录制功能 Meta 近日向旗下与雷朋联名研发的智能眼镜——Ray-Ban Meta 正式推送了第二次重大软件更新。此次升级并非无关痛痒的小修小补,而是新增了多项实用功能,例如基于AI视觉的实时营养分析、WhatsApp聊天智
OPPO A6k 手机上市:天玑 6300 + LCD 直屏 + 7000mAh 电池,定价 1999 元起
OPPO A6k手机重磅发布:天玑6300处理器、高清LCD直屏、7000mAh超大电池,售价仅1999元起 OPPO旗下广受欢迎的A系列再添实力新机。近日,备受期待的OPPO A6k正式上市发售。这款新品搭载了备受好评的天玑6300八核处理器,并配备了一块容量高达7000mAh的耐用长寿电池,成为
- 日榜
- 周榜
- 月榜
1
2
3
4
5
6
7
8
9
10
相关攻略
2015-03-10 11:25
2015-03-10 11:05
2021-08-04 13:30
2015-03-10 11:22
2015-03-10 12:39
2022-05-16 18:57
2025-05-23 13:43
2025-05-23 14:01
热门教程
- 游戏攻略
- 安卓教程
- 苹果教程
- 电脑教程

