倒计时 60 天,微软 Win11 23H2 家庭 / 专业版 11 月结束服务支持
9 月 13 日消息,科技媒体 bleepingcomputer 昨日(9 月 12 日)发布博文,报道称微软已提醒用户,Windows 11 23H2 家庭版和专业版将于 11 月结束支持,届时将不再提供安全与预览更新。
免费影视、动漫、音乐、游戏、小说资源长期稳定更新! 👉 点此立即查看 👈
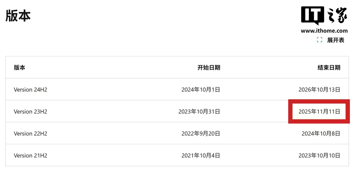
微软今日提醒用户,运行 Windows 11 23H2 家庭版和专业版的设备将在 2025 年 11 月 11 日结束服务支持。届时,11 月的安全更新将是最后一次推送,之后将不再提供任何月度安全补丁或预览更新。

相比之下,企业版与教育版将获得额外一年的主流支持,直至 2026 年 11 月 10 日。

微软建议 23H2 用户尽快升级至最新的 Windows 11 24H2(2024 年更新版),该版本于 2024 年 10 月面向符合条件的 Windows 11 22H2/23H2 设备全面开放。不过,升级前需注意,部分设备因驱动或软件不兼容而被实施“升级保护阻止”。
援引博文介绍,当前存在的阻止条件包括搭载不兼容的 Intel Smart Sound Technology(SST)音频驱动、SenseShield 代码混淆驱动、部分壁纸定制软件、集成摄像头以及 Dirac 音效增强软件的设备。这些设备若直接升级,可能出现蓝屏死机或功能异常,因此微软会延迟其更新推送,待解决兼容性问题后再推送。
此外,微软在 2025 年 7 月已提醒,Windows 11 22H2 的最后支持版本将于 2025 年 10 月 14 日结束服务。用户可通过 Windows 生命周期常见问题页面或生命周期策略搜索工具,查询不同版本的终止支持时间,以及即将退役的产品清单,以便及时升级或更换系统。
游乐网为非赢利性网站,所展示的游戏/软件/文章内容均来自于互联网或第三方用户上传分享,版权归原作者所有,本站不承担相应法律责任。如您发现有涉嫌抄袭侵权的内容,请联系youleyoucom@outlook.com。
同类文章
OPPO Pad 5 Pro 平板现身官网,消息称新机将搭载第五代骁龙 8 至尊版处理器
OPPO Pad 5 Pro 平板官方页面曝光,或将首发骁龙 8 Gen 3 至尊版芯片 安卓平板电脑市场即将迎来一位实力强劲的新成员。近日,OPPO 在其官方网站的预约页面中,低调展示了即将发布的 OPPO Pad 5 Pro。从释放的轮廓海报来看,这款新平板明确支持悬浮磁吸键盘和智能手写笔,直接
消息称某厂折叠屏新机排期暂定 7 月:镜头模组、物料大面积国产化,预计为小米 MIX Fold 5
消息称国产折叠屏旗舰定档7月发布:核心物料与镜头模组全面国产化,疑似小米MIX Fold 5 近期,数码科技领域再度传来重磅动态。据知名爆料博主@智慧皮卡丘在微博平台透露,国内某头部厂商的下一代折叠屏旗舰手机,已在核心物料、影像镜头模组乃至系统软件层面实现了大规模国产化与深度自研。在当前的产业链发展
消息称高通骁龙 8 Elite Gen6 Pro 处理器将支持 LPDDR6 内存
下一代安卓旗舰芯片革命:骁龙 8 Elite Gen6 Pro 正式官宣支持 LPDDR6 内存 安卓阵营即将迎来新一轮的性能飞跃。根据最新的供应链与行业爆料综合确认,高通下一代旗舰移动平台——骁龙 8 Elite Gen6 Pro,将率先实现对下一代 LPDDR6 内存标准的支持,这无疑将为来年旗
消息称一加 Ace6 至尊版搭载 8500mAh 电池、165Hz 屏、天玑 9500 芯片
一加 Ace6 至尊版最新爆料:天玑9500与8500mAh超大电池引领性能革新 近期,科技数码领域再度迎来重大爆料。根据知名数码博主 @熊猫很禿然 的最新信息,一加即将推出的 Ace6 至尊版有望在硬件配置上实现全新突破。据悉,该机型可能搭载行业领先的 8500mAh 超大容量电池,配备一块支持
6.99美元捡漏64GB内存条!因店员不识货“白送”
仅花7美元“捡漏”高端内存?一次令人啼笑皆非的零售乌龙 近日,海外科技社区热议一则真实趣闻:一位顾客在当地清算商店以极低价格“捡漏”高端硬件。据科技媒体Wccftech报道,这位幸运用户仅支付6 99美元,便购得一套64GB容量的英睿达(Crucial)DDR5-5600 SODIMM笔记本内存套装
- 日榜
- 周榜
- 月榜
相关攻略
2015-03-10 11:25
2015-03-10 11:05
2021-08-04 13:30
2015-03-10 11:22
2015-03-10 12:39
2022-05-16 18:57
2025-05-23 13:43
2025-05-23 14:01
热门教程
- 游戏攻略
- 安卓教程
- 苹果教程
- 电脑教程

