AMD推出HB-DIMM新架构,DDR5内存性能提升100%
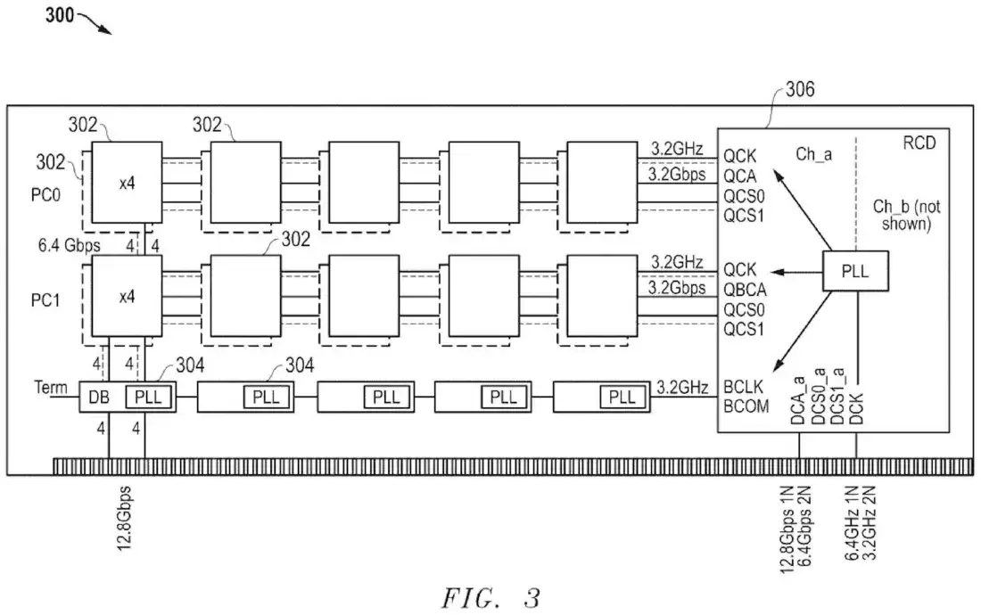
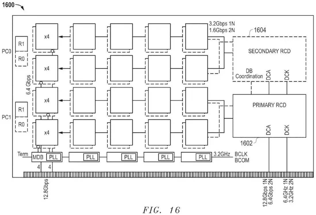
9月27日外媒TechSpot报道,AMD公司近日获得一项名为"高带宽内存模组架构"的重要专利技术。该方案能够将DDR5内存的总线传输速率从当前的6.4Gbps直接提升至12.8Gbps,在不大幅改变现有DRAM芯片架构的情况下,成功实现了信号质量优化和延迟降低的双重突破。
这项创新的核心在于独特的高带宽双列直插内存模组(HB-DIMM)设计。与传统方案不同,AMD采用了将多个DRAM芯片与高性能数据缓冲芯片协同工作的方式,通过在缓冲芯片端进行信号优化处理来突破性能瓶颈。

技术亮点在于集成了先进的寄存器时钟驱动电路,通过内存命令解码和芯片标识位路由技术,将内存访问方式升级为并行化的"伪通道"模式。这种设计打破了传统顺序访问的限制,使数据吞吐能力获得质的飞跃。

该技术还提供了1n和2n两种工作模式的灵活切换能力,配合创新的非交错传输格式,显著优化了时钟同步和信号完整性。特别值得一提的是,系统支持在伪通道和四通道配置间智能切换,这种动态调节能力使其能够完美适配从普通计算到高性能计算等各类应用场景的不同需求。
游乐网为非赢利性网站,所展示的游戏/软件/文章内容均来自于互联网或第三方用户上传分享,版权归原作者所有,本站不承担相应法律责任。如您发现有涉嫌抄袭侵权的内容,请联系youleyoucom@outlook.com。
同类文章
特斯拉德州测试跑道曝光 Roadster新车发布时间引关注
近日,特斯拉得克萨斯州超级工厂的一项新基建进展引发行业关注:厂区外围正在加速建设一条全新的专用车辆测试跑道。从已披露的现场信息来看,这条跑道并非普通厂区道路,其整体规格与布局设计均指向更高阶、更专业的工程验证用途。 根据最新流出的航拍影像,该测试跑道目前已初具规模。其规划清晰,路面铺设与附属设施完备
手动挡汽车为何逐渐消失 驾驶环境变化让多数司机难以适应
你是否注意到,如今道路上手动挡车型的身影正逐渐稀少?在新车市场中,自动挡几乎已成为标准配置。许多人将其简单归结为“手动挡技术落后”,然而背后的原因,远比这更为复杂。 相比之下,自动挡的操作逻辑则直观许多。只需挂入D挡,车辆便能平稳起步与行驶,驾驶者完全无需关注离合器踏板与结合点。尤其在拥堵频繁的城市
苹果自研基带2026年启用 iPhone 18系列将全面搭载
苹果公司正加速推进其核心供应链的自主化战略,并已进入关键实施阶段。综合多方行业信息,苹果计划于2026年推出的iPhone 18系列所有机型,将全面搭载其自主研发的调制解调器芯片。此举标志着苹果将结束在手机核心通信组件上长期依赖外部供应商的历史。业界与消费者共同关注的核心在于:这一自研基带的集成,能
铠侠XG10旗舰固态硬盘发布PCIe Gen5性能再升级
2026年5月14日,全球领先的存储解决方案提供商铠侠(Kioxia)重磅推出了其新一代旗舰级固态硬盘——XG10系列。该产品专为追求极致性能的高端台式机、电竞主机及高性能笔记本电脑设计,其核心亮点在于率先采用了消费级SSD领域的尖端接口技术:PCIe 5 0(Gen5)。这一升级使得XG10的理论
辽宁烧机油免拆治理解决方案:司有普安全高效质保无忧
辽宁地区的车主朋友们,是否正为爱车烧机油的问题而烦恼?面对这个常见的发动机故障,许多人在维修决策上感到困惑:是选择风险与成本双高的传统拆解大修,还是尝试更为温和的免拆修复技术?近期,一种名为“动态治理”的解决方案在车主社群中备受关注,其核心理念颇具创新性——让修复过程在车辆日常行驶中自然完成,从而有
- 日榜
- 周榜
- 月榜
1
2
3
4
5
6
7
8
9
10
相关攻略
2015-03-10 11:25
2015-03-10 11:05
2021-08-04 13:30
2015-03-10 11:22
2015-03-10 12:39
2022-05-16 18:57
2025-05-23 13:43
2025-05-23 14:01
热门教程
- 游戏攻略
- 安卓教程
- 苹果教程
- 电脑教程
热门话题

