保时捷新专利曝光:轴向磁通电机加持,混动跑车性能新飞跃
在高性能混合动力系统的赛道上,轴向磁通电机正以新星之姿冉冉升起。这项以轻量化、紧凑结构与强劲功率输出为特色的新兴技术,已被法拉利和兰博基尼率先应用于部分最新车型中。如今,保时捷也展现出对这一技术的浓厚兴趣,或将在未来车型中跟进布局。
免费影视、动漫、音乐、游戏、小说资源长期稳定更新! 👉 点此立即查看 👈

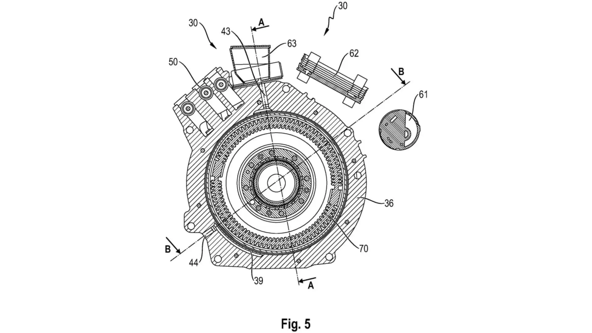
根据世界知识产权组织披露的专利信息,保时捷正在研发一套创新型混合动力系统,其核心是将供应商Yasa提供的小型轻量化轴向磁通电机与燃油发动机相结合。该专利不仅覆盖所有乘用车领域,还特别强调了"跑车"这一关键应用场景,暗示保时捷或将在跑车产品线中率先落地这一技术。
与传统的径向磁通电机相比,轴向磁通电机的设计优势尤为显著。以保时捷911 Carrera GTS搭载的径向磁通电机为参照,轴向磁通电机薄如盘片,厚度仅7.87厘米(部分应用场景)。这种超薄结构使其能够直接安装在发动机与变速箱之间,甚至可以嵌入双质量飞轮组件内部,几乎不增加动力总成的长度。这意味着发动机与电机仍可保持在驾驶员身后,维持经典的中后置布局,无需因电机加入而重新设计车身结构。
在动力协同方面,该系统通过双离合变速箱实现电机与燃油发动机的高效配合。Yasa电机的性能数据尤为亮眼:其单台电机最大输出功率超过470马力,峰值扭矩达800牛·米。作为对比,法拉利SF90搭载的三台Yasa电机合计输出217马力,兰博基尼Revuelto的两台电机输出略低于296马力,但这两款车型均配备V8或V12发动机,总功率均突破1000马力,凸显了轴向磁通电机在混合动力系统中的补充作用。
保时捷现有车型的动力数据可作为参考:当前911 Carrera GTS的电机单独输出约54马力和149牛·米,与水平对置六缸发动机配合后,总系统输出为532马力和609牛·米。若未来量产车采用新型轴向磁通电机,性能提升空间巨大。例如,若与涡轮增压3.6升发动机结合,综合输出可能突破800甚至900马力,这一功率水平恰好契合保时捷GT2、GT3系列乃至传闻中的旗舰超跑定位。

专利还揭示了该系统的另一设计亮点——散热优化。当电机与燃油发动机结合"杯状或钟形"透气腔时,两者均可获得充足冷却,有效降低热量积聚风险。该系统兼容性广泛,既适用于中置发动机布局,也适用于后置发动机布局,但需发动机纵向布置并与横置双离合变速箱配合。尽管目前尚不明确是否支持手动变速箱,但这一可能性仍为性能爱好者留下了想象空间。
游乐网为非赢利性网站,所展示的游戏/软件/文章内容均来自于互联网或第三方用户上传分享,版权归原作者所有,本站不承担相应法律责任。如您发现有涉嫌抄袭侵权的内容,请联系youleyoucom@outlook.com。
同类文章
AI能从单份血样检出多种神经疾病
来源:科技日报科技日报讯 (记者刘霞)由瑞典隆德大学领衔的国际研究团队,研发出一款新的人工智能(AI)模型。该模型仅需一份血液样本,便能精准识别多种神经退行性疾病。团队期望,该AI模型未来能实现“一
褪去虚火,脑机接口方能释放长远价值
来源:科技日报2026年开年,马斯克宣称脑机接口产品将于年内启动量产,引爆全球市场情绪。国内资本随即扎堆追捧,脑机接口相关概念股大幅走高,行业短期炒作虚火蔓延。进入3月,脑机接口迎来多重利好:脑机接
黎万强、洪锋退出小米科技股东名单
人民财讯4月7日电,企查查APP显示,近日,小米科技有限责任公司发生工商变更,原股东小米联合创始人黎万强、洪锋退出,同时,注册资本由18 5亿元减至约14 8亿元。 企查查信息显示,该公司成立于20
新闻分析|“阿耳忒弥斯2号”任务为何只绕月不登月
新华社北京4月7日电 新闻分析|“阿耳忒弥斯2号”任务为何只绕月不登月 新华社记者张晓茹 美国东部时间6日18时40分许(北京时间7日6时40分许),执行美国“阿耳忒弥斯2号”载人绕月飞行任
“链接未来·智汇静安”区块链创新应用优秀场景分享(四)| 信医基于区块链与隐私计算的真实世界研究数据产品
聚焦数字技术,释放创新动能。为集中展示静安区区块链技术从“实验室”走向“应用场”的丰硕成果,挖掘一批可复制、可推广的行业解决方案,加速构建区块链产业生态闭环,静安区数据局特推出“静安区区块链创新应用
- 日榜
- 周榜
- 月榜
1
2
3
4
5
6
7
8
9
相关攻略
2015-03-10 11:25
2015-03-10 11:05
2021-08-04 13:30
2015-03-10 11:22
2015-03-10 12:39
2022-05-16 18:57
2025-05-23 13:43
2025-05-23 14:01
热门教程
- 游戏攻略
- 安卓教程
- 苹果教程
- 电脑教程
热门话题

