保时捷新专利:轴向磁通电机让混动车型更轻更强
11月12日消息,轴磁电机作为一项新兴驱动技术,正在成为高性能混合动力系统的新焦点。凭借轻量化设计、紧凑结构和高功率输出的优势,法拉利和兰博基尼已在部分最新车型中率先应用这一技术。据外媒motor1今日报道,保时捷也可能紧随其后。
免费影视、动漫、音乐、游戏、小说资源长期稳定更新! 👉 点此立即查看 👈

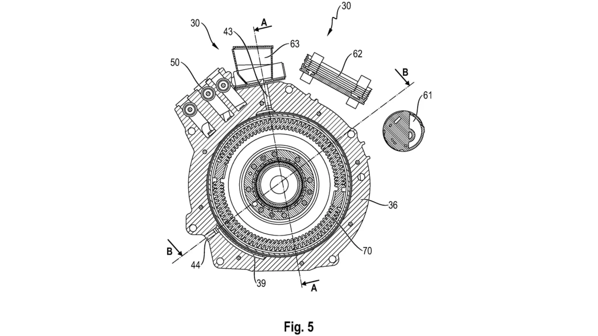
根据提交给世界知识产权组织的专利文件显示,保时捷正在研发一套混合动力系统,将采用供应商Yasa提供的紧凑型轴磁电机与燃油发动机相结合。这项专利覆盖所有乘用车型,同时明确指出了"跑车"应用场景。
这一设计思路非常直观。相比911 Carrera GTS中传统的径向磁通电机,轴磁电机的厚度薄如盘片,可以直接安装在发动机与变速箱之间,巧妙嵌入双质量飞轮组件内部。
电机与燃油发动机通过双离合变速箱协同工作。得益于超薄电机设计,动力总成长度几乎不会增加,也意味着发动机与电机仍可保持在驾驶员身后而不影响布局。值得一提的是,部分应用中的电机厚度仅7.87厘米。


专利显示,这套系统既适用于中置发动机,也适用于后置发动机。发动机需纵向布置,并与横置双离合变速箱配合。目前尚未清楚该布局是否兼容手动变速箱,但仍存期待空间。
设计上,这套方案还能有效降低热量产生。专利提到,当电机与燃油发动机结合"杯状或钟形"透气腔时,两者都能获得充足冷却。

Yasa的紧凑型电机性能惊人,其最强单台电机可输出超过470马力和800牛·米的扭矩。据了解,法拉利SF90的三台Yasa电机合计输出217马力,兰博基尼Revuelto的两台电机输出略低于296马力。但这两款车型均搭载强劲V8或V12发动机,总功率均超过1000马力。
若保时捷在未来量产车上采用这一技术,性能表现可能会令人震撼。当前911 Carrera GTS的电机会独输出约54马力和149牛·米,与水平对置六缸发动机配合后,总系统输出为532马力和609牛·米。
假如保时捷将新型轴磁电机与涡轮增压3.6升发动机结合,综合输出可能突破800甚至900马力,具体取决于车型。报道指出,这一功率水平非常适合GT2、GT3乃至传说中的超跑车型。
游乐网为非赢利性网站,所展示的游戏/软件/文章内容均来自于互联网或第三方用户上传分享,版权归原作者所有,本站不承担相应法律责任。如您发现有涉嫌抄袭侵权的内容,请联系youleyoucom@outlook.com。
同类文章
天价内存逼出狠活!老外魔改无内存PC成功运行
内存价格飙升,电脑不装内存条还能开机吗?极限测试揭示真相 近期内存市场价格持续攀升,令许多用户开始思考各种替代方案的可能性。一位名为PortalRunner的技术博主进行了一场大胆实验:如果电脑完全不安装任何内存模组,究竟能否成功启动?其运行状态又会如何? 实验平台选用了一套经典硬件组合:华擎品牌主
酷态科 CP 户外风扇新增「暮山紫」「曜石黑」配色,69 元
酷态科CP户外风扇新增两款配色,持续拓展户外场景 4月3日,酷态科正式为其CP户外风扇产品线添上了“暮山紫”与“曜石黑”两款新色。目前,这两款新配色产品已在京东平台上架,售价维持在了69元。 京东酷态科 CP 超级户外风扇 69 元直达链接 从官方发布的信息来看,这款风扇的核心性能配置颇有看点。其采
荣耀 X80i 手机预售:金属中框 + 7000mAh 电池,1999 元起
荣耀 X80i 开启预售:续航与质感的新答案,1699元起 千元机市场的竞争,总在看似平静中迎来新的变局。4月2日,荣耀X80i正式开启全渠道预售,并将于4月10日全渠道开售。官方建议零售价为1999元起,但结合当前正在进行的“数码家电政府补贴”,到手价可直接下探到1699 15元起,性价比的门槛被
小米推出 2026 款 REDMI G27Q 27 英寸显示器:2K 320Hz、双 DP 2.1,1299 元
小米发布2026款Redmi G27Q 27英寸电竞显示器:2K 320Hz高刷、双DP 2 1接口,首发价1299元 近日,小米旗下品牌Redmi悄然在京东平台上架了全新2026款G27Q电竞显示器。作为一款主打高性价比的电竞装备,这款27英寸显示器核心亮点在于搭载了2K高清分辨率与320Hz极致
卢伟冰回应小米及 REDMI 部分在售产品调价:内存涨价力度远超预期,相比去年 Q1 飙升近 4 倍
关于小米产品价格调整的说明与市场观察 4月3日,小米官方发布了一则关于Xiaomi及REDMI部分产品建议零售价调整的说明。核心原因很明确:全球存储芯片等关键零部件的价格,正在经历一场持续且大幅的飙升。经过审慎评估,公司决定自2026年4月11日0时起,对部分在售产品的售价进行调整。 高管回应:涨价
- 日榜
- 周榜
- 月榜
相关攻略
2015-03-10 11:25
2015-03-10 11:05
2021-08-04 13:30
2015-03-10 11:22
2015-03-10 12:39
2022-05-16 18:57
2025-05-23 13:43
2025-05-23 14:01
热门教程
- 游戏攻略
- 安卓教程
- 苹果教程
- 电脑教程

