HashKey交易所是什么?香港持牌平台全介绍
HashKey Exchange 总部位于香港,是香港首家获得牌照的加密货币交易所。该交易所以其先进的安全功能和用户友好的介面而闻名,主要面向香港散户、机构客户以及周边市场,台湾用户也可注册使用(Global 版)。
2025年主流加密货币交易所:
- 欧易OKX >>>进入官网<<< >>>官方下载<<<
- 币安Binance >>>进入官网<<< >>>官方下载<<<
那么,HashKey 交易所是什么?安全吗?以下我们将对该交易所的功能及安全性进行介绍分析。
HashKey 交易所介绍
| HashKey 加密货币交易所 | |
| 成立年份 | 2018 年(2023年上线) |
| 总部 | 香港 |
| 支援加密货币 | 20+ |
| 台湾是否可用 | 是 |
| 存款方式 | 电汇、信用卡 |
| 交易费用 |
|
| 优点 | 使用者友善的介面; 安全性高; 闪电般快速的交易。 |
| 缺点 | 有限的加密货币选择; 仅有现货交易; 流动性担忧。 |
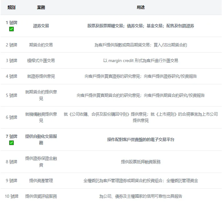
Hashkey 交易所是Hashkey Group 旗下的一间虚拟货币交易所。 HashKey Group 已获得香港证·监·会颁发的两张牌照——1 号牌照(证券交易)和7 号牌照(自动化交易),允许该公司交易证券代币并提供自动交易服务。
HashKey 并不是一家全新的交易所,该公司成立于2018 年,在获得牌照前,主要为专业投资者和企业提供虚拟货币交易服务。在2023 年8 月获得牌照后,该交易所才提供散户投资。
凭借用户友好的介面、闪电般的交易速度和先进的图表工具和分析功能,HashKey 交易所为加密货币领域的初学者和经验丰富的交易者提供无缝体验。
HashKey 交易所安全吗?
在开始使用HashKey 交易所前,一个重点是,HashKey 安全吗?是否为zp?接下来,我们将从HashKey 背景、合法性以及安全措施三个方面来分析该交易所的安全性。
1.HashKey 交易所背景
HashKey 交易所和HashKey Global 交易所都是Hashkey Group 旗下的交易平台, Hashkey Group 是一家专门提供虚拟货币服务的公司,提供多种区块链服务,包括交易所、NFT、创投、节点服务等,覆盖范围十分广。
该公司的董事长兼执行总裁是肖风,而虚拟货币交易所业务负责人是翁晓奇(Livio Weng)。翁晓奇曾担任火币全球交易所的CEO 和借贷宝的副总裁,在加密货币业务上经验非常丰富。
2.HashKey 合法性
如上文所述,HashKey 交易所是香港少数持有牌照的加密货币交易所之一,除了获得1 类和7 类牌照外,它还持有香港公司册处颁发的信托或公司服务提供者(TCSP )牌照。
而HashKey Global 也已获得百慕达金融管理局(BMA)颁发的数位资产投资者保护制度全面许可牌照,提供LaunchPad、合约、杠杆等主流交易和服务产品。
百慕大是全球最大的离岸金融和再保险中心之一,详情请查看。
3.HashKey 的安全措施
从平台安全性来看,该公司将客户资金独立存放,两个虚拟货币交易所之间的运营有效分隔,并受机构托管级保险保护。它还接受四大会计师事务所的审计与合规检查,全面遵守各项监管规定。
此外,HashKey 提供两家交易所的储备资产数量,您可以在Coinmarketcap 上查看:
- https://coinmarketcap.com/zh-tw/exchanges/hashkey-exchange/
- https://coinmarketcap.com/zh-tw/exchanges/hashkey-global/
从这一点上来看,用户使用起来也比较安心。不过, Hashkey 的储备证明更新并没有那么的频繁和及时,透明度相对较低。
4.HashKey 评价
总的来说,Hashkey 交易所背靠Hashkey Group 集团,且已经经营多年,安全性还是比较高的。不过,我们并不能保证哪个交易所是绝对安全的,建议您不要将资金集中在一个交易所中,这样可以很大程度降低交易所出现风险带来的影响。
HashKey 交易所开户教学
最后,我们将简单介绍HashKey 交易所的开户步骤:
- 前往HashKey 交易所网站;
- 点击右上角的「注册」按钮;
- 输入您的电子邮件地址并建立安全密码;
- 点击发送到您收件匣的连结来验证您的电子邮件;
- 透过提供必要的身份证明文件来完成KYC 流程;
- 设定两因素身份验证以提高安全性;
- 恭喜!您的HashKey Exchange 帐户现已启动并准备进行交易。
详细HashKey 开户、出入金教学我们将在下一篇文章进行介绍。
Hashkey 交易手续费
最后,让我们来看看Hashkey 交易手续费。
目前Hashkey 普通用户的交易手续费率为Maker:0.12% / Taker:0.12%。不过,随着等级的提升,费率有有所变化,挂单费最低可达0%。
如果您拥有Hashkey 交易所平台币$HSK,则可以享受更多的交易手续费折扣。
Hashkey 入金不需手续费,但出金费用会根据具体币种而定,最新情况请参考 Hashkey Global 费率结构说明。
游乐网为非赢利性网站,所展示的游戏/软件/文章内容均来自于互联网或第三方用户上传分享,版权归原作者所有,本站不承担相应法律责任。如您发现有涉嫌抄袭侵权的内容,请联系youleyoucom@outlook.com。
同类文章
比特币价格触及七周新低 现在是抄底的最佳时机吗
比特币跌至七周低点,回调是否带来抄底时机? 比特币价格最近滑落到了七周以来的低点,这无疑牵动了市场的神经。技术分析层面给出的信号是,短期的这波回调,或许为投资者打开了一扇潜在的“机会之窗”。但话说回来,市场情绪和资金流向瞬息万变,盲目追高或者急匆匆入场,风险可不小,这一点必须得警惕。 一、市场回调原
比特币技术分析:或将上探112505美元阻力位后回调至100205美元下方
比特币市场观察:关键阻力与支撑位分析 最近比特币的行情,用“上蹿下跳”来形容一点也不为过。这种剧烈的波动背后,技术图表正在传递一些关键信号:短期内,价格有向上试探112,505美元这一重要阻力位的可能。然而,市场从来不是单边叙事,如果在这个位置遭遇强劲的抛售压力,行情掉头向下,回探100,205美元
2025年比特币ETF投资指南:详解运作机制与未来市场潜力
比特币ETF:传统金融拥抱数字资产的桥梁 如果说有什么金融产品,能让传统市场的投资者轻松踏入加密世界的大门,比特币交易所交易基金(ETF)无疑是当前最受瞩目的那一个。它本质上提供了一条合规、便捷的通道,让普通投资者无需操心私钥管理或钱&包安全,就能间接持有比特币。这种设计,不仅大幅简化了投资流程,也
SharpLink持续增持以太坊 持仓量逼近80万枚ETH
SharpLink大举增持以太坊:机构动向背后的市场信号与操作指南 最近加密圈有个消息挺引人注目:知名机构SharpLink一口气增持了56,533枚以太坊(ETH)。这一大手笔操作,直接将其累计持仓量推向了接近80万枚ETH的门槛。熟悉市场的朋友都知道,这类机构级别的大额动作,往往不只是简单的资产
鲸鱼巨额转账95,789 ETH引发关注 价值4.27亿美元资金流向解析
鲸鱼异动:近10万枚ETH悄然转移,市场风向要变? 加密市场的资金流向,向来是洞察先机的重要窗口。近日,链上数据捕捉到一笔引人注目的交易:约95,789枚以太坊(ETH)被从单一地址分散转移至6个全新的钱&包地址。以当前市价估算,这笔资产总值高达约4 27亿美元。如此规模的大额资产迁徙,往往不是普通
- 日榜
- 周榜
- 月榜
1
2
3
4
5
6
7
8
9
10
相关攻略
2015-03-10 11:25
2015-03-10 11:05
2021-08-04 13:30
2015-03-10 11:22
2015-03-10 12:39
2022-05-16 18:57
2025-05-23 13:43
2025-05-23 14:01
热门教程
- 游戏攻略
- 安卓教程
- 苹果教程
- 电脑教程
热门话题



