折叠屏iPhone将至:苹果如何攻克折痕难题?
随着三星、谷歌等品牌的折叠屏手机上市多年,科技界一直关注着苹果何时会加入这一市场。根据一篇综合报道,尽管苹果最新仍未发布任何声明,但多项分析师预测和专利信息表明,折叠屏iPhone的推出可能已不再遥远。
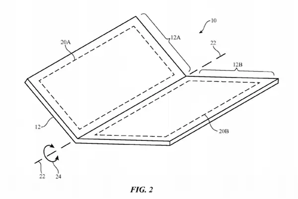
报道指出,一项关键的证据是苹果在2024年7月16日获得的一项专利。这项名为“电子设备与耐用折叠显示屏”的专利最初于2024年11月提交。
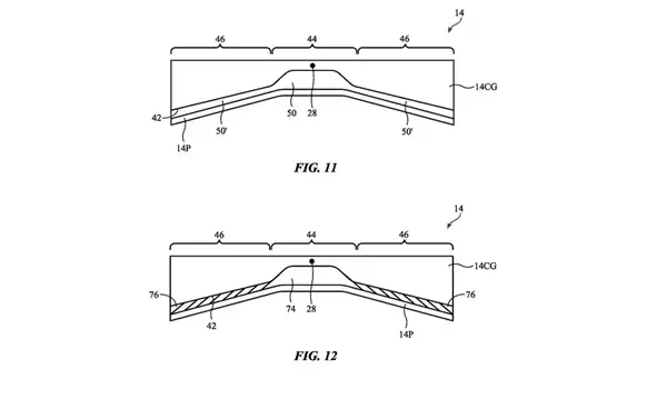
专利文件描述了一种保护屏幕的铰链设计:当设备跌落时,显示屏会“围绕弯曲轴轻微折叠”,让设备边缘先着地,从而保护脆性的内屏。这证实了苹果在折叠屏技术上的长期研发。

关于产品形态,目前传闻主要指向两种设计:
书本式折叠:根据知名分析师郭明錤的预测,这类设备可能配备一块7.8英寸的无折痕内屏和一块5.5英寸的外屏。折叠时厚度约为9-9.5毫米,展开后为4.5-4.8毫米。设备可能配备前置摄像头和双后置摄像头。

翻盖式折叠:另有信息称,苹果可能优先开发类似三星GalaxyZ Flip的翻盖式设备,旨在打造比现有iPhone薄一半的机型。郭明錤预测,为了追求轻薄,折叠屏iPhone可能会舍弃Face ID,转而采用集成在侧边按钮的Touch ID进行生物识别。
在价格方面,郭明錤估计折叠屏iPhone的售价将在2000至2500美元之间,与市面上其他高端折叠屏设备持平。他预测其出货量可达300万至500万台。
至于发布时间,各方预测存在分歧:郭明錤曾预测苹果最早可能在2026年底发布一款无折痕的折叠屏设备。然而市场分析机构TrendForce的估计则更为保守,他们认为由于苹果对可靠性和消除屏幕折痕有着严格要求,其折叠屏产品的发布可能会推迟到2027年。
报道回顾,关于折叠屏iPhone的传闻已流传多年,预测的发布日期从2024年一路推迟,因此最终的发布时间仍存在不确定性。

除了手机,报道还提及苹果可能正在开发一款折叠屏iPad。该设备据称将配备约8英寸的显示屏(接近iPad Mini的大小)。由于不需要像手机那样放入口袋,其对耐用性和厚度的要求可能相对宽松一些。
总而言之,虽然万众期待的折叠屏iPhone尚未得到苹果最新确认,但持续的专利活动和分析师报告都强烈预示着苹果正在积极筹备其折叠屏产品线,消费者或许在不久的将来就能看到结果。
编辑点评:
折叠屏iPhone的传闻始终停留在分析师观点中,折射出苹果对技术极致的苛求。若其真能实现无折痕突破,或将重新定义折叠体验。但一切悬念,仍待苹果自己揭晓。

文章出处:太平洋科技
游乐网为非赢利性网站,所展示的游戏/软件/文章内容均来自于互联网或第三方用户上传分享,版权归原作者所有,本站不承担相应法律责任。如您发现有涉嫌抄袭侵权的内容,请联系youleyoucom@outlook.com。
同类文章
小米17 Max续航实测 8000mAh电池续航远超iPhone 17 Pro Max
小米17Max将于5月21日发布,其核心亮点包括内置8000mAh超大电池,续航表现突出。实测连续视频播放超33小时,远超两台iPhone17ProMax接力时长。该机还配备6 9英寸超级像素屏,显示细腻且功耗低,并首发2亿像素徕卡主摄及独立3X潜望长焦,影像能力全面升级。
三星Note10+自动重启原因与解决方法
三星Note10+手机自动重启可能由手机壳挤压电源键、极端温度、系统缓存过多、SD卡故障或定时开关机设置引起。可依次排查这些因素。若问题依旧,可尝试通过刷机修复系统软件故障。若刷机无效,则可能是硬件问题,需送交专业维修中心处理。
安卓手机存储涨价致售价上涨近20% 用户换机周期延长
存储芯片涨价导致安卓手机成本上升,东南亚市场一季度出货量下滑9%,平均售价却同比上涨19%至349美元。三星逆势增长,OPPO、小米出货量均下降。全球主要市场均受波及,终端价格上涨致消费者推迟换机,市场复苏前景不明。
一加手机线刷救砖教程 一加X与一加2刷机指南
本教程以金立N5120为例,详细介绍了使用线刷宝进行线刷的完整步骤:下载客户端与对应ROM包,连接手机后开启USB调试、安装驱动并进入刷机模式,等待进度条完成。刷机成功后手机会自动重启,首次开机时间可能较长。整个过程需严格遵循步骤并使用正确资源。
小米8屏幕指纹版刷机教程 全网通8GB内存刷机步骤详解
以小米8屏幕指纹版为例,介绍使用线刷宝进行刷机的步骤。需下载高版本ROM包,通过USB连接电脑并开启调试模式,软件将引导完成驱动安装与刷机操作。刷机成功后需检查各项功能是否正常。
- 日榜
- 周榜
- 月榜
1
2
3
4
5
6
7
8
9
10
相关攻略
2015-03-10 11:25
2015-03-10 11:05
2021-08-04 13:30
2015-03-10 11:22
2015-03-10 12:39
2022-05-16 18:57
2025-05-23 13:43
2025-05-23 14:01
热门教程
- 游戏攻略
- 安卓教程
- 苹果教程
- 电脑教程
热门话题

