宝马防篡改螺丝专利:第三方汽修需专用工具
12月19日消息,汽车媒体CarBuzz今日发文称,他们在发掘欧盟知识产权局(EUIPO)的数据库后,发现宝马公司提交了一项新的专利申请:一种头部被设计成宝马“蓝天白云”Logo形状的防盗螺丝。
免费影视、动漫、音乐、游戏、小说资源长期稳定更新! 👉 点此立即查看 👈
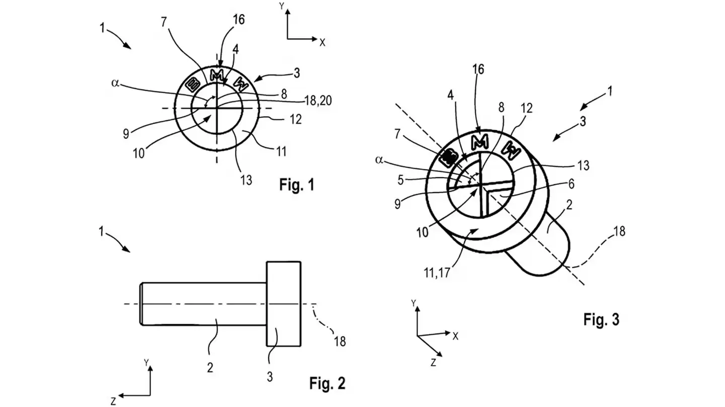
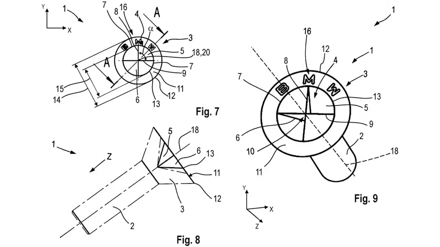
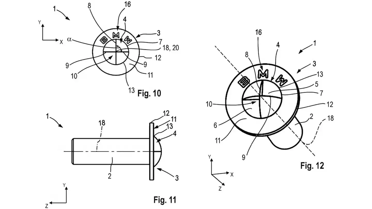
与传统的十字、一字或六角螺丝不同,这款螺丝的头部直接采用了宝马经典的圆形Logo造型。其设计精妙之处在于,Logo的四个扇形区域中,有两个是凹槽(用于受力),另外两个则与表面齐平,边缘还印有精致的宝马字样。

这一设计并非仅仅为了美观,其核心目的在于建立一道物理壁垒。专利文件明确指出,这种异形凹槽结构能有效“防止使用普通的反驱动结构(即通用工具)来松开或拧紧螺丝”。

这意味着,无论是喜欢DIY的车主,还是第三方独立维修店,如果没有宝马最新授权的专用匹配工具,都将无法处理这些紧固件。这种设计实质上是将维修权牢牢锁定在宝马授权经销商的体系之内。

援引博文介绍,宝马计划将这种螺丝应用于车辆内部,通常是可见的部位。专利中列举的潜在应用场景包括座椅安装点,以及连接驾驶舱与承载车身结构的关键部位。
这些位置通常需要较大的扭矩来固定大尺寸紧固件。由于该螺丝的受力面被Logo造型分割,且带有装饰性饰环,其接触面积相对较小,如果强行使用不匹配的工具拆卸,极易导致螺丝滑丝或工具断裂。

游乐网为非赢利性网站,所展示的游戏/软件/文章内容均来自于互联网或第三方用户上传分享,版权归原作者所有,本站不承担相应法律责任。如您发现有涉嫌抄袭侵权的内容,请联系youleyoucom@outlook.com。
同类文章
工信部发布防范 OpenClaw(“龙虾”)开源智能体安全风险“六要六不要”建议
工信部发布“六要六不要”,为OpenClaw(“龙虾”)开源智能体安全风险划出红线 近日,工业和信息化部网络安全威胁和漏洞信息共享平台发布了一份重磅文件,针对当前热门的OpenClaw(因其图标酷似龙虾,业内常昵称为“龙虾”)开源智能体,提出了清晰的安全使用指引——“六要六不要”。这份建议可不是空穴
荣耀 CEO 李健:荣耀机器人全栈自研,将聚焦消费市场
荣耀CEO李健详解机器人战略:全栈自研,聚焦三大核心消费场景 荣耀春季旗舰新品发布会圆满结束后,关于公司未来发展的蓝图更加清晰。在随后的媒体沟通会上,荣耀CEO李健不仅公布了年度销售目标,更首次系统性地阐述了荣耀在机器人领域的完整战略规划与市场布局。 在探讨机器人业务发展方向时,李健明确了荣耀的坚定
别只盯着“上门装龙虾赚26万”!看懂OpenClaw背后的“意图入口”大战
别再只关注“上门装龙虾赚26万”!深度解读OpenClaw背后的“意图入口”新战争 最近科技行业的热潮,充满了戏剧性的现实色彩。一只“红色龙虾”AI智能体搅动了整个市场:有人通过提供安装服务,收取每次五百元,短短几天就赚取二十六万元收入;腾讯大厦前甚至排起长队,大家竞相领取免费的安装体验权限。这场全
openclaw安装配置
一、系统要求 在开始安装 OpenClaw 之前,请务必确认您的计算机满足以下最低配置要求。这如同搭建房屋前检查地基,是确保后续安装流程顺利、软件稳定运行的前提。更高的硬件配置将为复杂任务处理和流畅体验提供有力保障。 操作系统:支持 Windows 10 及以上版本、macOS 最新稳定版,以及主流
自研第一个SKILL-openclaw入门
自研第一个SKILL:手把手教你开发openclaw自定义技能 当你成功构建好openclaw之后,如何让它真正“智能”起来?关键在于为其开发SKILL——这些技能是openclaw的“内功心法”,决定了它能帮你做什么、做多好。 本文将带你亲自动手,从零开始开发你的第一个openclaw自定义技能,
- 日榜
- 周榜
- 月榜
相关攻略
2015-03-10 11:25
2015-03-10 11:05
2021-08-04 13:30
2015-03-10 11:22
2015-03-10 12:39
2022-05-16 18:57
2025-05-23 13:43
2025-05-23 14:01
热门教程
- 游戏攻略
- 安卓教程
- 苹果教程
- 电脑教程

