宝马防盗螺丝专利解读:4S店为何需专用工具防篡改
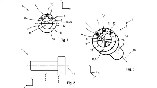
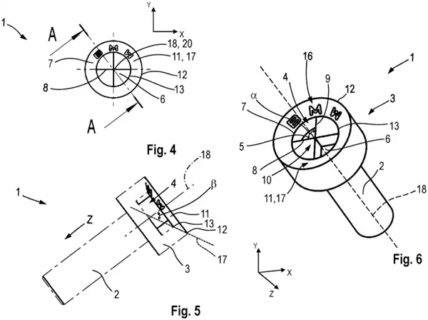
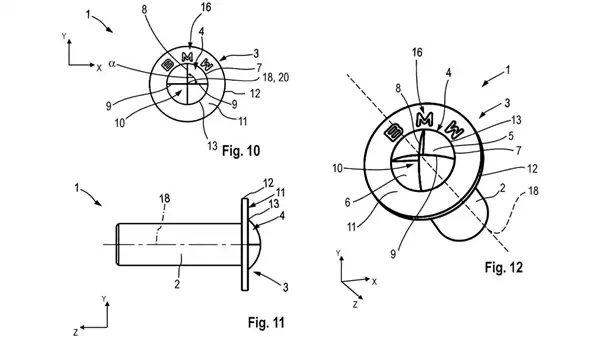
12月19日消息,宝马公司近期获得一项新型防盗螺丝专利。这项设计采用了独特的异形凹槽结构,只有使用宝马最新授权的专用工具才能正常拆装,市面上常见的通用工具(如十字螺丝刀、六角扳手等)根本无法操作。
免费影视、动漫、音乐、游戏、小说资源长期稳定更新! 👉 点此立即查看 👈
专利文件显示,这种螺丝的头部采用了特殊的几何形状,与市场上任何通用工具都不匹配。部分版本甚至采用内梅花结构,通过对梅花齿形进行精确微调,形成每辆车独一无二的防盗机制。
同时,该设计还采用了创新的逆向锁定原理,使螺丝在安装后形成“自锁”状态,进一步增加了非法拆卸的难度。当使用非专用工具尝试拆卸时,反而会使螺丝更加紧固。

这些螺丝主要用于车轮轮毂(防盗)、发动机关键部件(如可变气门正时系统,防止非法改装或更换零件)以及车身关键连接点(保护车辆重要结构的完整性和安全性)等处。
专利明确指出,这种设计旨在建立物理壁垒,有效“防止使用普通反驱动结构松开或拧紧螺丝”,从而将维修权限牢牢锁定在宝马授权经销商体系内。
对于车主而言,这项新专利无疑有利有弊。除了确实可以起到防盗作用以及保证零部件的质量外,它也会带来诸多不便。
这意味着车主只能在宝马授权的4S店或服务中心进行维修,其工时费普遍高于第三方修理厂;若行驶中轮胎突然爆胎,没有专用工具将无法自行更换备胎,只能依赖救援服务。




游乐网为非赢利性网站,所展示的游戏/软件/文章内容均来自于互联网或第三方用户上传分享,版权归原作者所有,本站不承担相应法律责任。如您发现有涉嫌抄袭侵权的内容,请联系youleyoucom@outlook.com。
同类文章
工信部发布防范 OpenClaw(“龙虾”)开源智能体安全风险“六要六不要”建议
工信部发布“六要六不要”,为OpenClaw(“龙虾”)开源智能体安全风险划出红线 近日,工业和信息化部网络安全威胁和漏洞信息共享平台发布了一份重磅文件,针对当前热门的OpenClaw(因其图标酷似龙虾,业内常昵称为“龙虾”)开源智能体,提出了清晰的安全使用指引——“六要六不要”。这份建议可不是空穴
荣耀 CEO 李健:荣耀机器人全栈自研,将聚焦消费市场
荣耀CEO李健详解机器人战略:全栈自研,聚焦三大核心消费场景 荣耀春季旗舰新品发布会圆满结束后,关于公司未来发展的蓝图更加清晰。在随后的媒体沟通会上,荣耀CEO李健不仅公布了年度销售目标,更首次系统性地阐述了荣耀在机器人领域的完整战略规划与市场布局。 在探讨机器人业务发展方向时,李健明确了荣耀的坚定
别只盯着“上门装龙虾赚26万”!看懂OpenClaw背后的“意图入口”大战
别再只关注“上门装龙虾赚26万”!深度解读OpenClaw背后的“意图入口”新战争 最近科技行业的热潮,充满了戏剧性的现实色彩。一只“红色龙虾”AI智能体搅动了整个市场:有人通过提供安装服务,收取每次五百元,短短几天就赚取二十六万元收入;腾讯大厦前甚至排起长队,大家竞相领取免费的安装体验权限。这场全
openclaw安装配置
一、系统要求 在开始安装 OpenClaw 之前,请务必确认您的计算机满足以下最低配置要求。这如同搭建房屋前检查地基,是确保后续安装流程顺利、软件稳定运行的前提。更高的硬件配置将为复杂任务处理和流畅体验提供有力保障。 操作系统:支持 Windows 10 及以上版本、macOS 最新稳定版,以及主流
自研第一个SKILL-openclaw入门
自研第一个SKILL:手把手教你开发openclaw自定义技能 当你成功构建好openclaw之后,如何让它真正“智能”起来?关键在于为其开发SKILL——这些技能是openclaw的“内功心法”,决定了它能帮你做什么、做多好。 本文将带你亲自动手,从零开始开发你的第一个openclaw自定义技能,
- 日榜
- 周榜
- 月榜
相关攻略
2015-03-10 11:25
2015-03-10 11:05
2021-08-04 13:30
2015-03-10 11:22
2015-03-10 12:39
2022-05-16 18:57
2025-05-23 13:43
2025-05-23 14:01
热门教程
- 游戏攻略
- 安卓教程
- 苹果教程
- 电脑教程

