保时捷专利新设计解析:用气幕替代传统敞篷风挡
12月30日,IT之家发布消息称,开发一款敞篷跑车从来就不是件容易的事。拆掉车顶会带来一系列难题,既要面对车身刚性这样的核心挑战,也得顾及敞篷状态下维持座舱静谧性这类细节问题。数十年来,后一种解决方案一直沿袭着相同思路:在前排乘客后方安装某种挡风装置。尽管部分车型配备了精致的电动伸缩挡风板,但这类装置大多是外形笨拙、操作繁琐的塑料件,使用时需要手动卡入固定位置。不过,一项新专利的落地或许能让保时捷911和Boxster敞篷车彻底告别这类传统挡风设备。

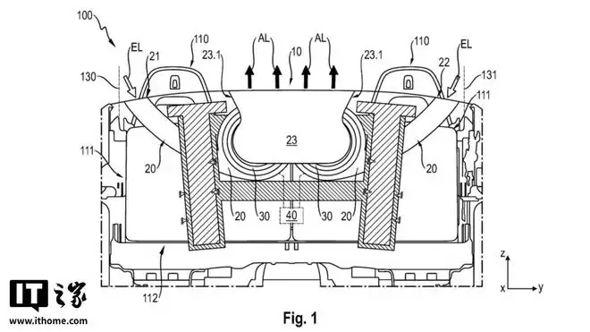
这项保时捷专利已由世界知识产权组织公布,并于去年由德国专利商标局正式发布。该专利巧妙地利用气流自身的力量来隔绝外部气流侵入座舱,本质上是打造了一道“空气屏障”。其工作原理出人意料地简单,下方的示意图也清晰地呈现了这一点:在乘客舱后方设有一组风道,外侧风道大致从车身两侧吸入空气。专利图示显示,气流取自车顶顶部和侧面的进气口,但实际上气流也可以从车身侧翼的进气口引入。

随后,气流会通过风道进入中央区域,这里安装有一台或两台驱动径向风扇的电机。这类风扇的原理与汽车空调系统的鼓风机类似,甚至和笔记本电脑里的微型风扇原理相通。风扇的主要作用是调节进气量的大小,从而确保车辆在任何行驶速度下,都能提供理想的气流量。风扇将气流通过位于车辆中央的出风口吹出,而这个位置恰好是传统实体挡风板的安装处。

除了调节气流流量,保时捷在专利中还提到,出风口配备了可调节导流叶片。通过调整叶片角度,气流的形态和走向能够适配不同的车速,达到最佳的扰流效果。这套系统的最终效果,是借助吹出的气流形成一道屏障,阻挡车外紊乱气流涌入座舱,同时摒弃了传统实体挡风板那种操作麻烦、外观突兀的设计。
据IT之家了解,通过合理引导气流可以实现许多超乎想象的效果。以迈凯伦Elva为例,这款车型上市时并未配备玻璃挡风板,为了让乘客免受强风直吹,迈凯伦专门设计了一组风道,将车身下方的进气气流向上引导,使气流从乘客头顶掠过,以此实现挡风效果。既然迈凯伦能想出如此巧妙的驭风方案,保时捷自然也有能力做到。

这套系统的结构看起来也相对简单,并不比汽车的空调系统更复杂,核心部件无非就是风道、风扇和出风口。因此,保时捷有望在不久的将来完成该技术的研发,并将其搭载于量产车型。该系统唯一可能存在的短板在于空间占用和重量控制,风道和风扇需要占据一定的安装空间,这可能会进一步压缩本就紧张的行李厢容积。此外,尽管这套系统的零部件已经尽可能轻量化,但重量肯定无法与轻薄的传统塑料网状挡风板相媲美。这或许意味着,保时捷敞篷车的Spyder或T轻量化版本,可能不会搭载这项配置。
游乐网为非赢利性网站,所展示的游戏/软件/文章内容均来自于互联网或第三方用户上传分享,版权归原作者所有,本站不承担相应法律责任。如您发现有涉嫌抄袭侵权的内容,请联系youleyoucom@outlook.com。
同类文章
中大团队攻克火箭垂直起降技术 实现国内首次低空飞行验证
中山大学团队研制的“逸仙-3号”面对称可回收液体火箭成功完成低空飞行试验,实现了悬停、机动与垂直降落。该火箭采用独特面对称构型,提升了飞行稳定性,验证了垂直起降关键技术。试验由高校主导,学生深度参与,并在粤港澳大湾区实现了产学研全链条闭环,为后续更高难度试验奠定基础。
FF发布一季度财报:机器人新品6月上市,年内目标出货1500台
法拉第未来2026年第一季度营收同比增长62%,经营亏损收窄。公司定位升级为物理AI生态系统公司,机器人业务实现生态收入与正毛利,成为新增长引擎。全年机器人出货目标上调至1500台,计划6月初发布新品,并将于近期公布五大核心变革举措。
苹果iPhone 18全系将采用自研基带芯片 告别高通时代
苹果iPhone18系列将全系搭载自研第二代4nm5G基带芯片C2,完整支持Sub-6GHz与毫米波,信号表现显著提升,尤其优化弱信号场景。Pro机型新增卫星图片传输和无信号导航功能,系统还将提供“限制精确位置”选项以加强隐私保护。此举实现了苹果对通信核心模块的全面自主掌控。
苹果深夜突然降价最新优惠信息汇总
5月15日,苹果官方渠道启动降价,iPhone17Pro系列全系直降1000元。叠加补贴后,Pro系列起售价首次进入6000元区间,标准版也迎来首次官方降价。市场数据显示,新系列各机型销量均实现两位数增长,超越前代产品,并成为拉动中国智能手机市场整体增长的关键力量。
东华测试产品服务航空航天地面试验未来将进入太空应用
东华测试在核能与航空航天领域取得关键进展。核能方面,公司产品已通过核电站高温测试,并为钍基熔盐堆研发了耐650℃高温的传感器样机。航空航天领域,其设备已用于新一代载人飞船地面试验及火箭监测,单套系统价值约200万元,并可带来持续服务收入。未来测试设备有望随航天器进入太空。
- 日榜
- 周榜
- 月榜
1
2
3
4
5
6
7
8
9
10
相关攻略
2015-03-10 11:25
2015-03-10 11:05
2021-08-04 13:30
2015-03-10 11:22
2015-03-10 12:39
2022-05-16 18:57
2025-05-23 13:43
2025-05-23 14:01
热门教程
- 游戏攻略
- 安卓教程
- 苹果教程
- 电脑教程
热门话题

