索尼新专利:用AI化身“幽灵玩家”实时指导游戏攻略
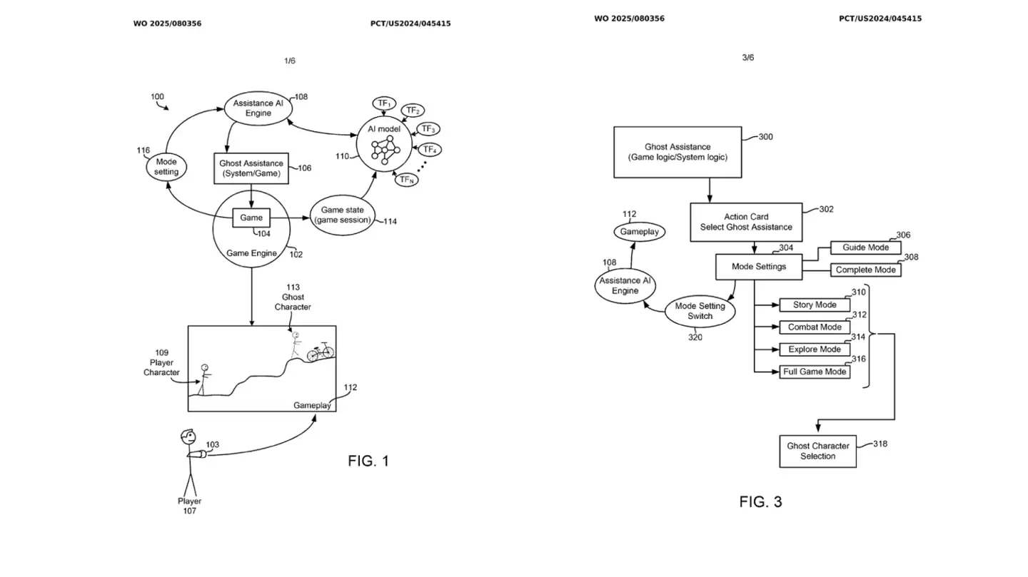
1月2日消息,科技媒体TweakTown日前报道,索尼近日提交了一项新专利,提出一种能实时感知游戏情境的辅助方案。这套系统可通过游戏录像训练AI模型,为卡关玩家提供个性化引导。
免费影视、动漫、音乐、游戏、小说资源长期稳定更新! 👉 点此立即查看 👈

专利文件指出,尽管电子游戏技术持续发展,仍有许多非核心玩家因难度过高而放弃游戏。虽然查阅攻略、观看教程视频也能获得指引,但这类方法往往耗时费力,且通常与玩家所处的具体场景并不完全匹配。

文件中描述道,这套系统将提供一个“幽灵玩家”来辅助真实玩家通关游戏。幽灵玩家的行为源于AI模型学习到的游戏操作数据,而这些模型是基于游戏录像、特定模式游玩训练而来。

在此援引TweakTown表述,AI模型会通过大量游戏视频来识别不同的游戏场景,并学习游戏中推进进度所需的操作。当玩家遇到卡关状况时,系统会尝试分析当前的游戏进度、状态数据,识别玩家究竟为什么卡关。
随后这套系统会使用AI模型生成关卡解法,进而为“幽灵玩家”生成相应的控制与动画指令,指导玩家如何突破关卡。且这种指导操作并非基于其他玩家的通关视频,而是会根据玩家当下的游戏状态量体裁衣,一对一定制解决方案。
在游玩过程中,幽灵角色还可以给出直观的视觉示范,向玩家展示如何破局,帮助玩家操控的角色顺利通关游戏。
游乐网为非赢利性网站,所展示的游戏/软件/文章内容均来自于互联网或第三方用户上传分享,版权归原作者所有,本站不承担相应法律责任。如您发现有涉嫌抄袭侵权的内容,请联系youleyoucom@outlook.com。
同类文章
硅谷巨头竞相投资!奶企AI项圈估值超20亿美元
新智元报道编辑:倾倾【新智元导读】这家新西兰的公司给奶牛戴上AI项圈,估值一年飙升20亿美元!Founders Fund领投,投资人抢到超额认购。它的秘密武器叫「Cowgorithm」——一套让牛自
马斯克AI创业搭子“全跑了”:真相与项目复盘
智东西3月29日报道,今天,xAI联合创始人罗斯·诺丁在社交平台X上悄然移除了自己的xAI员工认证,离开了这家以马斯克为首的AI独角兽。至此,xAI最初的12名联合创始人中,仅剩马斯克一人。诺丁的x
行业首发:OpenClaw全网刷屏,ClawManager一键收编AI龙虾大军
新智元报道编辑:KingHZ【新智元导读】研究员三个月科研对话记录一夜清零,企业敏感数据公网裸奔……全行业首个企业级OpenClaw服务器部署管理方案ClawManager问世,让OpenClaw真
甲子光年:科技如何重塑空间设计行业新价值
当“好看”成为基础门槛,头部设计公司开始把自己改造成一种新的组织:它既做创意,也做设计开源;既做项目,也做科技能力构建。矩阵纵横(Matrix Design)上海新总部的落成,正是这一产业价值锚点变
马斯克AI创业项目xAI:完整解析与未来展望
智东西作者 陈骏达编辑 李水青智东西3月29日报道,今天,xAI联合创始人罗斯·诺丁(Ross Nordeen)在社交平台X上悄然移除了自己的xAI员工认证,离开了这家以马斯克为首的AI独角兽。至此
- 日榜
- 周榜
- 月榜
相关攻略
2015-03-10 11:25
2015-03-10 11:05
2021-08-04 13:30
2015-03-10 11:22
2015-03-10 12:39
2022-05-16 18:57
2025-05-23 13:43
2025-05-23 14:01
热门教程
- 游戏攻略
- 安卓教程
- 苹果教程
- 电脑教程

