索尼新专利:AI辅助玩家闯过难关,解锁游戏新体验
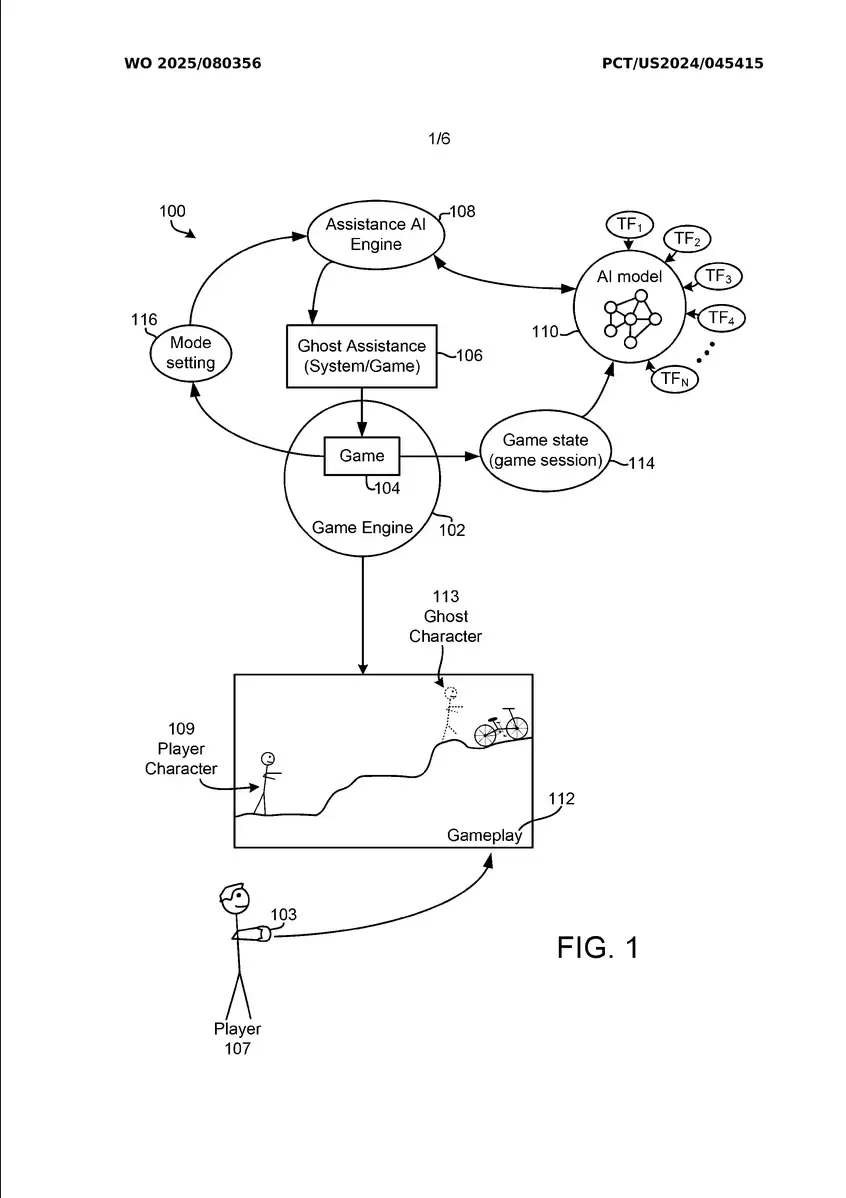
1月7日消息,科技媒体 Wccftech 昨日(1月6日)爆料称,根据世界知识产权组织(WIPO)本周公布的专利申请清单显示,索尼已成功获批一项名为《AI生成幽灵玩家》的专利技术。该技术能够在《战神》《神秘海域》等热门游戏中,实时为玩家展示如何突破各类卡关难题。
免费影视、动漫、音乐、游戏、小说资源长期稳定更新! 👉 点此立即查看 👈

与传统静态攻略视频不同,这套系统能根据玩家当前的装备状态、生命值、所处位置等实时数据,动态生成个性化的闯关方案。专利文件详细揭示了系统的运行机制:在游戏过程中,AI引擎将持续分析游戏状态数据(Game State Data)。
当系统检测到玩家陷入困境时,会在当前画面上叠加一个半透明的“幽灵角色”。值得注意的是,这个幽灵并非播放预设录像,而是基于当前场景实时演算生成的。它能精准演示玩家在当前条件下应如何操作才能顺利通关,确保演示内容与玩家实际面临的处境完全吻合。
系统设计了两套截然不同的交互模式。其一是“引导模式”(Guide Mode),主要针对解谜环节,幽灵角色会演示正确的路径选择或机关触发顺序。
第二种则是更为激进的“完成模式”(Complete Mode)。在此模式下,AI不仅提供操作演示,甚至能直接接管游戏控制权,自动操纵角色通过高难度战斗或复杂路段,让玩家直接跳过卡关环节,继续体验后续剧情内容。

游乐网为非赢利性网站,所展示的游戏/软件/文章内容均来自于互联网或第三方用户上传分享,版权归原作者所有,本站不承担相应法律责任。如您发现有涉嫌抄袭侵权的内容,请联系youleyoucom@outlook.com。
同类文章
三国杀拾光绘卷第1张图如何拼-三国杀拾光绘卷第1张图怎么进行拼接
三国杀拾光绘卷第1张拼图通关指南:新手进阶全解析 初次接触三国杀拾光绘卷的第一幅拼图,许多玩家在满怀期待的同时,可能会产生些许不知如何着手的困惑。这实为常态,将众多凌乱碎片重归完整本就需要方法与耐心。请不必担忧,本攻略旨在为您提供一套清晰、高效的拼图逻辑,将复杂的挑战转化为循序渐进的乐趣。以下内容如
阴阳师与贪吃蛇大作战联动怎么介绍-阴阳师贪吃蛇大作战联动介绍内容
联动角色与限定皮肤 《阴阳师》与《贪吃蛇大作战》的跨界联动带来了众多惊喜。经典式神酒吞童子、茨木童子等悉数化身贪吃蛇形态亮相,形象设计在保留角色神韵的同时,融入俏皮动感的风格,深受玩家喜爱。本次联动还推出了多款限定皮肤,每款都经过精心设计,独具特色。玩家通过参与限时活动,即可有机会获取这些稀有皮肤,
《阴阳师》茉莉奶白联动活动将于2月26日上线!
《阴阳师》× 茉莉奶白联动定档2月26日:五位人气式神春日献礼,千店同启线下盛宴 当游戏情结照进现实生活,一场备受瞩目的跨界合作正式揭晓。《阴阳师》手游官方近日宣布,将于2月26日联合新式茶饮头部品牌茉莉奶白,共同推出以“春日一期一会”为主题的深度联动活动。此次合作的最大亮点在于,【为崽而战·太鼓之
《鸣潮》3.1版本限时福利「未署名的祝福」即将上线!免费领取1600星声!
《鸣潮》3 1版本“赠予雪中的你”重磅更新,限时登录福利“未署名的祝福”同步开启 《鸣潮》3 1版本“赠予雪中的你”现已正式上线。与全新版本一同而来的,还有一份献给所有漂泊者的限时厚礼——福利活动“未署名的祝福”。玩家仅需登录游戏,即可直接领取包含1600星声、限定头像在内的多重奖励,无需完成任何复
明日方舟终末地洁尔佩塔培养方法-明日方舟终末地洁尔佩塔如何培养
角色定位深度解析 洁尔佩塔,是游戏中顶尖的突进型刺客与战场收割者。其核心定位在于利用高机动性与瞬间爆发,精准切入敌方后排,快速瓦解敌方核心输出与治疗单位。一个娴熟的操作者能凭借她扭转战局,是团队中不可或缺的战术尖兵。 技能升级优先级策略 最大化洁尔佩塔战力的关键在于科学分配技能升级资源。应优先将核心
- 日榜
- 周榜
- 月榜
相关攻略
2015-03-10 11:25
2015-03-10 11:05
2021-08-04 13:30
2015-03-10 11:22
2015-03-10 12:39
2022-05-16 18:57
2025-05-23 13:43
2025-05-23 14:01
热门教程
- 游戏攻略
- 安卓教程
- 苹果教程
- 电脑教程

