苹果新专利:AirPods手势切歌,听歌告别慢半拍
1月9日消息,科技媒体AppleInsider昨日(1月8日)发布博文透露,根据美国商标和专利局(USPTO)公布的清单,苹果公司获批了一项名为“基于天线阻抗测量的手势检测”的全新专利,有望重新塑造AirPods的交互体验。
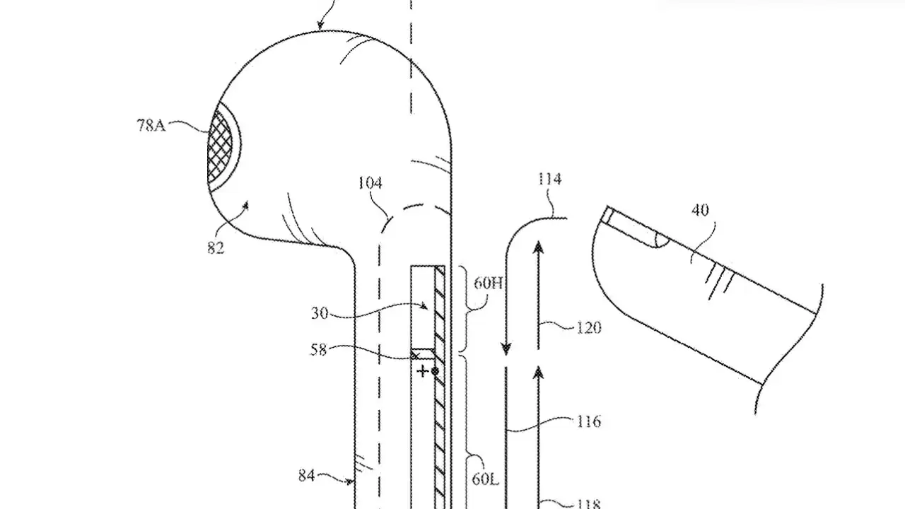
该文件显示,苹果正探索一种创新的AirPods交互方案:通过移除专用电容式触摸传感器电路,直接利用射频(RF)天线识别用户手势。

苹果研发团队在专利文件中指出,现有AirPods Pro虽配备了触控表面,但这套独立的电容式传感器系统存在明显缺陷:
首先,传感器电极挤占了宝贵的内部空间,导致设备体积和重量难以进一步缩减,限制了集成其他新组件的可能性。
其次,用户在敲击耳机切换歌曲后常能感觉到明显的延迟感,这种“过长的检测时间”严重影响了操作流畅度。
为解决上述问题,苹果提出的解决方案可谓“一鱼两吃”:让负责接收和传输音频信号的无电线天线兼职担任“手势雷达”。
援引博文介绍,由于音频数据的传输频率远高于电容传感器的刷新率,利用天线进行检测可以显著降低延迟。苹果在专利中强调,基于天线阻抗(Impedance)的变化来检测手势,在响应速度上将优于传统的电容式传感器。

该技术的核心在于监测天线阻抗的细微变化。用户的手指(作为外部物体)靠近或接触耳机柄后,会改变天线阻抗。通过部署双天线系统,算法还能精准测量阻抗变化的速率和顺序。这意味着,系统不仅能识别“点击”,还能准确判断用户是在“向上滑”还是“向下滑”,从而精确执行音量调节等复杂指令。
游乐网为非赢利性网站,所展示的游戏/软件/文章内容均来自于互联网或第三方用户上传分享,版权归原作者所有,本站不承担相应法律责任。如您发现有涉嫌抄袭侵权的内容,请联系youleyoucom@outlook.com。
同类文章
DeepSeek宣布永久降价 梁文锋大幅让利远超市场预期
DeepSeek宣布其Pro模型API优惠将转为永久降价,调用成本大幅降低至原价的四分之一。同时,公司正进行高达500亿元的首轮融资,创始人梁文锋个人计划出资200亿元以强化控制权。降价与巨额融资相结合,旨在降低行业门槛、构建生态,并支撑其长期开源与AGI战略,展现了公司的长期主义视野。
国产600公斤推力涡扇发动机首飞成功 中国心实现自研突破
5月23日,搭载国产F406涡扇发动机的气象无人机首飞成功。该发动机推力600公斤级,由我国自主研制,拥有完整知识产权,实现了中小推力高端涡扇发动机的自主可控。其具备高空高速稳定运行能力,填补了国内相关技术空白,将为无人机及低空经济发展提供可靠动力支撑。
小米米家空调巨省电Pro大1.5匹价格降至1868元
2026年3月6日,备受期待的小米米家巨省电 Pro 空调 2026 款正式上市销售。作为新品,其大1 5匹型号的官方首发定价为2499元,性价比优势显著。 恰逢京东618年中购物节,这款新上市的空调迎来了绝佳的入手时机。消费者通过叠加平台提供的促销优惠与政府发放的节能补贴,最终到手价格可以做到更具
国产600公斤推力涡扇发动机成功完成首次飞行
5月23日,我国自主研制的600公斤推力级F406涡扇发动机成功完成首次飞行试验。发动机驱动气象无人机平稳飞行并安全返航,各项参数稳定。此次试飞标志着我国在中小推力高端涡扇发动机领域实现了自主可控与国产化突破,该发动机将为低空经济和无人体系提供关键动力支撑。
国产600公斤推力涡扇发动机首飞成功核心技术自主研制
5月23日,我国自主研制的600公斤推力级F406涡扇发动机成功完成首次飞行试验。该发动机以双发配置驱动一架先进气象无人机,全程工作平稳,安全返航。此次试飞标志着我国在中小推力高端涡扇发动机领域实现自主可控与国产化,将为低空经济与无人体系发展提供可靠动力。
- 日榜
- 周榜
- 月榜
1
2
3
4
5
6
7
8
9
10
相关攻略
2015-03-10 11:25
2015-03-10 11:05
2021-08-04 13:30
2015-03-10 11:22
2015-03-10 12:39
2022-05-16 18:57
2025-05-23 13:43
2025-05-23 14:01
热门教程
- 游戏攻略
- 安卓教程
- 苹果教程
- 电脑教程
热门话题

