专利显示:谷歌Pixel 11 Pro Fold折叠屏电池更换更便捷
1月15日,IT之家消息,折叠屏手机向来不以“好修”著称,谷歌自家的Pixel Fold系列也不例外。以Pixel 10 Pro Fold为例,其电池直接采用胶水固定,虽然提供了易拉条,但对非专业人士来说,很可能因操作不当而“大力出奇迹”,导致手机损坏。
不过,据消息源透露,谷歌目前已悄然申请了一项折叠屏手机专利。专利显示,谷歌Pixel 11 Pro Fold有望调整电池结构设计,使其更便于更换。
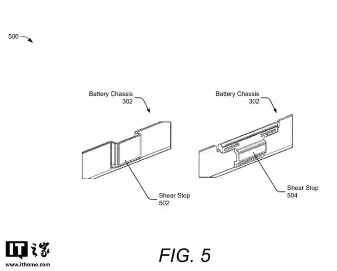
专利文件显示,Pixel 11 Pro Fold的电池有望不再通过胶水粘合,而是采用机械结构进行固定。具体来说,电池将被滑入一个定制形状的仓室中,通过金属结构和固定部件进行锁定,从而实现稳固安装。


专利中还提到,承载电池的机身结构采用金属材质,有助于电池接地,并通过限位结构防止电池在机身内部发生位移或扭转。同时,该设计仍为无线充电预留了空间,这意味着即便更换为可拆卸电池结构,也不会牺牲无线充电功能。
当然,需要注意的是,目前相应设计仅停留在专利阶段,并不意味着谷歌一定会将该设计应用到最终量产的Pixel 11 Pro Fold上。专利可能是技术储备,也可能在测试后被放弃。
游乐网为非赢利性网站,所展示的游戏/软件/文章内容均来自于互联网或第三方用户上传分享,版权归原作者所有,本站不承担相应法律责任。如您发现有涉嫌抄袭侵权的内容,请联系youleyoucom@outlook.com。
同类文章
七猫小说清理广告缓存的有效方法与步骤详解
在使用七猫免费小说时,广告缓存过多可能会影响阅读体验并占用手机空间。那么,该如何清理这些广告缓存呢?首先,打开七猫免费小说应用程序。进入主界面后,通常可以在界面下方找到“我的”选项
蝙蝠App推荐好友指南:三步轻松邀请好友加入
蝙蝠作为一种独特的生物,在社交方面也有着自己的方式来推荐好友。首先,蝙蝠有着敏锐的听觉和独特的回声定位系统。它们通过发出高频声波并接收反射回来的回声,来感知周围环境和其他蝙蝠的存在
DiskGenius教程:3步批量格式化USB磁碟的实用方法
diskgenius是一款功能强大的数据恢复和磁盘管理工具,它能够方便地批量格式化usb磁盘。下面就为大家详细介绍其操作方法。首先,将需要格式化的多个usb磁盘连接到电脑。打开di
腾讯元宝详解:龙头概念股整理与投资分析
在科技日新月异的今天,腾讯作为互联网行业的巨头,其一举一动都牵动着市场的神经。近期,“腾讯元宝”概念的兴起,更是引发了对相关龙头股的广泛关注。本文将深入剖析几只在腾讯元宝概念中表现
转转平台昵称查找用户技巧:3步精准搜索与联系
在转转平台上,想要通过昵称搜索用户其实是非常简单便捷的。下面就为大家详细介绍具体的操作方法。首先,打开转转应用程序。进入到主界面后,你会看到各种功能模块分布在界面中。然后,在转转的
- 日榜
- 周榜
- 月榜
相关攻略
2015-03-10 11:25
2015-03-10 11:05
2021-08-04 13:30
2015-03-10 11:22
2015-03-10 12:39
2022-05-16 18:57
2025-05-23 13:43
2025-05-23 14:01
热门教程
- 游戏攻略
- 安卓教程
- 苹果教程
- 电脑教程

