AMD堆叠L2缓存:X3D终极形态与性能跃迁解析
1月16日消息,凭借堆叠式L3缓存的3D V-Cache技术横扫游戏CPU市场后,AMD并未停下脚步。
免费影视、动漫、音乐、游戏、小说资源长期稳定更新! 👉 点此立即查看 👈
近日,AMD公布了一份名为《均衡延迟堆叠缓存》的研究论文,披露了其在缓存架构上的下一步布局:堆叠L2缓存。

目前,3D V-Cache主要通过为核心附加额外的L3缓存来提升性能,而这份新专利显示,AMD正探索将堆叠技术引入更靠近CPU核心、响应更快的L2缓存。

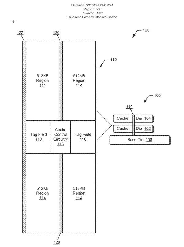
示例图显示,AMD构想了一种多层堆叠结构:基础层连接计算核心与缓存模块,上方可继续叠加多层缓存芯片。例如,可由四组512KB区域组成2MB的L2模块,甚至能进一步扩展至4MB。

其堆叠方式运用了与3D V-Cache相同的原理,通过硅通孔将L2/L3堆叠连接到基础芯片和计算复合体,并配置在堆叠缓存系统的中心垂直方向,由CCC控制器管理数据的输入和输出。

论文中,AMD以平面配置的1MB和2MB L2缓存为例进行说明:平面1MB L2缓存的典型延迟为14个周期,而堆叠式1MB L2缓存的延迟则仅为12个周期。
这表明堆叠L2缓存不仅能提供更高容量,还可实现与典型平面方案相当甚至更优的周期延迟。此外,AMD还指出这种架构具备显著的能效优势。
游乐网为非赢利性网站,所展示的游戏/软件/文章内容均来自于互联网或第三方用户上传分享,版权归原作者所有,本站不承担相应法律责任。如您发现有涉嫌抄袭侵权的内容,请联系youleyoucom@outlook.com。
同类文章
实测关闭bobo浏览器热点资讯与屏蔽弹窗教程
bobo浏览器热点资讯弹窗可通过四步关闭:一、设置中关闭“个性化推荐”等开关;二、悬停右下角弹窗点齿轮图标选“所有站点默认关闭”;三、卸载“bobo资讯”扩展组件;四、关闭广告跟踪
浏览器字体模糊怎么办?3步开启ClearType优化显示
网页文字模糊需启用ClearType:一、通过“调整ClearType文本”向导启用并校准;二、设显示器缩放为100% 125% 150%等标准值并开启高级修复;三、禁用浏览器硬件
UC浏览器下载安全扫描关闭与设置指南
关闭UC浏览器下载安全扫描功能可解决下载延迟、警告及中断问题,具体操作包括:一、关闭下载前自动扫描;二、停用下载后自动扫描;三、禁用隐私与安全总开关;四、使用无痕浏览模式;五、重置
IE浏览器打印网页异常?5步修复打印故障
Internet Explorer打印异常可通过五种方法修复:一、重置打印设置;二、禁用加载项并清空临时文件;三、启用兼容性视图并关闭硬件加速;四、重建打印相关COM组件;五、使用
百度浏览器清理指定网站数据与站点管理指南
可精准清除指定 数据:一、通过“管理 数据”逐个删除;二、在“清除浏览数据”中按站点筛选;三、地址栏锁形图标快速清理当前站;四、开发者工具手动清 localStorage Inde
- 日榜
- 周榜
- 月榜
相关攻略
2015-03-10 11:25
2015-03-10 11:05
2021-08-04 13:30
2015-03-10 11:22
2015-03-10 12:39
2022-05-16 18:57
2025-05-23 13:43
2025-05-23 14:01
热门教程
- 游戏攻略
- 安卓教程
- 苹果教程
- 电脑教程

