iPhone专利畅想:未来手机可对手呼气筛查疾病
IT之家 4 月 1 日消息,科技媒体 Appleinsider 昨日(3 月 31 日)发布博文,聚焦苹果公司最新获批的专利,名为“带呼气传感系统的电子设备”,暗示未来 iPhone 有望直接内置呼气检测仪。
免费影视、动漫、音乐、游戏、小说资源长期稳定更新! 👉 点此立即查看 👈
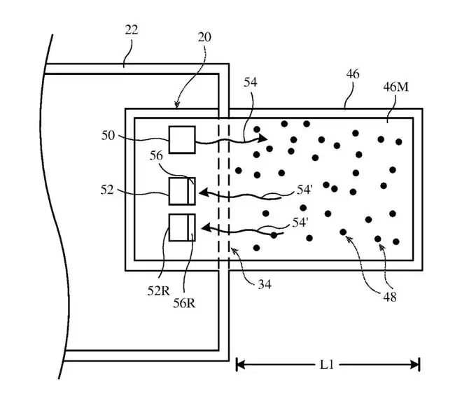
根据专利场景描述,未来 iPhone 外壳会开辟专属传感器窗口,未来用户只需拿起靠近并正常呼吸,手机端就能敏锐捕捉健康异常。
在技术实现方面,IT之家援引博文介绍,该专利系统主要依赖红外光源运转。用户呼出气体经过传感器后,红外光束会穿透气体,专门捕捉含有特定目标气体分子的呼气样本。
这些分子可以充当关键生物标志物,iPhone 随后对比采集数据和医学数据库,一旦发现指标异常,手机会推送就医建议,可以检测高胆固醇和糖尿病等潜在疾病。

苹果公司为了提升采集准确度,在专利中提及调用多重传感器协同工作,例如利用可见光相机和红外深度相机,精确测算面部与传感器的物理距离,若距离过远,iPhone 主动提醒用户靠近。
此外为了确保红外光束始终精准对准用户的口腔,苹果在专利中还构想了光束转向器,能根据人脸位置自动微调。
在适用设备方面,该专利虽然主要用于 iPhone,但文档明确提及适用 Apple Watch 和智能汽车。
游乐网为非赢利性网站,所展示的游戏/软件/文章内容均来自于互联网或第三方用户上传分享,版权归原作者所有,本站不承担相应法律责任。如您发现有涉嫌抄袭侵权的内容,请联系youleyoucom@outlook.com。
同类文章
荣耀MagicOS四月升级:自定义锁屏小组件与指纹样式,新增 Mac 跨设备文件管理功能
荣耀MagicOS四月体验升级:流畅革新,从系统细节到全场景生态的全面进化 日前,荣耀产品经理通过官方渠道正式发布了四月份MagicOS体验升级的详细内容。此次更新并非简单的功能修补,而是从个性化、智慧交互、跨设备协同到生态服务进行全方位优化,为用户带来由内而外的流畅新体验。 核心升级亮点全解析 那
外卖员给AI打工?从送餐到「喂」数据,800万骑手成AI训练师
外卖员成为AI训练数据采集的关键力量?幕后真相揭秘 近期一则行业动态,引发了广泛关注。美国外卖巨头DoorDash悄然上线了一款名为“Tasks”的应用程序。简而言之,该平台的外卖员在完成送餐后,可通过额外拍摄街景视频、记录送餐过程或上传店铺照片等任务,获取附加报酬。DoorDash官方解释称,此举
杜比第四度入选《Fast Company》“全球最具创新力公司”年度榜单
杜比实验室荣获《Fast Company》“2026全球最具创新力公司”认可 在全球消费电子市场,定义未来的往往是那些敢于引领趋势的革新者。今日,杜比实验室郑重宣布,其凭借突破性的技术创新,成功入选《Fast Company》杂志2026年度“全球最具创新力公司”权威榜单。该榜单素来以甄选各行业中通
全渠道第一,高端称王!追觅扫地机AWE实力霸榜
作为全球高端扫地机器人市场领导者,追觅扫地机凭借卓越产品力与创新技术,在AWE2026期间斩获全渠道销量与销售额双冠,市场占有率突破49%,领军地位显著。 近日,上海举办的中国家电及消费电子博览会(AWE 2026)圆满落幕,这场盛会被视为年度智能家居行业发展的风向标。在全球知名品牌同台竞技的舞台上
嵌入式厨电的新变量:小米搅局后,微蒸烤一体机走向“高低分化”
米家智能微蒸烤一体机 Pro 嵌入式 52L 全新上市:AI智能烹饪结合 TFT 大彩屏,售价4699元 最近,小米有品平台正式推出了新款厨电——米家智能微蒸烤一体机 Pro 嵌入式 52L,定价4699元。这款产品主打 AI 精准算法,能够智能控制烹饪过程,有效降低操作失误率,同时配备高清TFT大
- 日榜
- 周榜
- 月榜
相关攻略
2015-03-10 11:25
2015-03-10 11:05
2021-08-04 13:30
2015-03-10 11:22
2015-03-10 12:39
2022-05-16 18:57
2025-05-23 13:43
2025-05-23 14:01
热门教程
- 游戏攻略
- 安卓教程
- 苹果教程
- 电脑教程

