折叠屏iPhone将至:苹果如何攻克折痕难题?
三星、谷歌等品牌的折叠屏手机上市已有数年,科技界始终在关注苹果何时会加入这一市场。根据一篇综合报道,尽管苹果最新仍未发布任何声明,但多项分析师预测和专利信息表明,折叠屏iPhone的推出可能已不再遥远。
免费影视、动漫、音乐、游戏、小说资源长期稳定更新! 👉 点此立即查看 👈
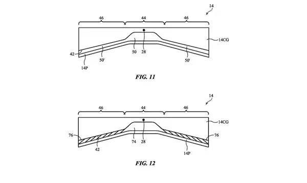
报道指出,一项关键的证据是苹果在2024年7月16日获得的一项专利。这项名为“电子设备与耐用折叠显示屏”的专利最初于2024年11月提交。
专利文件描述了一种保护屏幕的铰链设计:当设备跌落时,显示屏幕会“围绕弯曲轴轻微折叠”,让设备边缘先着地,从而保护脆弱的内屏。这证实了苹果在折叠屏技术上的长期研发。

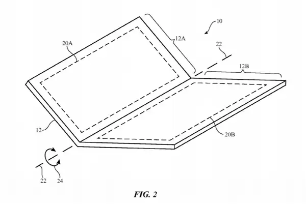
关于产品形态,目前传闻主要指向两种设计:
书本式折叠:根据知名分析师郭明錤的预测,这类设备可能配备一块7.8英寸的无折痕内屏和一块5.5英寸的外屏。折叠时厚度约为9-9.5毫米,展开后为4.5-4.8毫米。设备可能配备前置摄像头和双后置摄像头。

翻盖式折叠:另有信息称,苹果可能优先开发类似三星GalaxyZ Flip的翻盖式设备,旨在打造比现有iPhone薄一半的机型。郭明錤预测,为了追求轻薄,折叠屏iPhone可能会舍弃Face ID,转而采用集成在侧边按钮的Touch ID进行生物识别。
在价格方面,郭明錤估计折叠屏iPhone的售价将在2000至2500美元之间,与市面上其他高端折叠屏设备持平。他预测其出货量可达300万至500万台。
至于发布时间,各方预测存在分歧:郭明錤曾预测苹果最早可能在2026年底发布一款无折痕的折叠屏设备。然而市场分析机构TrendForce的估计则更为保守,他们认为由于苹果对可靠性和消除屏幕折痕有着严格要求,其折叠屏产品的发布可能会推迟到2027年。
报道回顾,关于折叠屏iPhone的传闻已流传多年,预测的发布日期从2024年一路推迟,因此最终的发布时间仍存在不确定性。

除了手机,报道还提及苹果可能正在开发一款折叠屏iPad。该设备据称将配备约8英寸的显示屏(接近iPad Mini的大小)。由于不需要像手机那样放入口袋,其对耐用性和厚度的要求可能相对宽松一些。
总而言之,虽然万众期待的折叠屏iPhone尚未得到苹果最终确认,但持续的专利活动和分析师报告都强烈预示着苹果正在积极筹备其折叠屏产品线,消费者或许在不久的将来就能看到结果。
编辑点评:
折叠屏iPhone的传闻始终停留在分析师观点中,折射出苹果对技术极致的苛求。若其真能实现无折痕突破,或将重新定义折叠体验。但一切悬念,仍待苹果自己揭晓。

游乐网为非赢利性网站,所展示的游戏/软件/文章内容均来自于互联网或第三方用户上传分享,版权归原作者所有,本站不承担相应法律责任。如您发现有涉嫌抄袭侵权的内容,请联系youleyoucom@outlook.com。
同类文章
苹果马年首款iPhone!iPhone 17e内存彻底实锤了
iPhone 17e确认配备8GB内存:AI体验的入场券与硬件全面升级 最新消息来了。根据开发者从苹果官方工具Xcode中获取的数据,即将登场的iPhone 17e已经确认会搭载8GB内存。这个配置,可以说完全在行业的预料之中。 放眼整个iPhone 17系列,目前只有标准版iPhone 17和这款
马年首更!苹果iOS 26全新正式版发布 国行用户要失望了
iOS 26 3 1正式版发布:常规修复为主,国行AI功能仍无时间表 3月5日,苹果向用户推送了iOS 26 3 1正式版更新,版本号定格在23D8133。这也意味着,这是农历马年开年以来,苹果交付的第一个正式版系统更新。 如果去看官方更新日志,你会发现,这依然是一次以“修修补补”为主的小规模升级,
苹果本周停产七款产品:含iPhone 16e、M3 iPad Air等
苹果本周停产七款产品:含iPhone 16e、M3 iPad Air等 每当苹果发布新品,总伴随着一次产品线的例行梳理与更新。本周也不例外,随着多款新产品的亮相,苹果官方也正式宣告了七款现有产品的停产,覆盖了iPhone、iPad、Mac乃至显示器等多个核心品类。 具体来看,这份停产的名单及其对应的
iPhone 17e和iPad Air登场后 苹果本周还有望推出这些新品
库克预告的“精彩一周”拉开帷幕:iPhone 17e与新版iPad Air打头阵 苹果CEO蒂姆·库克上周在社交媒体上的预告,果然不是虚晃一枪。随着新一周的到来,他口中那“精彩的一周”正式开启,首批登场的便是iPhone 17e和全新一代的iPad Air。 先来看看这款iPhone 17e。说实话
苹果2026年首款iPhone发布 国补到手3999元起
苹果发布2026年首款新机:iPhone 17e加量不加价,首发即享国补 进入2026年,手机行业成本压力有目共睹。就在这个关口,苹果率先出手,正式推出了今年的第一款新iPhone——iPhone 17e。有意思的是,新机不仅维持了前代的定价体系,提供4499元的256GB版和6499元的512GB
- 日榜
- 周榜
- 月榜
相关攻略
2015-03-10 11:25
2015-03-10 11:05
2021-08-04 13:30
2015-03-10 11:22
2015-03-10 12:39
2022-05-16 18:57
2025-05-23 13:43
2025-05-23 14:01
热门教程
- 游戏攻略
- 安卓教程
- 苹果教程
- 电脑教程

