迅策科技上半年营收超2亿,腾讯与云锋为股东,通过上市聆讯

免费影视、动漫、音乐、游戏、小说资源长期稳定更新! 👉 点此立即查看 👈
雷递网 雷建平 12月18日
深圳迅策科技股份有限公司(简称:“迅策科技”)今日通过上市聆讯,准备在港交所上市。
迅策科技2024年12月完成交叉轮融资2.2亿元,投前估值60亿元。
迅策科技要做AI数据赛道第一股,对比美国的Palantir等企业。
上半年营收2亿
迅策科技成立于2016年,是一家实时数据基础设施及分析供应商,产品组合的核心是数据基础设施,一个云原生的统一数据平台,可收集、清理、管理、分析及治理来自多个来源的异构数据,部署在客户的自我管理云或本地系统中,建立在该基础上的是我们的数据分析应用层面,利用底层基础设施来产生洞察、作出预测或为业务决策提供资料。

迅策科技为全行业企业提供涵盖数据基础设施及数据分析的实时解决方案,战略重点是资产管理公司。
招股书显示,迅策科技2024年、2024年、2024年营收分别为2.88亿元、5.3亿元、6.32亿元;毛利分别为2.25亿元、4.19亿元、4.85亿元;期内亏损分别为9651万元、6339万元、9785万元。

迅策科技2025年上半年营收为1.98亿元,较上年同期的2.83亿元下降30%;毛利为1.32亿元,上年同期的毛利为2.28亿元;期内亏损为1.08亿元,上年同期的期内亏损为9776万元。
据知情人士透露,迅策科技主要是目前大客户项目验收较晚,导致的收入拖延,预计全年营收数据不错。

截至2025年6月30日,迅策科技持有的现金及现金等价物为2.22亿元。
估值超60亿
迅策科技执行董事分别为刘志坚、耿大为、杨阳、宣然、姜春飞;非执行董事为蔡祥,独立非执行董事分别为汪棣、蒋昌建、田江川女士。

刘志坚为公司董事局主席、CEO,负责公司整体策略规划、营销及营运管理。
迅策科技成立以来获得多次融资,其中,2017年7月完成7600万元融资,投前估值1.5亿,投后估值2.26亿元;2019年6月完成A+轮融资8875万元,投前估值6亿元,投后估值6.8875亿元;2020年9月完成B轮2.1亿元融资,投前估值10亿元,投后估值12.1亿元;

迅策科技2024年6月完成6.54亿元融资,投前估值18亿元,投后估值24.54亿元;2024年8月完成C+轮6400万元融资,投前估值24.54亿元,投后估值为25.18亿元;
迅策科技2024年4月完成7.98亿元D轮融资,投前估值40亿元,投后估值为47.98亿元;2024年12月完成交叉轮融资2.2亿元,投前估值60亿元,投后估值62.2亿元。
腾讯云锋是股东
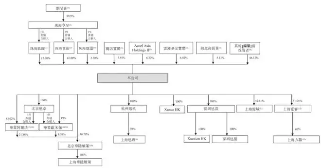
IPO前,刘呈喜通过珠海亨呈管理珠海恩圆控制13.08%股权,通过珠海亨呈管理珠海富前控制12.08%股权,通过珠海亨呈管理珠海股温控制3.7%股权。刘呈喜为刘志坚的父亲。
此外,腾讯持股7.55%,KKR旗下AccelAsia持股为6.32%,云锋基金实体持股6.02%,洪泰基金旗下湖北高质量持股5.13%。

迅策科技其他投资者包括深圳源政、深圳赛达仁、中南荷多、星罗景佑、无锡海盈佳、中南弘远、GSPSI、Madison Square、GBA Fund、羽信仁辉、深圳众投、天津魏紫、广东粤财、创盈健科、阳光家族投资、时代百富、上海熠云、北京中关村、广州由山、合嘉泓盛、北京歌华、通瑞长盈、泰康人寿、羽信国元、上海域恺、天津熙华、杭州柏晖、羽信国昌、中金浦成及金科灼智。
创新工场曾经天使投资了迅策科技,但此后退出了股东行列。
IPO前,深圳源政持股为0.87%,云锋新呈持股为3.76%,深圳赛达仁持股为0.82%,中南荷多持股1.67%,星罗景佑持股为1.31%,无锡海盈佳持股为1.13%,中南弘远持股为1.23%,云锋麒泰持股为2.26%,GSPSI持股为3.23%,MadisonSquare持股为4.54%;
大湾区基金旗下GBA Fund持股为4.53%,羽信仁辉持股为1.27%,深圳众投持股为0.64%,深圳腾讯持股为0.04%,天津魏紫持股为4.51%,广东粤财持股为0.86%,创盈健科持股为0.05%;

阳光家族投资持股为0.75%,时代百富持股为0.3%,上海熠云持股为0.6%,北京中关村、广州由山、合嘉泓盛分别持股为0.3%,广西腾讯持股为7.51%,北京歌华持股为3.34%,通瑞长盈持股为0.06%;
泰康人寿持股为1.5%,羽信国元持股为0.66%,上海域恺持股为1.92%,天津熙华持股为2.59%,浙商证券旗下杭州柏晖持股为1.39%,羽信国昌持股为1.09%,中金浦成持股为0.4%,金科灼智持股为3.98%。
雷递由媒体人雷建平创办,若转载请写明来源。
游乐网为非赢利性网站,所展示的游戏/软件/文章内容均来自于互联网或第三方用户上传分享,版权归原作者所有,本站不承担相应法律责任。如您发现有涉嫌抄袭侵权的内容,请联系youleyoucom@outlook.com。
同类文章
领克GT概念跑车北京车展首发 百公里加速仅2秒
领克首款GT概念跑车亮相北京车展,由中欧团队联合打造。新车采用经典GT比例与低趴宽体设计,配备液态金属蓝涂装与2+2座舱,设有高性能模式按键可激活空气动力学套件。车辆采用后驱布局与AI智能运动控制系统,百公里加速约2秒,设计融合瑞典极简美学并参考全球用户反馈。
英伟达RTX 5070移动版GPU发布 12GB显存性能大幅提升
英伟达推出12GB显存版RTX5070移动GPU,与8GB版同步上市。两者均基于Blackwell架构,核心规格相同,仅显存容量不同。此举旨在缓解GDDR7芯片供应压力,为OEM提供灵活配置,加速笔记本产品布局,更大显存可更好满足游戏与AI应用需求。
微星新款雾面WOLED显示器MAG 276QRY28与276QRDY54正式发售
微星将于5月15日推出两款26 5英寸雾面WOLED显示器MAG276QRY28和276QRDY54,售价分别为2499元和6299元。均采用第四代WOLED面板,具备QHD分辨率、VESADisplayHDRTrueBlack500认证、1500尼特峰值亮度及99 5%DCI-P3色域覆盖。276QRY28刷新率为280Hz,高阶款276QRDY54支持4
中芯国际一季度净利润13.61亿元 同比增长0.4%
中芯国际2026年第一季度营收176 17亿元,同比增长8 1%;净利润13 61亿元,同比增长0 4%。公司预计第二季度收入环比增长14%至16%,毛利率指引上调至20%至22%。这反映出公司在行业复苏中展现出财务韧性,并通过运营优化增强了短期增长势头。
Google Cloud 持续优化 PostgreSQL 核心功能
谷歌云近期分享了其对PostgreSQL核心功能的贡献,重点涉及逻辑复制、升级流程与系统稳定性。更新包括逻辑复制的自动冲突检测、序列同步及订阅管理优化,提升了分布式架构可靠性。升级工具增强缩短了大型数据库升级时间,确保数据完整性。此外,修复了多项漏洞以增强系统稳健性,并预告了结构。
- 日榜
- 周榜
- 月榜
1
2
3
4
5
6
7
8
9
10
相关攻略
2015-03-10 11:25
2015-03-10 11:05
2021-08-04 13:30
2015-03-10 11:22
2015-03-10 12:39
2022-05-16 18:57
2025-05-23 13:43
2025-05-23 14:01
热门教程
- 游戏攻略
- 安卓教程
- 苹果教程
- 电脑教程
热门话题

