兰博基尼新专利:磁铁取代液压尾翼,超跑设计革新
12月25日,据IT之家消息,汽车媒体CarBuzz近日发布报道称,兰博基尼近期曝光了一项颠覆性的空气动力学专利。该专利计划利用“磁性减阻系统”取代传统的液压装置,试图通过复杂的机械结构优化超跑在高速行驶时的空气动力学表现。
与法拉利、迈凯伦或F1赛车上常见的简单翻转式尾翼不同,兰博基尼的这项新专利引入了磁力驱动技术。

该系统旨在解决固定式尾翼在提供过弯下压力与限制直线极速之间的矛盾。它通过一种“嵌入式”的活动结构,在不牺牲操控稳定性的前提下,释放车辆的最高速度潜力。
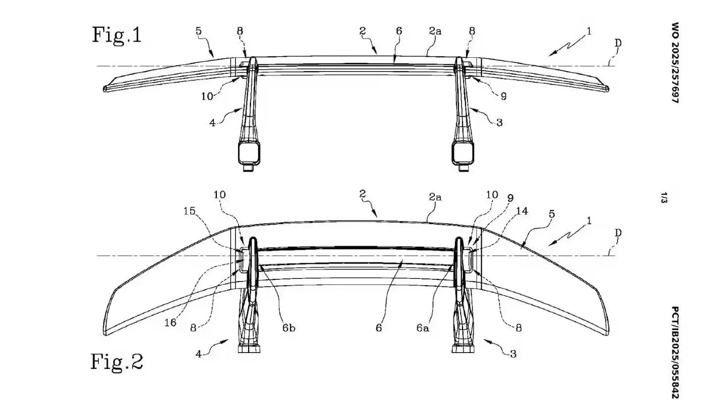
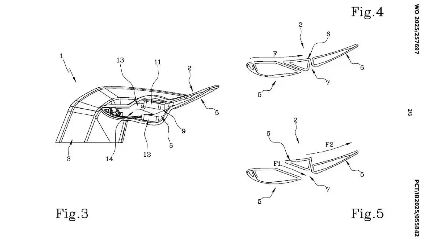
报道援引专利文件介绍,该专利的核心在于独特的双元件设计:一个外观常规的主尾翼,以及一个嵌入主翼槽口内的可移动副翼。当车辆需要极速行驶时,系统并非改变整个尾翼的角度,而是移动内部的副翼。

这一动作会在主翼表面打开一个缺口,引导气流直接穿过尾翼而非流经其表面。气流的“短路”破坏了原本产生下压力的高低压区,从而有效降低空气阻力,提升车辆直线加速能力。
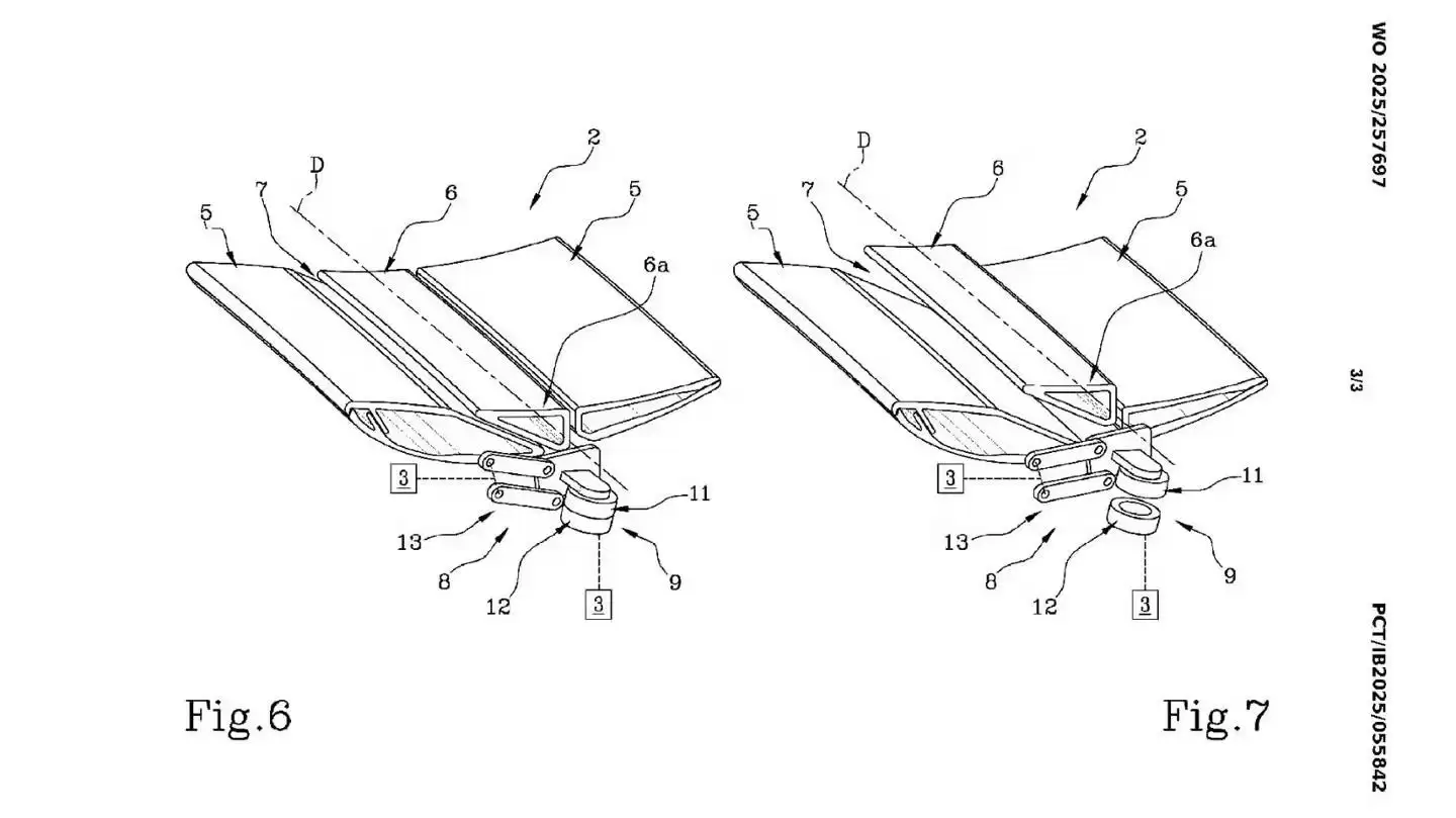
兰博基尼此次创新的最大亮点在于驱动方式的变革。该系统利用主翼上的电磁铁与副翼上的永磁体相互作用来实现开合,彻底摒弃了传统DRS系统中沉重的电机或线性致动器。

这一设计不仅大幅降低了系统复杂度和重量,还因其紧凑的体积,让工程师能够安装比以往更大的尾翼和翼端板,从而在未激活DRS时获得更极致的过弯抓地力。

兰博基尼在专利中暗示,该技术支持在尾翼上设置多个独立移动的区段,这意味着驾驶员或车载电脑可以针对特定路况进行微调。例如在高速过弯时仅打开部分风道,而在大直道上则完全开启以追求极速。
尽管专利申请并不等同于量产确认,但这无疑揭示了兰博基尼在未来旗舰车型上追求极致性能的技术路径。

游乐网为非赢利性网站,所展示的游戏/软件/文章内容均来自于互联网或第三方用户上传分享,版权归原作者所有,本站不承担相应法律责任。如您发现有涉嫌抄袭侵权的内容,请联系youleyoucom@outlook.com。
同类文章
Perplexity AI学术模式使用指南:精准获取高质量参考文献
在Perplexity中进行学术文献检索时,若发现结果中混杂着大量新闻、博客或商业推广页面,而高质量的期刊论文、预印本等学术资源却寥寥无几,这通常意味着未能正确启用其“学术搜索”功能。要让AI助手精准定位具有参考价值的学术文献,掌握以下几个关键步骤至关重要。 一、启用Academic学术模式并验证账
最先被AI淘汰的将是这些公司而非员工
Daniel Miessler 曾一针见血地指出一个普遍困境:“许多公司并非不愿采用AI,而是根本不知从何用起。人们对AI效果未达预期的多数失望,根源往往在于无法精准描述自身的真实需求。” 这一洞察揭示了AI应用的核心前提:AI本质是高效执行者,它依赖明确、清晰的指令。意图模糊,再先进的模型也无能为
AI三维空间感知与几何理解机制原理解析
如今的人工智能技术,已经能够在毫秒级别识别厨房照片中的物体,精准分割街景中的每个元素,甚至生成现实中从未存在过的逼真室内图像。然而,当你要求它走进一个真实的房间,回答“哪个物品放在哪个架子上”、“桌子距离墙壁有多远”或“天花板与窗户的边界在何处”这类涉及空间关系的问题时,它的局限性便暴露无遗。 当前
苹果Siri虚假宣传和解案:用户最高可获647元赔偿指南
5月初,科技界传来一则重磅消息:苹果公司就一起涉及Siri人工智能功能的集体诉讼达成和解,同意支付高达2 5亿美元(约合17亿软妹币)的赔偿金。这意味着,在2024年6月至2025年3月期间于美国购买了特定型号iPhone的用户,将有机会获得每台设备25至95美元(约合170至647元软妹币)的补偿
AI编程基准测试新作发布主流模型表现引热议
编辑|Sia SWE-Bench的缔造者们,最近又扔出了一枚重磅冲击波——一个堪称地狱级难度的新基准测试。 结果一出,整个圈子都安静了。 Claude Opus 4 7、GPT-5 4、GPT-5 mini、Gemini 3 1 Pro、Gemini 3 Flash……这一代所有站在金字塔尖的顶级模
- 日榜
- 周榜
- 月榜
1
2
3
4
5
6
7
8
9
10
相关攻略
2015-03-10 11:25
2015-03-10 11:05
2021-08-04 13:30
2015-03-10 11:22
2015-03-10 12:39
2022-05-16 18:57
2025-05-23 13:43
2025-05-23 14:01
热门教程
- 游戏攻略
- 安卓教程
- 苹果教程
- 电脑教程
热门话题

