保时捷新专利:用气流屏替代敞篷,御风而行黑科技
12月30日资讯,要打造一台令人满意的敞篷车绝非易事。拿掉车顶后,各种棘手问题便会接踵而至:既要应对车身刚性这类关键挑战,还得处理敞篷状态下如何保持座舱静谧性这类细节难题。数十年来,针对后一个问题的解决思路,通常是在前排乘客后方安装某种导风装置。尽管部分车型配备了精巧的电动伸缩挡风板,但这些装置大多造型笨拙、操作繁琐,只是一堆需要手动卡入固定位的塑料件。不过,一项最新披露的专利或许能让保时捷 911 和 Boxster 敞篷车彻底告别这类传统的挡风方案。
免费影视、动漫、音乐、游戏、小说资源长期稳定更新! 👉 点此立即查看 👈

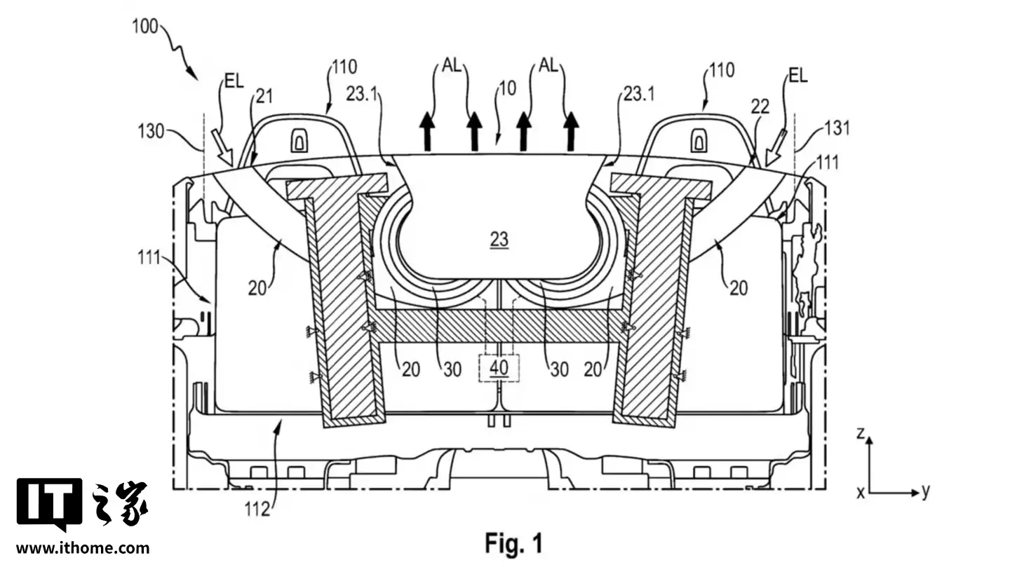
这项由保时捷提交的专利已由世界知识产权组织公布,并于去年正式获得德国专利商标局授权。其核心原理是利用气流自身的能量来阻隔外部气流侵入座舱,本质上是在乘客周围构筑一道无形的“空气屏障”。它的工作原理出乎意料地简单,下方的示意图也清晰地展现了这一点:在乘客舱后方设有一组风道,外部风道大致从车身两侧吸入空气。专利图示表明,气流取自车顶和侧面的进气口,但理论上气流也可以从车身侧翼的进气口引入。

随后,气流会通过风道进入中央区域,这里安装有一台或两台驱动径向风扇的电机。这类风扇的原理与汽车空调系统的鼓风机类似,甚至和笔记本电脑里的微型风扇原理相通。风扇的作用是调节进气量的大小,从而确保车辆在任何行驶速度下,都能提供理想的气流量。风扇将气流通过位于车辆中央的出风口吹出,而这个位置恰好是传统实体风挡的安装处。

除了调节气流量,保时捷在专利中还提到,出风口配备了可调节导流叶片。通过调整叶片角度,气流的形态和走向能够适配不同的车速,达到最佳的扰流效果。这套系统的最终目的,是借助吹出的气流形成一道屏障,阻挡车外紊乱气流涌入座舱,同时摒弃了传统实体风挡那种操作麻烦、外观突兀的设计。
据了解,通过合理引导气流可以实现许多超乎想象的效果。以迈凯伦 Elva 为例,这款车型上市时并未配备玻璃风挡,为了让乘客免受强风直吹,迈凯伦专门设计了一组风道,将车身下方的进气气流向上引导,使气流从乘客头顶掠过,以此实现挡风效果。既然迈凯伦能想出如此巧妙的驭风方案,保时捷自然也有能力做到。

这套系统的结构看起来也相对简单,并不比汽车的空调系统更复杂,核心部件无非就是风道、风扇和出风口。因此,保时捷有望在不久的将来完成该技术的研发,并将其搭载于量产车型。该系统唯一可能存在的短板在于空间占用和重量控制,风道和风扇需要占据一定的安装空间,这可能会进一步压缩本就紧张的行李厢容积。此外,尽管这套系统的零部件已经尽可能轻量化,但其重量肯定无法与轻薄的传统塑料网式风挡相媲美。这或许意味着,保时捷敞篷车的 Spyder 或 T 轻量化版本,可能不会搭载这项配置。
游乐网为非赢利性网站,所展示的游戏/软件/文章内容均来自于互联网或第三方用户上传分享,版权归原作者所有,本站不承担相应法律责任。如您发现有涉嫌抄袭侵权的内容,请联系youleyoucom@outlook.com。
同类文章
AI 的记忆不是硬盘——从 40 个真实 Bug 说起
这是 AI 认知架构实战笔记 系列的第 2 篇 上一篇我们聊了「给 AI 写灵魂文件」这件事,这一篇,我们来看看,当这份灵魂文件真正运转起来之后,现实究竟会给我们带来多少“惊喜”——或者更准确地说,是漏洞。项目名为 WorkBuddy-Configure,已部署在 gitee 和 gitcode 上
OpenClaw给每个Agent单独指定workspace
OpenClaw中为每个Agent配置独立工作区的最佳实践 在大模型智能体协作平台上,实现多个Agent之间的文件隔离是确保项目管理井然有序的关键需求。如果您正在使用OpenClaw平台,为不同角色的智能体分配专属工作空间可以有效避免文件冲突、权限混乱等问题。本指南将详细介绍在OpenClaw中为每
OpenClaw更新操作
前言 对于 OpenClaw 的忠实用户而言,每一次版本迭代都意义非凡。新功能密集、改动幅度大是它的显著特点,这固然令人欣喜,但伴随而来的更新操作也时常会遇到一些预料外的状况。本文旨在系统梳理我们在升级过程中遇到的常见问题与解决方案,帮助您在下次更新时更加顺畅,有效规避不必要的麻烦。 一、OpenC
openclaw源码
项目资源与开源社区 对于希望深入研究OpenClaw技术生态的开发者与研究者,以下几个核心的开源仓库提供了关键的切入点和持续更新的资源集合。 首先,OpenClaw项目的主仓库位于: https: github com openclaw openclaw 这里是所有核心代码、文档和官方进展的枢纽,
关停 Sora 后 OpenAI 转身收购 TBPN 播客,亲自下场做媒体
OpenAI关闭Sora后战略转向:收购TBPN播客,深度布局内容生态 四月初的科技界新闻不断,一则来自科技媒体9to5Mac的报道引发了行业的强烈关注。OpenAI在近期宣布正式收购知名科技商业播客品牌The Browser Pane。这一战略动作紧随其视频应用Sora的停止运营之后,被外界普遍视
- 日榜
- 周榜
- 月榜
相关攻略
2015-03-10 11:25
2015-03-10 11:05
2021-08-04 13:30
2015-03-10 11:22
2015-03-10 12:39
2022-05-16 18:57
2025-05-23 13:43
2025-05-23 14:01
热门教程
- 游戏攻略
- 安卓教程
- 苹果教程
- 电脑教程

