vivo新专利:真无线耳机支持跌倒检测与双向无线充电
据1月6日科技媒体XpertPick报道,vivo近期提交了一项名为《耳机组件及控制方法》的专利,其中描绘了一套更为智能、先进的真无线耳机。这套设备能够实现耳机本体与充电盒之间的无线充电,并具备跌落检测功能。
免费影视、动漫、音乐、游戏、小说资源长期稳定更新! 👉 点此立即查看 👈
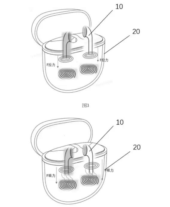
报告引述称,专利中描述的真无线耳机完全无需通过传统的pogo-pin(弹簧针)触电进行供电。其耳机本体配有线圈,充电盒则内置了线圈、电池、处理器以及无线充电模块。
从专利文件来看,这样的设计旨在实现双向无线充电。其中,耳机本体将通过充电盒的电磁感应进行无线充电,能量将在耳机的第一线圈与充电盒的第二线圈之间传输。因此,这套真无线耳机内部完全无需配置任何物理触点。

同时,这款耳机还配备了一套跌落检测机制。系统会持续监测耳机本体线圈与充电盒线圈之间的磁感应变化。若设备不小心坠落,系统会立即增强磁力,设法将耳机固定在充电盒内,也可以直接切断电源供应以防止损坏。
专利还进一步指出,这款耳机还可配备压力传感器。结合磁感应变化以及压力信号,系统能判断用户何时需要取出耳机。当用户打开耳机盒盖子时,系统会自动调节线圈电流,减弱磁力,从而使耳机本体更容易从充电盒中取下。
游乐网为非赢利性网站,所展示的游戏/软件/文章内容均来自于互联网或第三方用户上传分享,版权归原作者所有,本站不承担相应法律责任。如您发现有涉嫌抄袭侵权的内容,请联系youleyoucom@outlook.com。
同类文章
Google Cloud 持续优化 PostgreSQL 核心功能
谷歌云近期分享了其对PostgreSQL核心功能的贡献,重点涉及逻辑复制、升级流程与系统稳定性。更新包括逻辑复制的自动冲突检测、序列同步及订阅管理优化,提升了分布式架构可靠性。升级工具增强缩短了大型数据库升级时间,确保数据完整性。此外,修复了多项漏洞以增强系统稳健性,并预告了结构。
特斯拉Semi电动卡车量产车正式下线即将开启大规模生产
特斯拉首台量产Semi电动卡车正式下线,标志着该车型进入规模化生产阶段。其长续航版本单次充电可行驶约805公里,首批车辆计划年内交付。公司计划在2026年同步量产Semi、Cybercab自动驾驶出租车及下一代储能系统,并已宣布大幅增加年度资本开支以支持多个核心领域的研发与生产。
京东物流布局商业航天物流解决方案
京东物流与蓝箭航天合作,首次为火箭发射提供完整物流解决方案。其第六代无人车在极寒、大风等苛刻环境下,凭借L4级自动驾驶能力,承担发射基地内部物资运输任务,实现智能高效的定点运送。从早年设立快递站点解决生活需求,到如今深度参与核心发射保障,反映出商业航天对专业化地。
腾讯AI战略布局:持续投资扩张以追赶行业领先者
腾讯一季度营收增长9%,但AI新业务短期内拖累利润增幅。公司研发投入大幅增加,其中AI是主要驱动力。为加速追赶,腾讯优化组织并引入顶尖人才,其开源模型市场反响热烈,调用量激增。AI技术已全面赋能云服务、广告、游戏及微信生态,推动相关业务增长,成为公司明确的核心发展引擎。
特斯拉CEO马斯克安保费用达480万美元 同比大幅增长71%
特斯拉2025财年为首席执行官马斯克支付的个人安保费用达480万美元,较前一年增长71%。今年头两月支出同比激增超160%。该费用仅为其安保开支一部分,其名下其他企业也分担相关成本。费用增长源于投资者呼吁及本人确认的必要性,其日常安保规格极高,常由约20名保镖及医护人员随行。
- 日榜
- 周榜
- 月榜
1
2
3
4
5
6
7
8
9
10
相关攻略
2015-03-10 11:25
2015-03-10 11:05
2021-08-04 13:30
2015-03-10 11:22
2015-03-10 12:39
2022-05-16 18:57
2025-05-23 13:43
2025-05-23 14:01
热门教程
- 游戏攻略
- 安卓教程
- 苹果教程
- 电脑教程
热门话题

