谷歌Pixel 11 Pro Fold折叠屏电池专利:有望取消凝胶粘合固定
1月15日消息,长期以来,折叠屏手机在维修便利性上口碑不佳,谷歌自家的Pixel Fold系列也不例外。以Pixel 10 Pro Fold为例,其电池直接采用胶水固定,虽然提供了易拉条辅助拆卸,但对于普通用户而言,操作不当仍有可能“大力出奇迹”,导致手机损坏。
而根据消息源披露,谷歌目前已悄然申请了一项折叠屏手机专利,文件显示,未来的谷歌Pixel 11 Pro Fold有望调整电池结构设计,使其更便于更换。
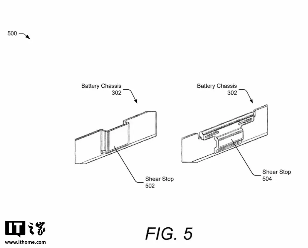
专利文件显示,Pixel 11 Pro Fold的电池可能不再通过胶水粘合,而是采用机械结构进行固定。具体来说,电池将被滑入一个定制形状的仓位中,通过金属结构和固定部件进行锁定,从而实现稳固安装。


专利中还提到,承载电池的机身结构采用金属材质,有助于电池接地,并通过限位结构防止电池在机身内部发生位移或扭转。同时,该设计仍为无线充电预留了空间,这意味着即便更换为可拆卸电池结构,也不会牺牲无线充电功能。
当然,需要注意的是,目前相应设计仅停留在专利阶段,并不意味着谷歌一定会将该设计应用到最终量产的Pixel 11 Pro Fold上。专利有可能是技术储备,也可能在测试后被放弃。
游乐网为非赢利性网站,所展示的游戏/软件/文章内容均来自于互联网或第三方用户上传分享,版权归原作者所有,本站不承担相应法律责任。如您发现有涉嫌抄袭侵权的内容,请联系youleyoucom@outlook.com。
同类文章
4月汽车销量榜前十仅一款燃油车 燃油车时代即将落幕
四月新能源车零售渗透率突破61 4%,销量前十车型中仅剩一款燃油车。目前汽车保有量仍以燃油车为主,但市场趋势显示,车企正密集推出无需外接充电的油电混动车型,以满足充电不便用户的需求。同时,部分豪华品牌也放缓纯电路线,转向多元动力策略。油电混动成为连接燃油与电动化的重要。
ADC抗癌药市场迎来新入局者药企探索多元支付提升患者可及性
葛兰素史克ADC新药玛贝兰妥单抗在华获批,用于多发性骨髓瘤治疗。ADC药物市场快速增长,国内外药企加速布局,多款产品上市或通过授权合作出海。药企期待通过医保与商业保险等多元化支付体系提高药品可及性,减轻患者负担。
深圳福田AI生态亮相国际人工智能展
第七届深圳国际人工智能展览会开幕,福田区组织12家优质AI企业集体参展,涵盖芯片、硬件及行业解决方案。参展企业包括多家国家级高新技术与专精特新企业,聚焦算力硬件、垂直场景应用,展现区域产业活力与创新生态。展会为企业提供展示与合作平台,体现政策支持对AI发展的赋能作用。
央美陈抱阳解析AI与艺术融合情感认知智能技术如何革新美术教学
中央美术学院陈抱阳教授探讨了AI艺术的深层意义,强调研究应关注人如何观看AI及其对人类感知与情感的影响。他的创作融入中国文化传统,为具身智能艺术提供思想资源,不仅探索AI进入艺术的路径,更思考艺术如何重新定义AI的社会角色。艺术与AI的互动正改变技术理解、观看方式与教学逻辑。
方程豹豹5天神Max版上市 限时售价25.38万元
方程豹豹5天神Max版正式上市,限时售价25 38万元。新车核心尺寸与动力系统保持不变,系统总功率505kW。配置方面取消部分后排豪华功能,但保留了前排座椅加热通风按摩、中控与副驾娱乐屏及智能驾驶辅助系统,聚焦越野性能与核心科技,提供更具性价比的选择。
- 日榜
- 周榜
- 月榜
1
2
3
4
5
6
7
8
9
10
相关攻略
2015-03-10 11:25
2015-03-10 11:05
2021-08-04 13:30
2015-03-10 11:22
2015-03-10 12:39
2022-05-16 18:57
2025-05-23 13:43
2025-05-23 14:01
热门教程
- 游戏攻略
- 安卓教程
- 苹果教程
- 电脑教程
热门话题

