奔驰弹簧尾灯专利获批,车内线路蜘蛛网得以消除
最新消息,汽车媒体CarScoops于1月20日发布报道称,梅赛德斯-奔驰公司近期申请了一项尾灯设计新专利,有望解决当前汽车尾门布线日益复杂、笨重且维修成本高昂的问题。
免费影视、动漫、音乐、游戏、小说资源长期稳定更新! 👉 点此立即查看 👈
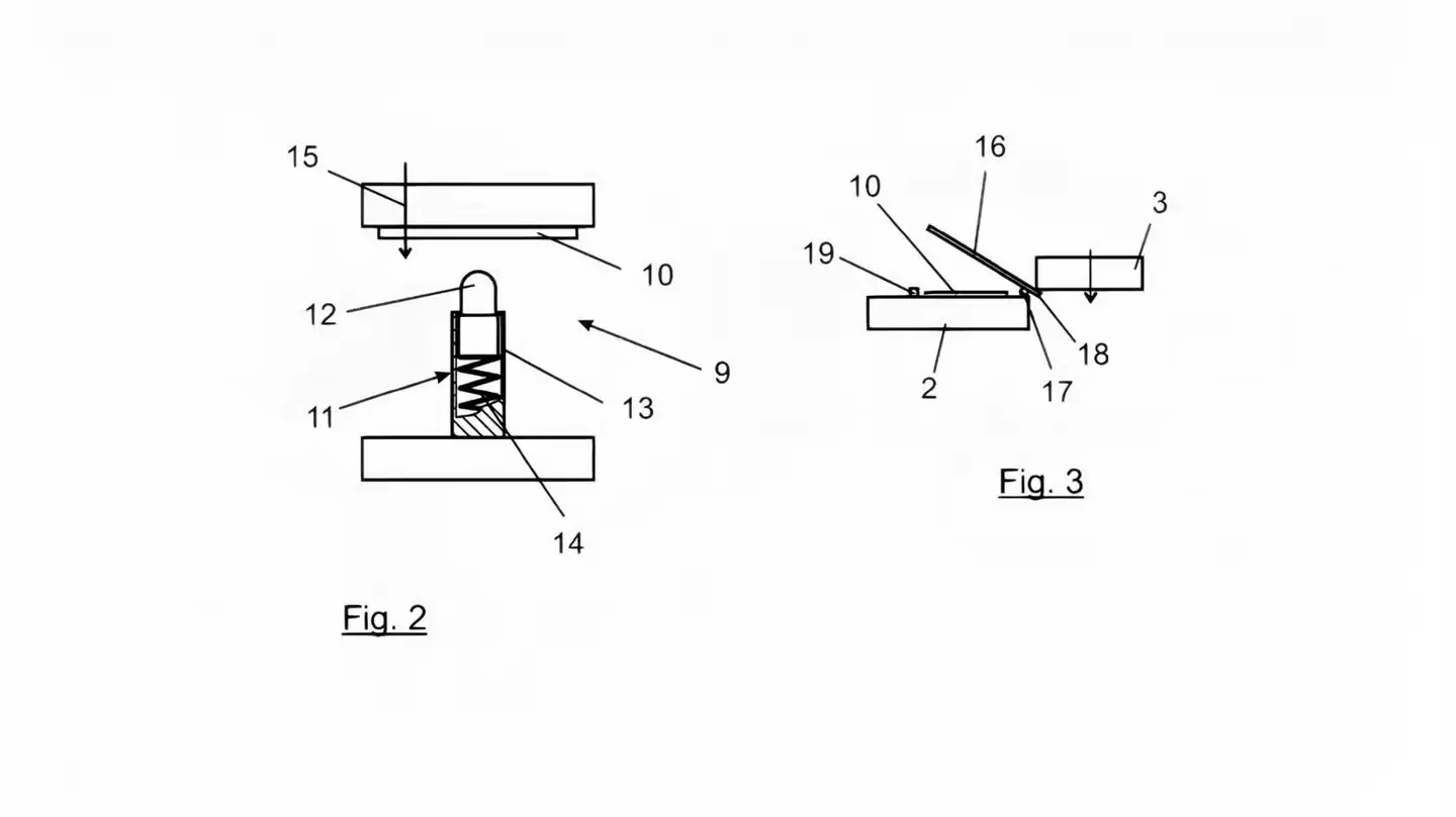
这项新专利旨在通过一种巧妙的纯机械设计,取代连接车身与尾灯之间冗长复杂的柔性电线,其核心是一个弹簧加载式机械开关。

文章介绍,当尾门关闭后,开关内的物理触点在弹簧作用下会自动压紧并接通电路,为安装在尾门上的尾灯部分供电;尾门打开时,触点则会自动分离断电。

这种设计尤其适用于尾灯被尾门一分为二的车型(例如现款奔驰GLS),它不再需要冗长的电线穿过柔性导管连接两部分灯组,从而显著减轻重量、降低成本,并减少因线束反复弯折而产生的潜在故障点。


事实上,利用弹簧触点来导电并非全新技术,但在汽车领域的应用却不多见。该方案的最大挑战在于应对严苛的使用环境:尾门区域极易积聚灰尘、泥水等污垢。为了保证长期可靠性,这些电气触点必须具备出色的防护能力和自清洁功能,否则一层薄薄的灰尘就可能导致整个系统失灵。

奔驰目前旗下尚无任何车型采用此设计,并且专利的申请也不意味着会立即投入量产。
游乐网为非赢利性网站,所展示的游戏/软件/文章内容均来自于互联网或第三方用户上传分享,版权归原作者所有,本站不承担相应法律责任。如您发现有涉嫌抄袭侵权的内容,请联系youleyoucom@outlook.com。
同类文章
22岁辍学生凭AI垃圾分类估值10亿,数据生意改写垃圾回收
智东西编译 陈佳编辑 程茜智东西3月27日消息,据外媒Business Insider昨日报道,美国AI数据采集创企Kled AI正在付费让普通人帮忙采集AI训练数据,其平台上线仅两个月用户数已突破
一口气发布三大王炸模型!昆仑万维公布2026年AGI战略蓝图
编辑|杜伟就在 27 日下午,在火热进行中的 2026 中关村论坛上,一家国产头部 AI 厂商引爆了全场!昆仑万维,这家 2024 年便已「All in AGI 与 AIGC」的实力玩家,亮出了其实
刚刚NeurIPS退稿?了解审稿趋势与避坑指南
机器之心编辑部就在刚刚,正在舆论风口上左摇右摆的 AI 顶会 NeurIPS 发布了一条长推文,针对此前的「NeurIPS 限制华为等实体机构投稿」事件做了解释、道歉、承诺三件事:解释:在编制 Ne
Avata+360创作者新边界:大疆赠予的360%变革
大疆用一英寸全景影像、O4+ 图传与全向避障,带来了对「每个人都能飞出好片」最认真的一次回答。作者|张勇毅编辑|郑玄3 月 26 日,大疆发布了 Avata 360——大疆首款 8K 全景旗舰无人机
昆仑万维推出AIGC全家桶大模型,AI视频游戏音乐全线齐发
智东西作者|江宇编辑|冰倩智东西3月27日报道,今日,在2026中关村论坛“人工智能主题日”现场,昆仑万维旗下天工AI集中发布了其最新的“AIGC全家桶大模型”。其中包括:游戏世界模型Matrix-
- 日榜
- 周榜
- 月榜
相关攻略
2015-03-10 11:25
2015-03-10 11:05
2021-08-04 13:30
2015-03-10 11:22
2015-03-10 12:39
2022-05-16 18:57
2025-05-23 13:43
2025-05-23 14:01
热门教程
- 游戏攻略
- 安卓教程
- 苹果教程
- 电脑教程

