卓越医疗开启招股:拟募资3亿,2月6日上市,何小鹏等参与认购

免费影视、动漫、音乐、游戏、小说资源长期稳定更新! 👉 点此立即查看 👈
雷递网 雷建平 1月29日
卓正医疗控股有限公司(简称“卓正医疗”,股票代码:“2677”)日前开启招股,计划于2026年2月6日在港交所上市。
卓正医疗拟全球发售475万股,发行区间为57.70港元至66.60港元,最高募资3.16亿港元。

卓正医疗的基石投资者分别为Health Vision、金域医学检验、明略科技、Galaxy Dynasty,合共认购9079万港元。具体来看,Health Vision认购4400万港元,金域医学检验认购300万美元,明略科技认购200万美元,小鹏汽车董事长、CEO何小鹏旗下基金Galaxy Dynasty则认购100万美元。
最近八个月的营收为6.96亿元
卓正医疗于2012年在深圳创立,采用线上、线下一体化服务的新模式,在北京、上海、广州、深圳、成都、重庆、武汉、长沙、苏州、杭州等主要城市运营近30家物理网点。
卓正医疗的服务涵盖内科及全科、外科、妇产科、儿科、齿科、皮肤科及医学美容、眼科、耳鼻喉科、个性化体检、日间手术、航空转运、国际转诊等多个专业类别。
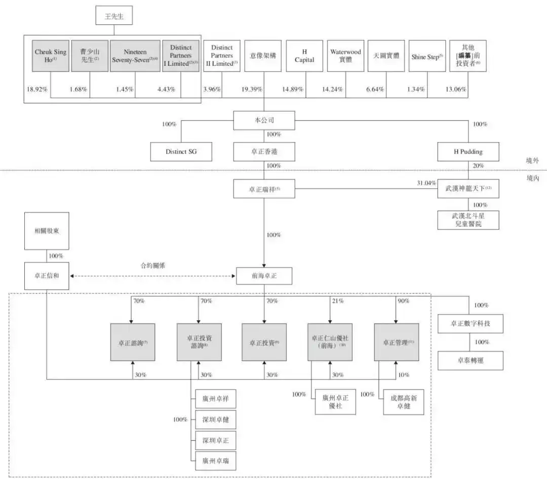
自2024年1月至3月,卓正医疗收购了武汉神龙天下合计51.04%股权,武汉神龙天下拥有武汉北斗星儿童医院及两家武汉诊所。武汉神龙天下已于2024年3月28日起成为卓正医疗的非全资附属公司。
招股书显示,卓正医疗2022年度、2023年度、2024年度的营收分别为4.73亿元、6.9亿元、9.59亿元;毛利分别为4398万元、1.34亿元、2.26亿元;经营亏损分别为1.37亿元、6693万元、4688万元;期内利润则分别为-2.22亿元、-3.53亿元以及8023万元。

卓正医疗2025年前八个月营收为6.96亿元,上年同期的营收为6.15亿元;毛利为1.67亿元,上年同期的毛利为1.52亿元;经营利润为1273万元,而上年同期的经营亏损为2989万元;期内利润为8321万元,上年同期的期内利润为5216万元。

卓正医疗2022年度、2023年度、2024年度经调整净利润分别为-1.23亿元、-4357万元、1070万元;2025年前八个月经调整净利润为1045万元,上年同期的经调整净利润为2442万元。
上市前最新估值达5.1亿美元
卓正医疗的执行董事分别为王志远、施翼;非执行董事分别为曹少山、张向东、魏国兴、陈小红女士、郝瑞;独立非执行董事分别为陈锐女士、王咏刚、王高飞、朱恒鹏博士。
自公司成立以来,卓正医疗已完成多轮融资。
其中,2017年完成的C轮融资金额达3529万美元,每股成本为3.7143美元,投后估值为1.46亿美元;

2019年9月,公司进行了5000万美元的融资,每股成本为5.6876美元,投后估值达到2.9亿美元;
2024年8月,卓正医疗再次获得6000万美元融资,每股成本为8.8258美元,投后估值攀升至5.1亿美元。
腾讯与H Capital为主要股东
上市前,Cheuk Sing Ho持股为18.92%,曹少山持股为1.68%,Nineteen Seventy-Seven持股为1.45%,Distinct Partners I Limited持股为4.43%,Distinct Partners II Limited持股为3.96%;

腾讯持股为19.39%, H Capital持股为14.89%,仁山优社创科(香港)持股为1.92%,北京天图兴北投资中心(有限合伙)持股为4.65%,成都天图天投东风股权投资基金中心持股为1.99%;

Waterwood Tactics持股为1.66%,Martrix Partners China II(经纬中国)持股2.98%,Martrix Partners China II-A持股0.33%,北京明启企业旗下Waterwood DHC(富德生命)持股为12.58%;中金康瑞壹期(宁波)股权投资基金合伙企业持股为3.32%。

完成首次公开发售后,Cheuk Sing Ho持股将调整为17.52%,曹少山持股为1.55%,Nineteen Seventy-Seven持股为1.35%,Distinct Partners I Limited持股为4.1%,Distinct Partners II Limited持股为3.67%;
腾讯持股将调整为14.73%, H Capital持股为11.31%,天图实体持股为6.15%,Shine Step持股为1.24%,MPC II持股为2.26%,MPC II-A持股为0.25%,Waterwood实体持股为13.19%,公众股东持股为7.38%。
本文由雷递媒体创始人雷建平撰写,如需转载请务必注明来源。
游乐网为非赢利性网站,所展示的游戏/软件/文章内容均来自于互联网或第三方用户上传分享,版权归原作者所有,本站不承担相应法律责任。如您发现有涉嫌抄袭侵权的内容,请联系youleyoucom@outlook.com。
同类文章
微软 Surface Go 3 获推固件更新:增强 Wi-Fi 信号稳定性、改进指南针方向等
微软 Surface Go 3 迎来重要固件更新:全面优化 Wi-Fi 与罗盘性能 近日,微软为其便携设备 Surface Go 3 发布了新一轮固件升级。此次更新聚焦于提升设备的基础使用体验,针对性优化了无线网络连接的稳定性与设备内置电子罗盘的指向精度。同时,更新包还修复了一个涉及英特尔组件的已知
低至 509 元租房也划算:小米 Redmi A32 智能电视买贵双倍赔,可取消开屏广告
509元起租房神器:小米Redmi A32智能电视开机广告可关,买贵赔双倍 对于租房党或小户型用户来说,为临时住所或小空间添置电视机,常常面临预算有限与体验不佳的矛盾。然而,近期市场上出现了一款兼具性价比与实用性的选择——2025款小米Redmi A32智能电视。这款32英寸的小米电视机型,日常售价
vivo X300 Ultra 摄影师套装图赏:用专业相机思路打造的“专业 V 单”
vivo X300 Ultra 摄影师套装深度体验:赋予手机专业相机的灵魂与操控 北京时间3月30日晚19点,vivo年度影像旗舰——被誉为“超能小V单”的X300s与定位“专业V单”的X300 Ultra正式发布。在X300s之外,我们更在发布会前夕,抢先深度体验了这款追求极致的专业影像设备。本文
OPPO K15 Pro系列无缘16GB 产品经理直呼太贵
OPPO K15 Pro系列4月1日发布:存储配置引热议 OPPO官方已正式宣布,K15 Pro系列新品将于4月1日正式发布。值得注意的是,尽管尚未正式亮相,该系列的两款新机目前已在OPPO官方商城开放预约。然而,官网配置信息揭示了一个值得关注的现象:全系列目前仅提供12GB运行内存(RAM)版本,
荣耀MagicBook 14/16及Pro系列笔记本正式开启预约
荣耀MagicBook新品矩阵正式发布,两大产品线精准锁定办公与专业用户群 荣耀MagicBook 2024年全新产品线现已全面启动预售。全新的MagicBook 14 16系列以及定位更高的MagicBook Pro 14 16系列,已在京东、天猫旗舰店及荣耀官方商城同步开启预约通道。即刻参与预约
- 日榜
- 周榜
- 月榜
相关攻略
2015-03-10 11:25
2015-03-10 11:05
2021-08-04 13:30
2015-03-10 11:22
2015-03-10 12:39
2022-05-16 18:57
2025-05-23 13:43
2025-05-23 14:01
热门教程
- 游戏攻略
- 安卓教程
- 苹果教程
- 电脑教程

