奔驰申请按摩座椅专利:机械臂模拟精准揉捏手法
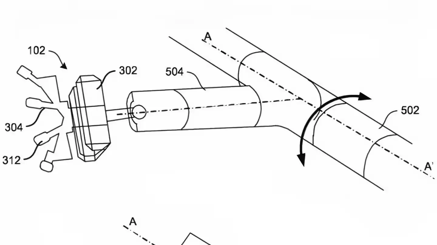
汽车座椅的重要性不言而喻,毕竟人们开车时,始终都得坐在方向盘后方。多年来,汽车座椅经历了大幅革新,如今多款车型都配备了座椅加热与通风功能,让驾驶者的臀部保持理想温度。高端车型甚至搭载了按摩座椅,以此缓解通勤途中的疲惫感。汽车媒体发现梅赛德斯-奔驰的一项全新专利,能让座椅舒适体验再度升级:在座椅系统中新增头部按摩功能。
免费影视、动漫、音乐、游戏、小说资源长期稳定更新! 👉 点此立即查看 👈

车载头部按摩功能初看有些奇特,实则是对现有技术的完美延伸。该企业专利文件中解释称,压力过大会感到“肌肉紧张、疲劳和头痛,这会影响驾驶体验。”

我们注意到,座椅头部按摩的运作机械结构极为复杂,比如系统会通过传感器识别驾驶者的身高与头部位置,自动将按摩机构调节至适配角度。
奔驰的设计方案是,在头枕内安装一个中枢模块,连接多根带可调节支柱的按摩臂。每根按摩臂均可实现移动、扭转与震动,整套装置还能进行旋转,覆盖整个头部。该系统由电机驱动,既可以安装在头枕内部,也能整合进座椅靠背现有的按摩结构中。


专利文件显示,该系统支持多种启动方式:既可通过车机中控屏按键操作,也能使用智能手机远程开启。开启后,用户还能自定义调节,让按摩头精准作用于想要按摩的部位。
奔驰的核心诉求,是为驾驶者打造极致舒适体验。该品牌早已实现身体其他部位的座椅按摩功能,这项专利正是在此基础上的迭代升级。结构上的多重设计,能让按摩臂精准调整至最佳角度,贴合头部的按摩点位。
和所有车企一样,奔驰也常会申请部分未必投入量产的专利,核心目的是防止竞争对手抢占相关技术概念。头部按摩功能乍看或许实用性不强,却能成为奔驰对抗竞品的差异化营销优势。
游乐网为非赢利性网站,所展示的游戏/软件/文章内容均来自于互联网或第三方用户上传分享,版权归原作者所有,本站不承担相应法律责任。如您发现有涉嫌抄袭侵权的内容,请联系youleyoucom@outlook.com。
同类文章
工信部发布防范 OpenClaw(“龙虾”)开源智能体安全风险“六要六不要”建议
工信部发布“六要六不要”,为OpenClaw(“龙虾”)开源智能体安全风险划出红线 近日,工业和信息化部网络安全威胁和漏洞信息共享平台发布了一份重磅文件,针对当前热门的OpenClaw(因其图标酷似龙虾,业内常昵称为“龙虾”)开源智能体,提出了清晰的安全使用指引——“六要六不要”。这份建议可不是空穴
荣耀 CEO 李健:荣耀机器人全栈自研,将聚焦消费市场
荣耀CEO李健详解机器人战略:全栈自研,聚焦三大核心消费场景 荣耀春季旗舰新品发布会圆满结束后,关于公司未来发展的蓝图更加清晰。在随后的媒体沟通会上,荣耀CEO李健不仅公布了年度销售目标,更首次系统性地阐述了荣耀在机器人领域的完整战略规划与市场布局。 在探讨机器人业务发展方向时,李健明确了荣耀的坚定
别只盯着“上门装龙虾赚26万”!看懂OpenClaw背后的“意图入口”大战
别再只关注“上门装龙虾赚26万”!深度解读OpenClaw背后的“意图入口”新战争 最近科技行业的热潮,充满了戏剧性的现实色彩。一只“红色龙虾”AI智能体搅动了整个市场:有人通过提供安装服务,收取每次五百元,短短几天就赚取二十六万元收入;腾讯大厦前甚至排起长队,大家竞相领取免费的安装体验权限。这场全
openclaw安装配置
一、系统要求 在开始安装 OpenClaw 之前,请务必确认您的计算机满足以下最低配置要求。这如同搭建房屋前检查地基,是确保后续安装流程顺利、软件稳定运行的前提。更高的硬件配置将为复杂任务处理和流畅体验提供有力保障。 操作系统:支持 Windows 10 及以上版本、macOS 最新稳定版,以及主流
自研第一个SKILL-openclaw入门
自研第一个SKILL:手把手教你开发openclaw自定义技能 当你成功构建好openclaw之后,如何让它真正“智能”起来?关键在于为其开发SKILL——这些技能是openclaw的“内功心法”,决定了它能帮你做什么、做多好。 本文将带你亲自动手,从零开始开发你的第一个openclaw自定义技能,
- 日榜
- 周榜
- 月榜
相关攻略
2015-03-10 11:25
2015-03-10 11:05
2021-08-04 13:30
2015-03-10 11:22
2015-03-10 12:39
2022-05-16 18:57
2025-05-23 13:43
2025-05-23 14:01
热门教程
- 游戏攻略
- 安卓教程
- 苹果教程
- 电脑教程

