苹果新专利:iPhone Fold或实现屏下局部调光指纹识别

免费影视、动漫、音乐、游戏、小说资源长期稳定更新! 👉 点此立即查看 👈
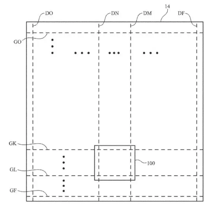
2026年2月11日,一项名为具备局部亮度调节功能的显示器专利获得授权。这项技术通过精准调控屏幕局部区域的像素发光强度,形成定向微光,用于照亮手指表面纹理,再由集成于屏幕下方的光学传感器接收反射光信号,从而实现指纹识别功能。
此项方案可能优先搭载于苹果计划推出的首款折叠屏手机iPhone Fold。由于该机型对机身厚度有严苛要求,传统结构难以容纳完整的Face ID模组,而此项显示与传感协同方案可有效规避空间限制,提供可行的替代识别路径。与此同时,苹果已于2025年7月提交面向Mac产品的Face ID相关专利申请,反映出其正系统性推进多平台、多模态生物识别技术的布局与演进。
游乐网为非赢利性网站,所展示的游戏/软件/文章内容均来自于互联网或第三方用户上传分享,版权归原作者所有,本站不承担相应法律责任。如您发现有涉嫌抄袭侵权的内容,请联系youleyoucom@outlook.com。
同类文章
雷鸟创新AWE斩获艾普兰创新奖 蝙蝠侠限定款国内首秀
雷鸟X3 Pro斩获AWE艾普兰创新大奖,开启全民AR生活新篇章 在上海新国际博览中心隆重揭幕的2026年中国家电及消费电子博览会(AWE)上,前沿AI科技与未来生活愿景激情碰撞。全球消费级AR领导品牌雷鸟创新,以其里程碑式的表现,定义了行业发展的新方向。 通过“顶尖硬件科技+顶级文化IP”的双轨战
AWE探展MOVA:31款创新产品集中亮相 重新定义智慧生活新体验
借力AWE2026“一展双区”,MOVA双区协同、震撼登场 备受瞩目的科技盛会——2026年中国家电及消费电子博览会(AWE),于3月12日至15日在上海盛大举办。本届AWE展会首次创新采用“一展双区”的展览模式,主会场位于上海新国际博览中心,分会场则设于上海东方枢纽国际商务合作区,两大展区高效联动
iPhone 18 Pro设计挤牙膏了 继续用前代模具
iPhone 18 Pro系列模具不变,屏幕形态将与iPhone 17 Pro保持一致 备受期待的屏下Face ID组件小型化设计与灵动岛区域缩窄方案,预计将被推迟至后续迭代机型中正式应用。 近期,关于iPhone 18 Pro系列的技术传闻持续引发行业关注,尤其在显示与解锁设计领域传言甚多。多方消
海韵 FOCUS v5系列电源3.16日首发,标配ATX 3.1规范
海韵FOCUS v5电源正式上市:140mm短机身设计,白金能效,专为紧凑高性能主机打造 对于追求极致空间利用的DIY玩家,尤其是ITX与小尺寸机箱用户,一款高效且尺寸紧凑的电源是组建高性能主机的关键。海韵旗下备受期待的FOCUS v5系列电源,现已在京东自营旗舰店正式发售。该系列主打标准的140m
2026必买A级纯电SUV 方程豹钛3闪充版上市15万起
作为A级纯电市场首款标配闪充的方盒子车型,方程豹钛3闪充版凭借三大越级实力,问鼎同级科技与潮流标杆 2026年3月13日,方程豹品牌正式推出钛3闪充版,新车提供620KM后驱闪充版与565KM四驱闪充版两个车型配置,官方指导价定在15 38万至16 98万元区间。同步,备受期待的钛7EV闪充版也启动
- 日榜
- 周榜
- 月榜
相关攻略
2015-03-10 11:25
2015-03-10 11:05
2021-08-04 13:30
2015-03-10 11:22
2015-03-10 12:39
2022-05-16 18:57
2025-05-23 13:43
2025-05-23 14:01
热门教程
- 游戏攻略
- 安卓教程
- 苹果教程
- 电脑教程

