特斯拉座椅专利揭秘:碳纤维一体框架或用于新Roadster跑车
IT之家3月14日消息,据汽车媒体CarScoops日前报道,在查阅美国商标和专利局(USPTO)最新公布的专利清单后,发现特斯拉一项“车辆座椅系统”设计专利已获批准。业界推测,这项创新技术有望应用于第二代Roadster跑车。
免费影视、动漫、音乐、游戏、小说资源长期稳定更新! 👉 点此立即查看 👈
结合近期流出的产品规划,第二代特斯拉Roadster预计将于2026年4月1日在得州奥斯汀超级工厂正式首发。新车定位为硬顶敞篷纯电动旗舰超跑,将采用三电机全轮驱动架构,零百加速时间有望突破2.1秒,续航里程或将超越1000公里。

传统汽车座椅结构依赖数十个金属连接部件,这不仅增加了车身整体重量,也带来了潜在的机械故障风险。研发团队希望通过一体化设计打造更轻量的座椅系统,同时有效降低日常使用中的磨损与老化。

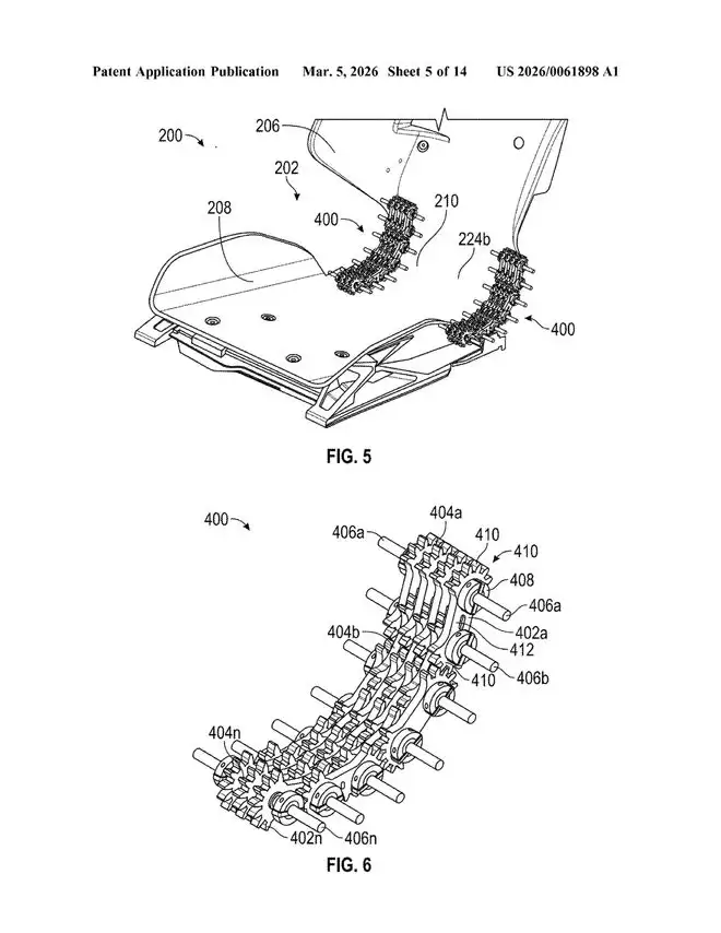
根据专利文件描述,新型座椅颠覆了多数跑车采用的多部件拼装方案,转而采用一体化框架设计,将底座、靠背、头枕和侧面支撑等元素整合为单一复合结构。
材料方面,据IT之家援引相关报道介绍,工程师在专利中明确提及凯夫拉-尼龙和碳-尼龙复合材料,旨在削减冗余重量并大幅提升座椅的结构强度。

该专利还详细说明了座椅的创新动态调节方式。新系统彻底摒弃了用于调节椅背倾斜的传统金属齿轮机构,转而采用“一体式柔性铰链”设计。

这意味着材料本身可在受力点发生形变,让框架在特定区域保持柔韧,而在其他区域维持刚性。这种设计使工程师能够进行精准调校,从而在车辆急加速或高速过弯时为驾乘者提供更稳固的支撑。

执行结构上,新系统省去了常规的电动机和金属滑轨,采用小型多轴执行器来控制座椅的各个方向移动。该系统具备六自由度调节能力,能够比大多数豪华车型更精确地微调座椅姿态。

游乐网为非赢利性网站,所展示的游戏/软件/文章内容均来自于互联网或第三方用户上传分享,版权归原作者所有,本站不承担相应法律责任。如您发现有涉嫌抄袭侵权的内容,请联系youleyoucom@outlook.com。
同类文章
探秘第四代高能同步辐射光源HEPS限时打卡指南
在粒子物理与核探测技术领域,要捕捉并解析那些瞬息即逝的基本粒子和高能射线,必须依赖一种特殊的“感知之眼”——粒子探测器。而构成这双“眼睛”最核心的感光部件,往往是一块块高度纯净、性能卓越的人工闪烁晶体。这类晶体能够将高能粒子或射线所携带的能量,高效转换为可供记录与分析的光信号,从而成为现代高能物理实
杭州街道遭电商抵制背后:无理由退货引发的规则博弈
近期,杭州萧山区盈丰街道被国际奢侈品牌圣罗兰列入“发货黑名单”的消息,在电商圈内引发广泛关注。业内人士分析,这很可能是商家针对特定区域恶意退货率持续偏高所采取的无奈之举。事实上,将某个地区甚至具体街道设置为限制发货区域,在技术层面已十分成熟,且近期类似操作已在全国多地悄然出现。 有电商经营者透露,尽
莫氏鸡煲为何开业仅一月就客流锐减无人排队
流量时代的风口,生命周期往往短得惊人,能撑过三个月都算幸运儿。这背后,是注意力经济的残酷法则。 不知道各位还记不记得,一个月前全网刷屏的那家“最不想火的鸡煲店”?当时,老板老莫对着镜头直言味道一般,劝大家别跟风,甚至贴出告示提醒“喝汤可能拉肚子”。结果呢?这股“爱来不来”的桀骜劲儿,反而引爆了网络,
谷歌披露黑客利用AI开发零日漏洞攻击工具
谷歌安全团队近期披露了一起具有里程碑意义的网络攻击事件:一个网络犯罪组织利用人工智能技术,成功开发出一款能够自动探测并试图利用某款主流系统管理软件中未知安全漏洞的黑客工具。 这起事件的性质远超普通网络攻击。根据谷歌发布的详细报告,这是全球首次有确凿证据证实,人工智能被直接用于生成针对“零日漏洞”的自
2030年车企生死线:300万辆销量成行业新基准
当北京车展的聚光灯聚焦于新车发布时,一场关于未来生存法则的深度思考,正在行业内部引发广泛共鸣。 就在许多车企仍在为年度销量目标奋力冲刺之际,长安汽车已将战略视野投向了更具决定性的2030年。在中国长安汽车集团总裁赵非看来,那并非一个遥远的未来,而是一道严峻的行业“分水岭”。他近期明确提出了判断车企生
- 日榜
- 周榜
- 月榜
1
2
3
4
5
6
7
8
9
10
1
2
3
4
5
6
7
8
9
10
相关攻略
2015-03-10 11:25
2015-03-10 11:05
2021-08-04 13:30
2015-03-10 11:22
2015-03-10 12:39
2022-05-16 18:57
2025-05-23 13:43
2025-05-23 14:01
热门教程
- 游戏攻略
- 安卓教程
- 苹果教程
- 电脑教程
热门话题

