领克10 EV双电机四驱版申报信息曝光,性能参数详解
3月14日,网易汽车最新消息,在一期新车申报目录中,领克10 EV的申报信息赫然现身。新车型的亮相,也意味着在售的领克Z10将正式更名为领克10 EV。相较于之前的Z10版本,此次申报的领克10 EV在外观细节上做了些许优化,并且将新增一款主打性能的双电机四驱版本,同时还会提供一些凸显运动风格的套件。
免费影视、动漫、音乐、游戏、小说资源长期稳定更新! 👉 点此立即查看 👈

从申报图来看,新车在前脸造型上做了一定的改进,前包围的进气口面积更大,采用了三段式设计,中间位置安放了其毫米波雷达,两侧还配有矩形的散热风道。新车灯组依旧采用贯穿式设计,并搭配闪电造型的LED日间行车灯,车顶的激光雷达得以保留。

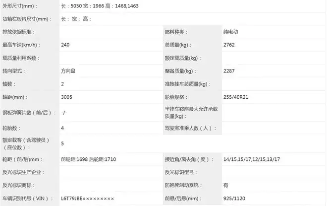
车身侧面,新车整体轮廓变化不大,但配备了半隐藏式的车门把手。轮圈方面,后驱版本提供19英寸与21英寸可选,而四驱版本则标配21英寸轮圈与多活塞制动卡钳。车身尺寸方面,新车长宽高分别为5050/1966/1468mm,轴距为3005mm。

在尾部,新车配备有电动开合的后扰流板,尾灯组依然是贯穿式设计并带有向外突出的立体造型,此外,后包围的样式也更加运动化。值得一提的是,得益于性能版的加持,新车也拥有一些可选装的个性套件方案,比如不同样式的轮毂、后尾翼、带扩散器的后保险杠等。



此外,新车还将配备Thor U芯片,以提升驾驶辅助能力。动力方面,新车将升级为900V架构,并推出两个后驱版本与一个四驱版本。其中,后驱版电机功率分别为300kW和370kW,而四驱版本则配备前后双电机,系统综合功率达到680千瓦。
游乐网为非赢利性网站,所展示的游戏/软件/文章内容均来自于互联网或第三方用户上传分享,版权归原作者所有,本站不承担相应法律责任。如您发现有涉嫌抄袭侵权的内容,请联系youleyoucom@outlook.com。
同类文章
Java序列化中ObjectStreamField自定义字段控制详解
ObjectStreamField是描述序列化字段的元信息载体。通过声明serialPersistentFields数组并确保字段名、类型、顺序与类定义严格一致,可控制序列化字段。字段不匹配会导致静默反序列化失败。配合writeObject readObject方法可实现动态控制。应避免使用isUnshared、getOffset等底层方法。
实时操作系统RTOS线程调度与Java强实时变量处理对比分析
实时操作系统(RTOS)通过优先级调度和中断机制确保微秒级确定性,而Java因垃圾回收、同步延迟和内存分配不确定性,难以满足强实时场景的严格时间要求,因此这类系统通常将核心逻辑交由RTOS处理。
Java并行流性能优化CollectorsgroupingByConcurrent方法详解
Collectors groupingByConcurrent专为无需保持插入顺序、高并发写入的场景设计,能显著提升并行流分组性能。其底层通过所有线程直接写入同一个ConcurrentHashMap,避免了普通groupingBy的合并开销。适用于日志聚合、实时统计等高吞吐任务,但不适用于要求分组顺序的场景。使用时必须搭配并行流,且不支持自定义有序Map。在
循环队列数组实现详解头尾指针操作与取模运算实战指南
循环队列通过数组实现,核心在于头尾指针的职责与取模运算。front指向队首,rear指向下一个空位,移动时需取模以确保回环。判空条件为front等于rear,判满则需牺牲一个存储单元。入队和出队操作后需立即取模,避免越界。动态内存管理时需注意分配与释放顺序,防止内存泄漏。
ThinkPHP入口文件配置参数修改与环境变量动态加载指南
在ThinkPHP框架中动态调整数据库连接等配置参数,是许多开发者实现多环境部署的核心需求。然而,你是否曾遇到这样的困境:在入口文件中修改了配置值,刷新页面后却发现更改并未生效?这通常源于对框架配置加载机制的理解偏差。 本文将深入解析ThinkPHP配置生效的唯一正确路径,帮助你彻底规避“本地测试通
- 日榜
- 周榜
- 月榜
1
2
3
4
5
6
7
8
9
10
1
2
3
4
5
6
7
8
9
10
相关攻略
2015-03-10 11:25
2015-03-10 11:05
2021-08-04 13:30
2015-03-10 11:22
2015-03-10 12:39
2022-05-16 18:57
2025-05-23 13:43
2025-05-23 14:01
热门教程
- 游戏攻略
- 安卓教程
- 苹果教程
- 电脑教程
热门话题

