苹果Vision Pro头显模块化专利曝光,要续航还是体验由你定
苹果新专利揭秘:未来Vision Pro或走向模块化设计
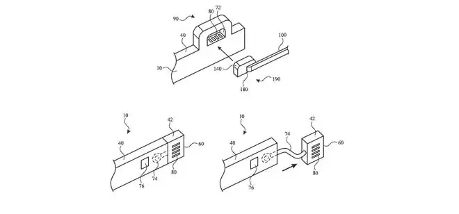
近日,一项获得批准的苹果专利文件,为下一代头戴式显示设备的发展方向提供了极具启发性的线索。这份长达28页、名为《可连接配件的头戴式设备》的专利,核心揭示了一个清晰的趋势:未来的头显(如Vision Pro)可能将彻底告别将所有硬件功能固化于一体的传统形态,转而演变为一个高度灵活、可扩展的开放式平台。用户将能根据自身特定需求,如同组合积木一般,通过连接不同的功能配件模块,来自由定制和升级设备能力。
免费影视、动漫、音乐、游戏、小说资源长期稳定更新! 👉 点此立即查看 👈

这一模块化设计理念,精准地回应了当前高端头显普遍面临的核心挑战——如何在设备重量、佩戴舒适度与电池续航能力之间找到最佳平衡点。专利中描绘的应用场景极具实用性:若用户优先考虑轻便体验,可选择安装小容量电池模块以减轻整体负重;反之,对于需要长时间户外使用或进行沉浸式工作的用户,则能便捷地更换为大容量电池模组。甚至,为了追求极致的续航表现,用户还可以选择搭载一块低功耗、低分辨率的显示屏模块。将硬件配置的自主选择权交还给用户,无疑是解决不同使用场景和个性化需求矛盾的创新思路。

模块化架构所开启的可能性,远远超越了个人消费电子领域。专利文件特别强调,设备主体将配备高带宽的数据连接接口,这将允许第三方制造商或专业机构开发各类专用功能模块。这意味着,未来在医疗健康(如体征监测、眼科筛查)、工业设计与精密制造(如3D建模、远程协作)、科研教育等专业领域,专用的高精度传感器、专业级摄像头或特殊交互设备,均可通过标准化接口与头显无缝连接,从而开拓出极具潜力的企业级与行业应用市场。
从商业生态视角审视,这实质上是一种“按需定制”与深度配件生态化的战略。尽管苹果尚未为Vision Pro系列建立类似“MFi”(Made for iPhone)的官方配件认证计划,但一旦其硬件接口与开发标准对外开放,设备的应用边界和市场价值必将得到指数级拓展。深入分析专利设计图可以发现,未来的头显主体可能将大幅简化,其核心角色是提供一个稳固的物理框架、可靠的机械锁定结构以及高速的数据通信总线,而所有的计算、感知、显示与交互功能,都将由用户自主选配的模块化组件来实现。这或许正预示着“可穿戴智能设备”这一概念的终极演进形态。
游乐网为非赢利性网站,所展示的游戏/软件/文章内容均来自于互联网或第三方用户上传分享,版权归原作者所有,本站不承担相应法律责任。如您发现有涉嫌抄袭侵权的内容,请联系youleyoucom@outlook.com。
同类文章
首次,我国科学家手搓“类球状闪电”!
球状闪电:百年谜题迎来决定性实验证据 球状闪电,堪称自然界最神秘的电磁现象。从法拉第到特斯拉,无数科学家试图揭开它的面纱,相关理论假说层出不穷。然而,一个核心难题始终悬而未决:缺乏可重复、可精确诊断的实验验证。这就像一场持续百年的科学辩论,缺少那枚一锤定音的关键证据。 如今,这一局面迎来了突破性进展
Starlink中断扰乱无人机测试 暴露五角大楼对SpaceX依赖加深
Starlink中断事件警示:美军过度依赖SpaceX或成战略隐患 SpaceX正朝着估值可能突破2万亿美元的IPO目标迈进,其在全球商业航天与卫星通信领域的领导地位看似稳固。然而,近期曝光的军方测试细节却揭示了一个潜在危机:美国国防部对其核心服务“星链”(Starlink)的深度依赖,正逐渐转化为
一杯16.9元的椰子蛋,暴露了瑞幸最狠的生意经
瑞幸营销策略洞察:比基金经理选股更精准的品牌打法 近期,瑞幸咖啡的营销动作接连引发市场关注。先是巧妙复刻了罗永浩经典的“中杯”对话场景,随后又借力生椰拿铁上市五周年这一关键节点,邀请被网友誉为“含椰量”最高的代言人陶喆,成功引爆社交话题。 回顾2019年,生椰拿铁的诞生几乎重塑了中国现制咖啡市场的品
上市首亏巨压下,一彬科技半年砸2.6亿“押注”半导体
主业持续亏损,半导体投资成转型关键 上市第三年即交出首份年度亏损报告,汽车零部件制造商一彬科技(001278 SZ)正面临严峻的经营压力。为扭转主营业务疲软的困局,公司正将战略目光投向一个技术壁垒高、前景广阔的领域——半导体产业。 3月17日的最新公告显示,公司计划动用1 6亿元自有资金,投资目前仍
孙逢春院士谈特斯拉:电池设计大胆,我们因安全考量而“不敢”仿效
新能源汽车技术路线解析:安全与续航如何平衡? 谈到新能源汽车品牌,特斯拉以其高端市场定位和出色的续航表现,始终是行业关注的焦点。一个常被讨论的问题是:为什么拥有完整产业链和研发实力的中国车企,在综合续航里程上似乎仍与特斯拉存在一定差距?中国工程院院士孙逢春在一次行业交流中,点出了一个关键视角——特斯
- 日榜
- 周榜
- 月榜
1
2
3
4
5
6
7
8
9
10
1
2
3
4
5
6
7
8
9
10
相关攻略
2015-03-10 11:25
2015-03-10 11:05
2021-08-04 13:30
2015-03-10 11:22
2015-03-10 12:39
2022-05-16 18:57
2025-05-23 13:43
2025-05-23 14:01
热门教程
- 游戏攻略
- 安卓教程
- 苹果教程
- 电脑教程
热门话题

