Apple Vision Pro新专利曝光:将实现按需定制与组件更换
苹果正酝酿一款“可自定义”的Vision Pro,核心框架支持模块化拼装
一则来自供应链和专利领域的消息,引起了科技圈的关注。4月8日,有外媒报道指出,苹果似乎并不满足于当前的一体化设计思路,其正在深入探索如何打造一款高度可自定义的Apple Vision Pro。未来的VR/AR头显,用户或许能像升级电脑一样,根据自己的具体需求,灵活更换电池、头显框架乃至更多核心组件。
免费影视、动漫、音乐、游戏、小说资源长期稳定更新! 👉 点此立即查看 👈

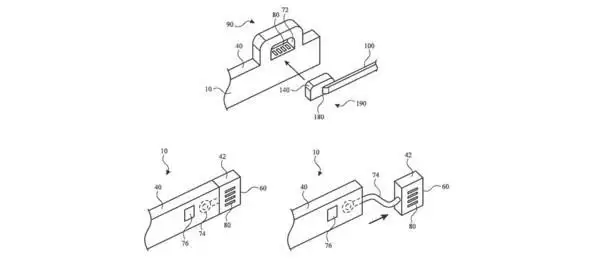
这份猜测并非空xue来风,其依据正来源于苹果最新获得的一项授权专利——“可连接配件的头戴式设备”。专利文件透露的核心思想非常明确:下一代Apple Vision Pro的主体部分,或许无需再集成用户未来可能需要的所有永久性功能。取而代之的,是一种更为灵活的思路:头戴式设备将作为一个基础平台,通过一个或多个配件接口来实现功能扩展与深度自定义。简单来说,用户能够在不同使用场景下,便捷地连接专用配件或外部设备,从而获得截然不同的组件与功能体验。
按需切换:从高分辨率屏幕到长续航电池
那么,这种模块化具体会如何实现呢?根据专利描述,未来的Apple Vision Pro很可能支持一种“按需定制、随时更换”的组件模式。专利中举了一个非常贴切的例子:同一位用户在不同场景下,需求会动态变化。比如,在家享受沉浸式影音或游戏时,用户自然会追求极致的高分辨率屏幕;而出门在外,移动办公或长途旅行中,设备的续航能力就成为了更优先的考量。模块化设计,正是为了无缝应对这种需求转换而生的。

相关报道
商业逻辑:付费配件或是更可能路径
当然,商业世界的现实规则同样需要考量。外媒分析认为,苹果不太可能随机附赠一套低分辨率屏幕供用户替换以提升续航,这种“买一得二”的做法并不符合其产品策略。因此,所谓的组件更换,大概率会以付费配件的形态单独发售。这就引出了一个新问题:配件生态由谁主导?
目前,Apple Vision Pro尚未建立起类似“Made for iPhone”那样成熟的第三方配件认证体系。如果后续维持这一现状,那么苹果很可能选择亲自操刀,仅推出由自己设计的最新配件,从而构建一个类似iPad智能接口那样的封闭但高效的专属生态。无论如何,这都意味着配件将成为体验升级的关键一环。

未来形态:一个主体框架,无限扩展可能
无论最终配件生态是开放还是封闭,模块化设计的方向似乎已经清晰。这意味着未来的Apple Vision Pro,将从一个完全封装的设备,转变为一个以主体框架为核心、可外接各类功能组件的“平台”。专利文件中展示的多张设计图也印证了这一点,详细描绘了设备与主体框架之间多种可能的结构与电气连接方式。可以预见,一旦此构想落地,XR设备的个性化与专业化程度,将迈上一个全新的台阶。
游乐网为非赢利性网站,所展示的游戏/软件/文章内容均来自于互联网或第三方用户上传分享,版权归原作者所有,本站不承担相应法律责任。如您发现有涉嫌抄袭侵权的内容,请联系youleyoucom@outlook.com。
同类文章
PC市场最冷的寒冬!德国CPU销量降至历史最低:消费者不买了
德国零售商CPU周销量创历史新低,市场观望情绪浓厚 最近,从德国知名零售商Mindfactory流出的一份销售数据,透露了DIY市场一个颇为关键的信号:2026年第13周的桌面处理器销量,跌到了一个前所未有的冰点。 这背后的原因不难理解。当CPU、GPU、内存这几大件价格同步走高时,普通消费者的升级
曝国内所有安卓大厂4月全涨价!新老产品都会涨
国内最后一家安卓大厂也顶不住了,主流厂商全线涨价到来 手机圈传来一则重磅消息。根据行业博主的爆料,国内最后一家尚未明确调价的安卓头部厂商,基本确定将从4月起加入涨价行列,覆盖范围包括已上市的老机型以及后续发布的新品。至此,安卓阵营销量前五的主流品牌,已经全部踏入了“全线涨价”的周期。这无疑是一个标志
雷蛇AVA Mini正式发布!全球首款AI伴侣设备
电竞外设巨头雷蛇正式推出全球首款 AI 伴侣设备 电竞外设领域的风向标,雷蛇(RAZER),这回又带来了一个让人眼前一亮的新玩意。就在最近,他们正式官宣了全球首款AI伴侣设备——Razer A VA Mini。这可不是简单的硬件更新,而是一次对“伙伴”概念的重新定义。 根据官方披露的信息,A VA
华 为推出鸿蒙版龙虾/小米YU7 GT实车曝光/苹果拟引入长江存储
今日要闻速览 一口气看了十件科技圈大事,咱们直接切入正题,以下是今日不容错过的关键动态: 1、苹果拟引入长江存储为国行iPhone供货,破解韩系垄断 2、TCL 与索尼收购案落地,成立合资公司 Bra via Inc 3、华 为鸿蒙手机能养龙虾了!小艺 Claw 开启众测 4、Claude Code
1375元!大屏超帅新掌机 爽玩卡带
Evercade官宣全新便携主机Nexus:大屏与3D游戏适配,复古掌机的全面升级 继小型掌机之后,Evercade这次带着一款“大家伙”来了。全新便携主机Nexus正式官宣,核心卖点直指大屏体验与对3D游戏的适配支持,可以说,这是对复古掌机体验的一次全方位迭代。 升级首先体现在视觉上。Nexus配
- 日榜
- 周榜
- 月榜
1
2
3
4
5
6
7
8
9
10
相关攻略
2015-03-10 11:25
2015-03-10 11:05
2021-08-04 13:30
2015-03-10 11:22
2015-03-10 12:39
2022-05-16 18:57
2025-05-23 13:43
2025-05-23 14:01
热门教程
- 游戏攻略
- 安卓教程
- 苹果教程
- 电脑教程
热门话题

