Switch 2新专利曝光:钓鱼配件实现真实一摇一拉操作体验
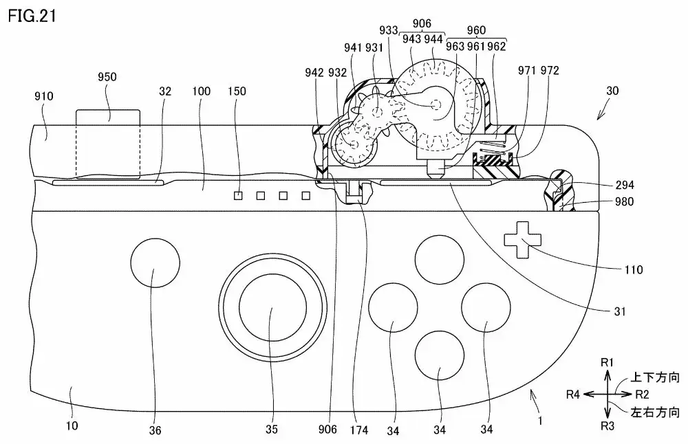
8 月 9 日消息,科技媒体 Engadget 今天(8 月 9 日)发布博文,报道称任天堂获批一项新的专利,探索为未来 Switch 游戏掌机添加 Playdate 风格的手摇曲柄(Hand Crank)配件。
免费影视、动漫、音乐、游戏、小说资源长期稳定更新! 👉 点此立即查看 👈



根据专利描述,该配件无需额外电源或复杂结构,类似腕带安装方式,通过磁吸方式连接至 Joy-Con 手柄侧边。这一配件能追踪用户的旋转操作,将物理转动转化为游戏输入信号,为玩家提供更直观的操控体验。
该曲柄的核心技术依赖于 Joy-Con 2 手柄内置的鼠标传感器,在用户转动手柄上的曲柄后,传感器可精确捕捉其旋转速度与方向,控制游戏角色或机制。虽然专利未明确指出具体应用场景,但分析认为,钓鱼小游戏是最直接的适配对象。
另一项相关专利则展示了一种可点击的滚轮装置,外形类似打火机,同样可吸附于 Joy-Con 2,该配件在滑动使用时可增强鼠标控制的摩擦感,甚至模拟阻力反馈,提升操作沉浸感。附上相关图片如下:



游乐网为非赢利性网站,所展示的游戏/软件/文章内容均来自于互联网或第三方用户上传分享,版权归原作者所有,本站不承担相应法律责任。如您发现有涉嫌抄袭侵权的内容,请联系youleyoucom@outlook.com。
同类文章
玄派玄机 16 2026 笔记本电脑上架:AMD 锐龙 AI Max+ 395,128GB + 2TB
玄派玄机 16 2026 笔记本电脑上架:AMD 锐龙 AI Max+ 395,128GB + 2TB 来了,一款瞄准专业创作和重度计算场景的移动工作站新鲜出炉。4月6日消息,玄派旗下的Metaphyuni系列新品——玄机16 2026笔记本电脑已经正式上架。其核心配置相当惹眼,直接搭载了AMD顶级
内存疯涨三星赚翻了!Q1利润暴涨600%以上 还得继续涨
存储芯片价格持续上涨,行业格局迎来深刻调整 近期存储芯片市场的普遍涨价,给众多下游电子厂商带来了显著的成本压力。与此同时,智能手机、个人电脑等终端产品全年出货量面临下滑,已成为业界共识。然而,市场格局往往是动态平衡的,对于三星电子这样的半导体巨头而言,当前的市场环境可谓机遇难得——公司第一季度盈利表
Meta 为雷朋 Display 智能眼镜推出第二个重大更新:新增营养追踪、聊天消息摘要、屏幕录制功能...
Meta 为雷朋智能眼镜推出第二代重要升级:新增营养追踪、消息摘要与高清屏幕录制功能 Meta 近日向旗下与雷朋联名研发的智能眼镜——Ray-Ban Meta 正式推送了第二次重大软件更新。此次升级并非无关痛痒的小修小补,而是新增了多项实用功能,例如基于AI视觉的实时营养分析、WhatsApp聊天智
OPPO A6k 手机上市:天玑 6300 + LCD 直屏 + 7000mAh 电池,定价 1999 元起
OPPO A6k手机重磅发布:天玑6300处理器、高清LCD直屏、7000mAh超大电池,售价仅1999元起 OPPO旗下广受欢迎的A系列再添实力新机。近日,备受期待的OPPO A6k正式上市发售。这款新品搭载了备受好评的天玑6300八核处理器,并配备了一块容量高达7000mAh的耐用长寿电池,成为
天钡 MACO 255 迷你主机发售:双 2.5G 网口,24GB 内存无硬盘版本 2899 元
天钡 MACO 255 迷你主机正式开售:搭载双2 5G网口与大容量板载内存,准系统版仅售2899元 迷你主机市场迎来高性价比新选择。天钡最新推出的MACO 255机型,凭借独特的硬件组合吸引了广泛关注。其核心搭载了AMD锐龙7 H 255移动处理器,并创新性地板载了24GB LPDDR5-6400
- 日榜
- 周榜
- 月榜
相关攻略
2015-03-10 11:25
2015-03-10 11:05
2021-08-04 13:30
2015-03-10 11:22
2015-03-10 12:39
2022-05-16 18:57
2025-05-23 13:43
2025-05-23 14:01
热门教程
- 游戏攻略
- 安卓教程
- 苹果教程
- 电脑教程

