微软专利揭秘AI增强剪贴板:智能格式转换与代码生成技术

免费影视、动漫、音乐、游戏、小说资源长期稳定更新! 👉 点此立即查看 👈
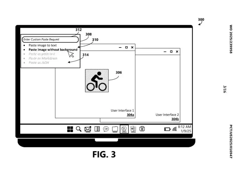
本月17日,一份公开的专利文件显示,微软正在为其Windows系统剪贴板推出一项技术革新方案,旨在为传统的复制粘贴功能深度整合人工智能能力。这份由美国专利商标局公布的专利,揭示了一种具备数据暂存与智能处理能力的新型剪贴板架构。
与传统剪贴板不同,这项技术允许用户在粘贴前对复制的信息进行智能化调整。系统可通过AI实现内容的版本转换或格式重构,因而被外界视为当前具备高度实用性的人工智能应用方向之一。借助它,普通用户可以快速去除图片背景,方便地制作贴纸或演示材料;专业用户则能将文本内容自动转化为结构化表格,甚至生成符合网页标准的HTML代码。
此外,这套系统还支持多种编程语言间的相互转换,并允许用户输入自定义指令,例如“将此段落改为项目符号列表”,从而获得完全符合需求的输出结果。在执行最终粘贴操作前,用户可以预览所有AI处理后的选项,有效避免了因频繁切换不同应用程序或调用独立AI工具所带来的操作负担。
尽管专利内容尚未确认会直接出现在未来发布的正式系统版本中,但类似功能已在微软推出的开源工具集PowerToys中初现端倪。这项名为“高级粘贴”的功能,由Windows开发团队主导设计。安装PowerToys后,用户可通过快捷键“Win + Shift + V”调用增强型粘贴界面。目前,基础的文本格式转换已可直接使用,而更深层次的AI驱动功能则需在设置中接入OpenAI API密钥方可启用。
游乐网为非赢利性网站,所展示的游戏/软件/文章内容均来自于互联网或第三方用户上传分享,版权归原作者所有,本站不承担相应法律责任。如您发现有涉嫌抄袭侵权的内容,请联系youleyoucom@outlook.com。
同类文章
探秘第四代高能同步辐射光源HEPS限时打卡指南
在粒子物理与核探测技术领域,要捕捉并解析那些瞬息即逝的基本粒子和高能射线,必须依赖一种特殊的“感知之眼”——粒子探测器。而构成这双“眼睛”最核心的感光部件,往往是一块块高度纯净、性能卓越的人工闪烁晶体。这类晶体能够将高能粒子或射线所携带的能量,高效转换为可供记录与分析的光信号,从而成为现代高能物理实
杭州街道遭电商抵制背后:无理由退货引发的规则博弈
近期,杭州萧山区盈丰街道被国际奢侈品牌圣罗兰列入“发货黑名单”的消息,在电商圈内引发广泛关注。业内人士分析,这很可能是商家针对特定区域恶意退货率持续偏高所采取的无奈之举。事实上,将某个地区甚至具体街道设置为限制发货区域,在技术层面已十分成熟,且近期类似操作已在全国多地悄然出现。 有电商经营者透露,尽
莫氏鸡煲为何开业仅一月就客流锐减无人排队
流量时代的风口,生命周期往往短得惊人,能撑过三个月都算幸运儿。这背后,是注意力经济的残酷法则。 不知道各位还记不记得,一个月前全网刷屏的那家“最不想火的鸡煲店”?当时,老板老莫对着镜头直言味道一般,劝大家别跟风,甚至贴出告示提醒“喝汤可能拉肚子”。结果呢?这股“爱来不来”的桀骜劲儿,反而引爆了网络,
谷歌披露黑客利用AI开发零日漏洞攻击工具
谷歌安全团队近期披露了一起具有里程碑意义的网络攻击事件:一个网络犯罪组织利用人工智能技术,成功开发出一款能够自动探测并试图利用某款主流系统管理软件中未知安全漏洞的黑客工具。 这起事件的性质远超普通网络攻击。根据谷歌发布的详细报告,这是全球首次有确凿证据证实,人工智能被直接用于生成针对“零日漏洞”的自
2030年车企生死线:300万辆销量成行业新基准
当北京车展的聚光灯聚焦于新车发布时,一场关于未来生存法则的深度思考,正在行业内部引发广泛共鸣。 就在许多车企仍在为年度销量目标奋力冲刺之际,长安汽车已将战略视野投向了更具决定性的2030年。在中国长安汽车集团总裁赵非看来,那并非一个遥远的未来,而是一道严峻的行业“分水岭”。他近期明确提出了判断车企生
- 日榜
- 周榜
- 月榜
1
2
3
4
5
6
7
8
9
10
1
2
3
4
5
6
7
8
9
10
相关攻略
2015-03-10 11:25
2015-03-10 11:05
2021-08-04 13:30
2015-03-10 11:22
2015-03-10 12:39
2022-05-16 18:57
2025-05-23 13:43
2025-05-23 14:01
热门教程
- 游戏攻略
- 安卓教程
- 苹果教程
- 电脑教程
热门话题

