宝马蓝天白云防篡改螺丝专利技术解读与申请要点

免费影视、动漫、音乐、游戏、小说资源长期稳定更新! 👉 点此立即查看 👈
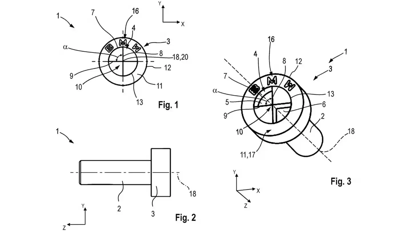
十二月十九日有消息显示,通过查阅欧盟知识产权局的公开资料,发现宝马公司提交了一项新型紧固件的专利申请。该专利涉及一种头部造型与品牌标志性“蓝天白云”图案高度一致的防篡改螺丝。
与常规的一字、十字或六角头螺丝不同,这款螺丝的顶部直接以品牌圆形标识为基础进行结构设计。其独特之处在于,标志中的四个扇形区域被功能性划分:其中两个为可受力凹槽,用于工具嵌入与扭矩传递,另外两个则保持与表面齐平,不参与受力。此外,边缘部分还设有精细刻印的品牌名称。
此项设计不仅具有视觉识别上的考量,更侧重于技术防护功能。专利文件指出,这种非对称且特化的内部凹槽结构能够有效阻止使用标准通用工具对螺丝进行拧紧或拆卸操作。其实际效果是限制未经授权的第三方对车辆关键部件进行维护或更换。
这意味着,无论是普通车主还是独立维修机构,若未配备由厂商专门提供的配套工具,将难以对该类紧固件实施有效操作。由此带来的结果是,相关维修工作被引导至原厂授权服务体系内完成。
根据专利说明,此类螺丝拟应用于车内可观察到的结构性连接位置。具体示例包括座椅固定点,以及驾驶舱组件与车身主承重结构之间的连接区域。这些部位通常需要承受较高的装配扭矩,因而对紧固可靠性要求较高。
由于该螺丝的受力区域被标识图形分割,实际接触面积有限,同时外围还带有装饰性环状结构,若尝试采用非匹配工具强行拆装,极有可能造成螺丝滑牙或操作工具损坏。这一特性进一步强化了其防篡改属性。
图片来自最新专利附图。
游乐网为非赢利性网站,所展示的游戏/软件/文章内容均来自于互联网或第三方用户上传分享,版权归原作者所有,本站不承担相应法律责任。如您发现有涉嫌抄袭侵权的内容,请联系youleyoucom@outlook.com。
同类文章
怎么连黑色款都没有!iPhone18Pro新配色登场
iPhone 18 Pro系列前瞻:设计、芯片与影像的确定性升级 进入下半年,科技圈的聚光灯,无疑将再次聚焦于苹果的年度旗舰。最新信息显示,iPhone 18 Pro系列的节奏已然清晰:计划于7月启动量产,并在9月如期亮相。与时间表一同明确的,是新机在配色、外观与核心硬件上将迎来的一系列关键调整。
天价内存逼出狠活!老外魔改无内存PC成功运行
内存价格飙升,电脑不装内存条还能开机吗?极限测试揭示真相 近期内存市场价格持续攀升,令许多用户开始思考各种替代方案的可能性。一位名为PortalRunner的技术博主进行了一场大胆实验:如果电脑完全不安装任何内存模组,究竟能否成功启动?其运行状态又会如何? 实验平台选用了一套经典硬件组合:华擎品牌主
酷态科 CP 户外风扇新增「暮山紫」「曜石黑」配色,69 元
酷态科CP户外风扇新增两款配色,持续拓展户外场景 4月3日,酷态科正式为其CP户外风扇产品线添上了“暮山紫”与“曜石黑”两款新色。目前,这两款新配色产品已在京东平台上架,售价维持在了69元。 京东酷态科 CP 超级户外风扇 69 元直达链接 从官方发布的信息来看,这款风扇的核心性能配置颇有看点。其采
荣耀 X80i 手机预售:金属中框 + 7000mAh 电池,1999 元起
荣耀 X80i 开启预售:续航与质感的新答案,1699元起 千元机市场的竞争,总在看似平静中迎来新的变局。4月2日,荣耀X80i正式开启全渠道预售,并将于4月10日全渠道开售。官方建议零售价为1999元起,但结合当前正在进行的“数码家电政府补贴”,到手价可直接下探到1699 15元起,性价比的门槛被
小米推出 2026 款 REDMI G27Q 27 英寸显示器:2K 320Hz、双 DP 2.1,1299 元
小米发布2026款Redmi G27Q 27英寸电竞显示器:2K 320Hz高刷、双DP 2 1接口,首发价1299元 近日,小米旗下品牌Redmi悄然在京东平台上架了全新2026款G27Q电竞显示器。作为一款主打高性价比的电竞装备,这款27英寸显示器核心亮点在于搭载了2K高清分辨率与320Hz极致
- 日榜
- 周榜
- 月榜
相关攻略
2015-03-10 11:25
2015-03-10 11:05
2021-08-04 13:30
2015-03-10 11:22
2015-03-10 12:39
2022-05-16 18:57
2025-05-23 13:43
2025-05-23 14:01
热门教程
- 游戏攻略
- 安卓教程
- 苹果教程
- 电脑教程

