宝马新专利:车载触屏增设触感条提升盲操精准度与安全
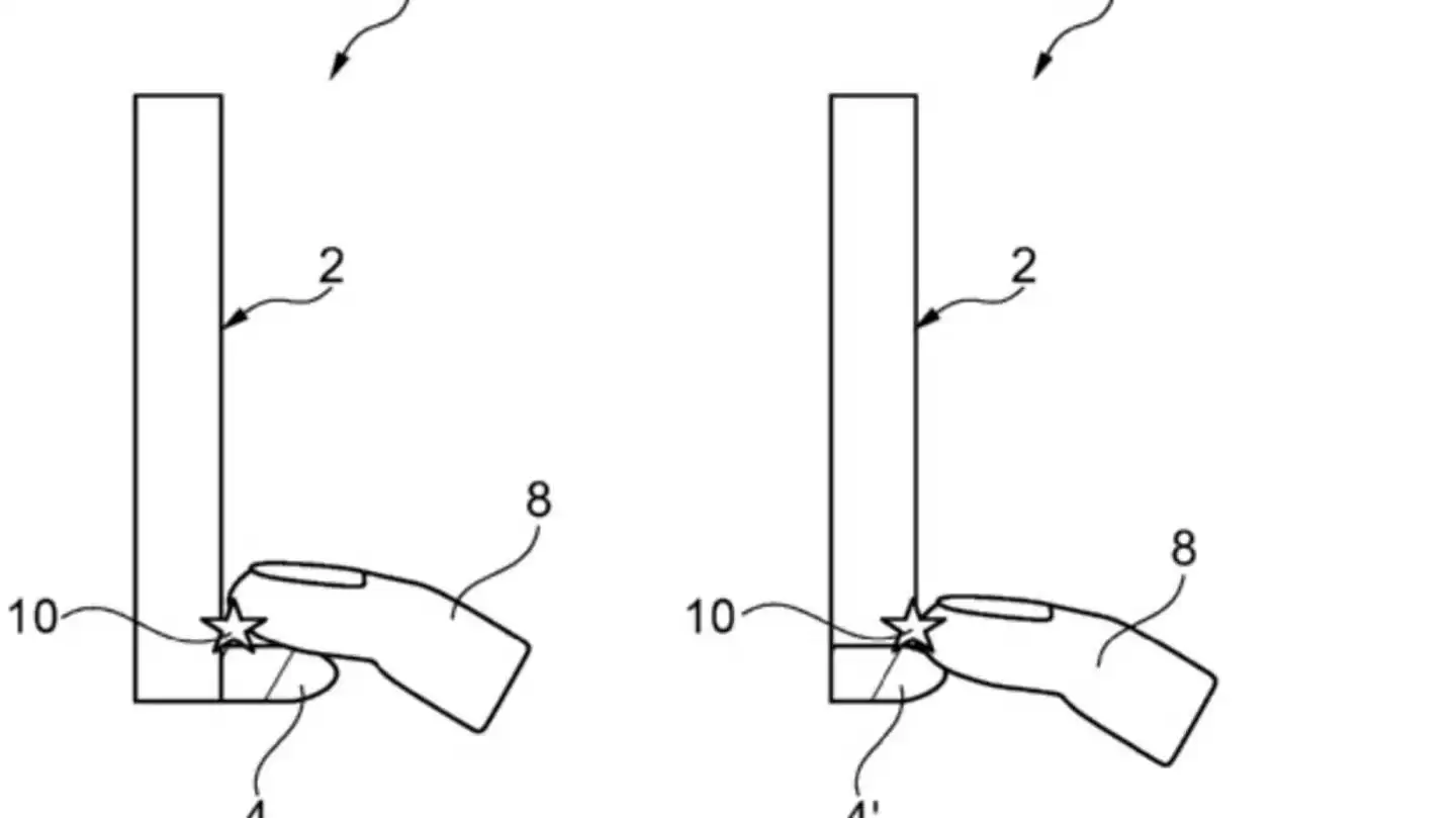
近日,科技媒体报道了宝马汽车的一项创新专利,这项技术旨在攻克车载大屏交互中的两大痛点:盲操不便与误触隐患。通过在屏幕边缘集成微型“触控感应条”,该专利为驾驶者提供了物理定位辅助,重新定义了全触控交互的安全标准和便利体验。
免费影视、动漫、音乐、游戏、小说资源长期稳定更新! 👉 点此立即查看 👈

如今,车载信息娱乐系统普遍采用全触控设计,虽然功能集成度显著提升,但因缺乏实体反馈,迫使驾驶者不得不频繁转移视线以确认操作。尤其在颠簸路面行驶时,手指晃动极易引发误触,成为行车安全的重要隐患。宝马此次专利打破了传统设计思维,在屏幕底部或侧面嵌入了仅数毫米厚的感应条,它既不遮挡显示区域,又形成了稳定的“手指支撑区”。
该感应条表面采用特殊凹槽设计,与屏幕虚拟按键形成空间映射关系。这种布局灵感源于传统机械按键的触觉记忆,用户通过指尖触感即可快速定位功能区域,无需持续注视屏幕。例如,当您想调节空调温度时,手指可沿感应条滑动至预设凹槽位置,系统便能立即识别并执行对应指令。

为了进一步提升操作确定性,专利技术还构建了多模态反馈系统。当手指触碰感应条并完成指令输入时,系统会通过震动、音效与屏幕视觉提示进行三重确认。这种设计尤其适用于驾驶场景——震动反馈让用户无需目视即可感知操作成功,有效避免了因视线分散带来的安全隐患。测试数据显示,该技术能将盲操准确率提升至92%以上,同时减少约60%的视线转移时间。
行业分析师指出,宝马此项专利精准把握了智能座舱发展的关键矛盾:如何在保持科技感的同时,确保基础交互的可靠与直觉。随着车载屏幕尺寸持续扩大,物理定位辅助或将成为高端车型的标配解决方案。目前该技术已进入工程验证阶段,预计将在未来两年内实现量产应用。
游乐网为非赢利性网站,所展示的游戏/软件/文章内容均来自于互联网或第三方用户上传分享,版权归原作者所有,本站不承担相应法律责任。如您发现有涉嫌抄袭侵权的内容,请联系youleyoucom@outlook.com。
同类文章
vivo X300 Ultra 手机维修备件价格公布:屏幕优惠价 1320 元,主板 3300 元起
vivo X300 Ultra维修价格出炉:看懂这份“后期养护”清单 vivo X300 Ultra昨天正式开卖,作为一款搭载了第五代骁龙8至尊版和蔡司大师镜头群的旗舰,6999元起的售价彰显了它的定位。新机到手,除了性能与影像,它的“后期养护”成本也成了不少用户关心的重点。这不,官方维修备件价格已
玄派玄机 16 2026 笔记本电脑上架:AMD 锐龙 AI Max+ 395,128GB + 2TB
玄派玄机 16 2026 笔记本电脑上架:AMD 锐龙 AI Max+ 395,128GB + 2TB 来了,一款瞄准专业创作和重度计算场景的移动工作站新鲜出炉。4月6日消息,玄派旗下的Metaphyuni系列新品——玄机16 2026笔记本电脑已经正式上架。其核心配置相当惹眼,直接搭载了AMD顶级
内存疯涨三星赚翻了!Q1利润暴涨600%以上 还得继续涨
存储芯片价格持续上涨,行业格局迎来深刻调整 近期存储芯片市场的普遍涨价,给众多下游电子厂商带来了显著的成本压力。与此同时,智能手机、个人电脑等终端产品全年出货量面临下滑,已成为业界共识。然而,市场格局往往是动态平衡的,对于三星电子这样的半导体巨头而言,当前的市场环境可谓机遇难得——公司第一季度盈利表
Meta 为雷朋 Display 智能眼镜推出第二个重大更新:新增营养追踪、聊天消息摘要、屏幕录制功能...
Meta 为雷朋智能眼镜推出第二代重要升级:新增营养追踪、消息摘要与高清屏幕录制功能 Meta 近日向旗下与雷朋联名研发的智能眼镜——Ray-Ban Meta 正式推送了第二次重大软件更新。此次升级并非无关痛痒的小修小补,而是新增了多项实用功能,例如基于AI视觉的实时营养分析、WhatsApp聊天智
OPPO A6k 手机上市:天玑 6300 + LCD 直屏 + 7000mAh 电池,定价 1999 元起
OPPO A6k手机重磅发布:天玑6300处理器、高清LCD直屏、7000mAh超大电池,售价仅1999元起 OPPO旗下广受欢迎的A系列再添实力新机。近日,备受期待的OPPO A6k正式上市发售。这款新品搭载了备受好评的天玑6300八核处理器,并配备了一块容量高达7000mAh的耐用长寿电池,成为
- 日榜
- 周榜
- 月榜
1
2
3
4
5
6
7
8
9
10
相关攻略
2015-03-10 11:25
2015-03-10 11:05
2021-08-04 13:30
2015-03-10 11:22
2015-03-10 12:39
2022-05-16 18:57
2025-05-23 13:43
2025-05-23 14:01
热门教程
- 游戏攻略
- 安卓教程
- 苹果教程
- 电脑教程

