黄光裕2.23亿股权被冻结,国美转型五年仍陷困局
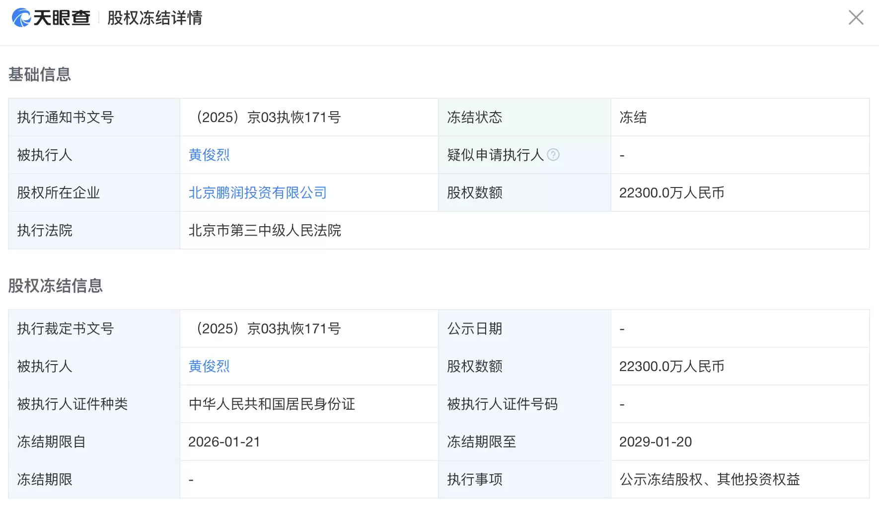
从天眼查获悉,近日黄光裕(黄俊烈)名下新增一则股权冻结信息,涉及企业为北京鹏润投资有限公司,被冻结股权金额高达2.23亿元人民币,冻结期限自2026年1月21日起至2029年1月20日止,执行法院为北京市第三中级人民法院。
免费影视、动漫、音乐、游戏、小说资源长期稳定更新! 👉 点此立即查看 👈

北京鹏润投资有限公司成立于1997年,注册资本2.7亿元,由黄光裕与北京英格润美咨询有限公司共同持股。该公司是国美系资本运作的核心平台,曾主导国美零售以及中关村等上市公司的资本整合,业务还涉足新能源、地产等多个领域,并持有北京国美氢能科技有限公司80%的股权。

值得注意的是,黄光裕旗下的核心资产此前已多次遭遇冻结,这意味着其资本运作的空间正进一步受限。
2024年2月,黄光裕控制的国美零售附属公司股权被冻结,涉及股权金额总计超过5.9亿元人民币,冻结期限自2024年2月16日起至2026年2月16日止。当时国美零售回应称,冻结不会对公司财务状况和经营产生重大影响。同年5月,国美零售有限公司的股权又被广州市天河区人民法院冻结,冻结金额为5504万余元。
而在2025年10月,中关村(国美系A股核心平台)发布公告称,控股股东国美控股集团有限公司及一致行动人国美电器有限公司持有的部分股份被延长司法冻结期限,另有部分股份轮候冻结生效。截至2025年10月,国美控股与国美电器合计持有中关村31.35%的股份,其中超过七成(占总股份22.96%)处于冻结或轮候冻结状态。

国美曾是中国家电零售行业的龙头企业。自2024年黄光裕正式回归后,该公司便开启了一系列转型尝试,从发力线上新零售,到布局社区团购、探索家电租赁,再到尝试直播带货、进军即时零售、涉足汽车销售和氢能市场等,转型方向覆盖线上线下多个领域。然而,多次业务调整均未形成稳定的盈利模式,转型效果未能达到市场预期。
目前,国美仍维持着核心的家电零售主业运作,线下核心门店仍在正常经营,线上国美APP也保持着商品销售与服务功能的基本运行。但整体业务规模较行业巅峰时期已大幅收缩,经营状况持续恶化。
根据国美零售2024年年报,公司全年实现营收4.74亿元,同比下滑26.7%;亏损规模进一步扩大至116.29亿元,较2024年增长15.63%。
资本市场对国美的转型反应冷淡。国美零售股价长期徘徊在0.1-0.3港元区间,2025年累计跌幅达67%,市值较2015年巅峰时期缩水超过90%。
截至今日港股收盘,国美股价报收0.016港元,总市值仅为7.66亿港元。
游乐网为非赢利性网站,所展示的游戏/软件/文章内容均来自于互联网或第三方用户上传分享,版权归原作者所有,本站不承担相应法律责任。如您发现有涉嫌抄袭侵权的内容,请联系youleyoucom@outlook.com。
同类文章
中国联通Al+eSIM云智终端合作方案巴展全球首发
中国联通与GSMA联合发布“AI+eSIM”云智终端全球解决方案 2026年世界移动通信大会(MWC)在西班牙巴塞罗那盛大召开,全球科技行业的焦点于此汇聚。展会期间,一项由中国运营商主导并具备全球视野的创新方案正式发布,为人工智能与通信技术的深度融合揭示了清晰的技术路径与产业前景。 AI与eSIM技
苹果MacBook Neo一砍再砍,把价格砍下来的就是家人?
苹果春季发布会深度解读:史上最便宜MacBook亮相,精准定位轻量级市场 苹果春季新品发布会虽已结束,但引发的讨论热潮不减。本次发布会在笔记本电脑产品线上动作显著,一次性推出多款新品,并首次以“高性价比”策略推出入门级MacBook,旨在开拓更广泛的用户市场。备受瞩目的MacBook Neo起售价定
AI+eSIM落地 中国联通5G AI CPE巴展重磅亮相
“AI+eSIM”云智终端方案正式商用,首批合作项目5G AI CPE成功落地 在MWC 2026世界移动通信大会上,产业合作迎来重大进展。由全球移动通信系统协会(GSMA)与中国联通共同倡导的“‘AI+eSIM’云智终端合作联通方案”正式对外发布,并迅速完成首个商业化项目签约。中国联通联合通则康威
苹果iOS 26.3.1更新 国行版苹果智能依旧缺席
苹果iOS 26 3 1正式版更新详解:专攻外接显示器支持,国行AI功能何时到来? 苹果iOS系统新一轮更新如期而至。本次推送的iOS 26 3 1正式版,与外界预期一致,并非一次功能上的重大迭代。它的定位非常清晰:不追求功能数量的堆叠,而是侧重于“问题修复与体验完善”,旨在通过修补已知漏洞和优化现
泡泡玛特下月将推出以 IP 为核心的衍生小家电产品,消息称由新宝股份代工
泡泡玛特跨界布局小家电赛道,4月首发IP衍生新品,新宝股份确认代工生产 3月25日,泡泡玛特在其2023年度业绩电话会议中宣布了一项重量级业务拓展计划。公司董事长兼CEO王宁披露,将于4月正式推出旗下首条以自有IP为核心的衍生产品线——系列小家电,并计划同步登录京东等主流线上销售渠道。这一动作被视为
- 日榜
- 周榜
- 月榜
相关攻略
2015-03-10 11:25
2015-03-10 11:05
2021-08-04 13:30
2015-03-10 11:22
2015-03-10 12:39
2022-05-16 18:57
2025-05-23 13:43
2025-05-23 14:01
热门教程
- 游戏攻略
- 安卓教程
- 苹果教程
- 电脑教程

