苹果Vision Pro头显新专利:唇语识别实现无声输入
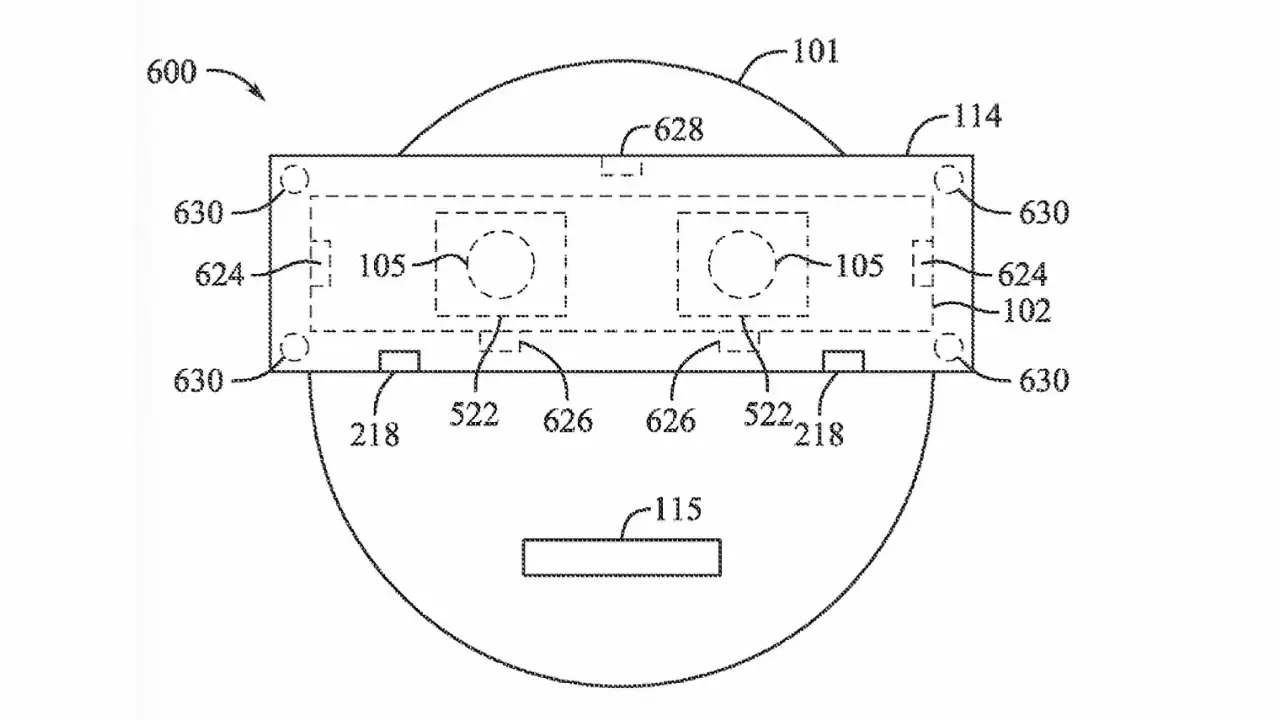
8 月 8 日,科技媒体 AppleInsider 最新报道显示,苹果公司近日获得一项新专利,预示着未来 Vision Pro 头显或将加入唇语识别功能。**用户只需做出唇部动作,无需发出声音,头显便能通过捕捉唇形变化来接收指令。**

根据报道内容,这项专利名为“带有语音输入结构的电子设备”,苹果旨在为佩戴者创造在无法使用语音的场景下,通过读取唇语实现指令输入的可能性。专利文件进一步指出,在需要保持安静、注重隐私或不便发声的环境中,语音输入方式存在一定局限性。

专利说明中还列举了多种传感器组合方案,包括用于捕捉嘴部动作的视觉传感器、检测面部振动或形变的感应器、基于眼球注视选择输入内容的内置摄像头,以及识别确认手势输入的外置摄像头。
游乐网为非赢利性网站,所展示的游戏/软件/文章内容均来自于互联网或第三方用户上传分享,版权归原作者所有,本站不承担相应法律责任。如您发现有涉嫌抄袭侵权的内容,请联系youleyoucom@outlook.com。
同类文章
三星990 PRO 2TB固态硬盘买一送十意外惊喜
一位顾客在亚马逊下单购买一块三星990PRO固态硬盘,却意外收到十块同型号硬盘,总价值约4800美元。此类电商操作失误导致的超额发货事件时有发生,平台通常不要求退回。该用户仅支付了单块硬盘的费用,却获得了一笔意外之财。
AI技术如何重塑广西文旅产业新格局
来源:中国文化报 本报记者 宾 阳 通讯员 莫 曲 “为何来到我们寨嘛?叮咧,叮呀咧!”“翻山蹚水为你来嘛,叮咧,叮呀咧!”近日,在南宁民歌湖畔的风雨桥头,一场别开生面的侗族拦路歌对唱吸引了众多游客。身着盛装的侗族同胞,正与一位数字人“刘三姐”隔空对歌。虚拟与现实在此交融,传统非遗与现代科技碰撞出绚
长征七号火箭纯白涂装亮相 颜值与性能双重提升
5月11日,在海南文昌航天发射场,长征七号遥运载火箭准时点火,托举着天舟十号货运飞船平稳升空,精准送入预定轨道。本次发射任务取得圆满成功,再次彰显了中国航天的高可靠性。 作为我国新一代中型运载火箭,长征七号专为空间站货物运输任务设计,以其高可靠性、高安全性和绿色环保的推进剂而著称。其近地轨道运载能力
天舟十号货运飞船发射圆满成功 中国空间站物资补给再添新力
北京时间2025年5月11日,中国航天事业再次迎来历史性时刻。天舟十号货运飞船由长征七号遥九运载火箭成功发射,在海南文昌航天发射场点火升空,并精准进入预定轨道。此次发射任务取得圆满成功,为中国空间站的常态化运营与物资补给体系,注入了新的强劲动力。 作为中国空间站应用与发展阶段的关键一环,天舟十号货运
中国电子发布全新国产数据库系统
近日,国产数据库领域迎来重大进展。中国电子旗下达梦数据正式推出四款核心新品,涵盖新一代数据库管理系统DM9、新一代数据库一体机DAMENG PAI V2 0、启云数据库V4 0以及图数据库GDMBASE V4 0。此次发布全面覆盖集中式、分布式、云原生、一体机及图数据库等关键应用场景,标志着国产数据
- 日榜
- 周榜
- 月榜
1
2
3
4
5
6
7
8
9
10
相关攻略
2015-03-10 11:25
2015-03-10 11:05
2021-08-04 13:30
2015-03-10 11:22
2015-03-10 12:39
2022-05-16 18:57
2025-05-23 13:43
2025-05-23 14:01
热门教程
- 游戏攻略
- 安卓教程
- 苹果教程
- 电脑教程
热门话题

