智元机器人再度入股具身智能公司Astribot
11月28日,界面新闻通过天眼查获悉,智身科技(北京)有限公司发生工商变更,新增智元机器人关联公司智元创新(上海)科技股份有限公司为股东,同时注册资本由约2132.6万元增至约2149.9万元。
免费影视、动漫、音乐、游戏、小说资源长期稳定更新! 👉 点此立即查看 👈

智身科技(北京)有限公司股东情况数据来源:天眼查
智身科技成立于2024年12月,法定代表人为黄坤,经营范围涵盖智能机器人的研发、物联网设备制造、智能机器人销售、人工智能理论与算法软件开发等多个领域。公开信息显示,该公司在具身智能领域,主要覆盖从核心零部件研发到整机智能制造的全流程。公司现由管明尧、傅建荣、天津海海企业管理咨询合伙企业(有限合伙)及上述新增股东等共同持股。
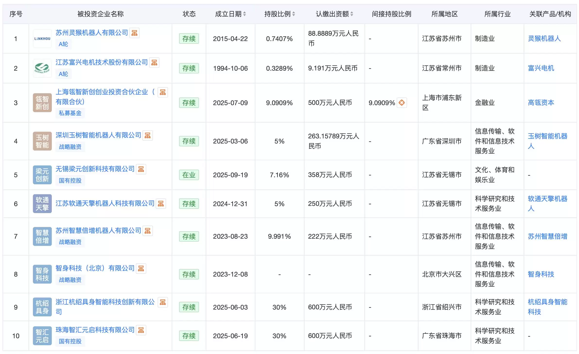
这也是智元机器人对外投资的最新动向,但未公布具体的持股比例。天眼查显示,当前智元机器人直接投资的公司已超过40家,间接对外投资公司12家。

智元机器人部分对外投资情况数据来源:天眼查
智元机器人(AgiBot)是成立于2024年2月的中国智能机器人品牌,隶属于上海智元创新科技有限公司。其由前华为“天才少年”彭志辉(稚晖君)创立。
公司成立后已完成多轮融资,并发布首款双足人形机器人“远征A1”。2024年,智元机器人推出“远征”与“灵犀”系列五款商用机型,灵犀X1 later面向全球正式开源。
进入2025年,其实现通用机器人量产,累计下线超千台,还发布了四足机器人D1系列、灵犀X2、智元精灵G2等产品,并推出灵创平台。
在加快开发机器人相关产品的同时,该公司在资本运作和产业布局上动作频繁。成立至今,其已投资或与外部各类产业方、机构等合资设立众多公司,业务方向广泛,覆盖具身智能领域的本体及大模型、关键零部件等。
在本体及大模型领域,智元投资了数字华夏、首形科技、灵初智能、星源智机器人等公司。其中,数字华夏与智元机器人联合开发了仿生机器人夏洛。灵初智能推出的Psi R1模型,具备基于“Chain of Action Thought (CoAT)” 框架的自主推理能力。
在关键零部件企业方面,智元也有所涉足,投资了千觉机器人、灵猴机器人、富兴电机等。千觉机器人的核心产品包括高分辨率多模态触觉传感器等;灵猴机器人的产品覆盖视觉组件以及直线电机等运动部件;富兴电机则生产全系列伺服电机等产品。从所投资的企业主营业务来看,智元机器人或希望借此提升其供应链的稳定性,推动本体开发与零部件技术协同发展。
除上述投资外,智元机器人近期最受外界关注的动作无疑是入股上纬新材料。11月6日,智元机器人完成对上纬新材料的要约收购,持有上纬新材料2.4亿股股份,占总股本的58.6232%,其一致行动人共计持有上纬新材料2.6亿股股份,占总股本的63.6232%。
11月25日晚间,上纬新材料发布公告称,董事会会议选举彭志辉为第四届董事会董事长,田华为首席执行官(CEO),并担任法定代表人。同时,董事会还选举了多位董事及管理人员。
此前,市场曾传出智元机器人计划明年在香港上市,估值为51亿美元至64亿美元,但智元相关负责人已否认该消息。而上纬新材料也在公告中表示,短期内智元创新不存在借壳上市的计划。
游乐网为非赢利性网站,所展示的游戏/软件/文章内容均来自于互联网或第三方用户上传分享,版权归原作者所有,本站不承担相应法律责任。如您发现有涉嫌抄袭侵权的内容,请联系youleyoucom@outlook.com。
同类文章
AI能从单份血样检出多种神经疾病
来源:科技日报科技日报讯 (记者刘霞)由瑞典隆德大学领衔的国际研究团队,研发出一款新的人工智能(AI)模型。该模型仅需一份血液样本,便能精准识别多种神经退行性疾病。团队期望,该AI模型未来能实现“一
褪去虚火,脑机接口方能释放长远价值
来源:科技日报2026年开年,马斯克宣称脑机接口产品将于年内启动量产,引爆全球市场情绪。国内资本随即扎堆追捧,脑机接口相关概念股大幅走高,行业短期炒作虚火蔓延。进入3月,脑机接口迎来多重利好:脑机接
黎万强、洪锋退出小米科技股东名单
人民财讯4月7日电,企查查APP显示,近日,小米科技有限责任公司发生工商变更,原股东小米联合创始人黎万强、洪锋退出,同时,注册资本由18 5亿元减至约14 8亿元。 企查查信息显示,该公司成立于20
新闻分析|“阿耳忒弥斯2号”任务为何只绕月不登月
新华社北京4月7日电 新闻分析|“阿耳忒弥斯2号”任务为何只绕月不登月 新华社记者张晓茹 美国东部时间6日18时40分许(北京时间7日6时40分许),执行美国“阿耳忒弥斯2号”载人绕月飞行任
“链接未来·智汇静安”区块链创新应用优秀场景分享(四)| 信医基于区块链与隐私计算的真实世界研究数据产品
聚焦数字技术,释放创新动能。为集中展示静安区区块链技术从“实验室”走向“应用场”的丰硕成果,挖掘一批可复制、可推广的行业解决方案,加速构建区块链产业生态闭环,静安区数据局特推出“静安区区块链创新应用
- 日榜
- 周榜
- 月榜
相关攻略
2015-03-10 11:25
2015-03-10 11:05
2021-08-04 13:30
2015-03-10 11:22
2015-03-10 12:39
2022-05-16 18:57
2025-05-23 13:43
2025-05-23 14:01
热门教程
- 游戏攻略
- 安卓教程
- 苹果教程
- 电脑教程
热门话题

