Apple Pencil新专利解读:模拟真实笔触,提升书写手感
据IT之家3月11日消息,科技媒体AppleInsider昨日(3月10日)发布文章,通过查阅美国商标和专利局的公开清单,发现苹果公司获得一项Apple Pencil相关专利,该专利描述其具备“物理形变”能力。
免费影视、动漫、音乐、游戏、小说资源长期稳定更新! 👉 点此立即查看 👈
文章介绍,这项专利名为“具备可调特征的触控笔”,它将使Apple Pencil不再局限于单一的数字触控。通过灵活改变笔身的物理形态与内部结构,它可以精确模拟出钢笔、铅笔、粉笔、马克笔或毛笔等传统画材的真实握持感与书写手感。
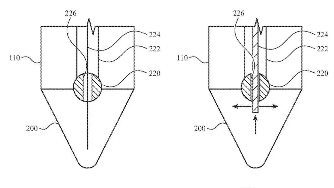
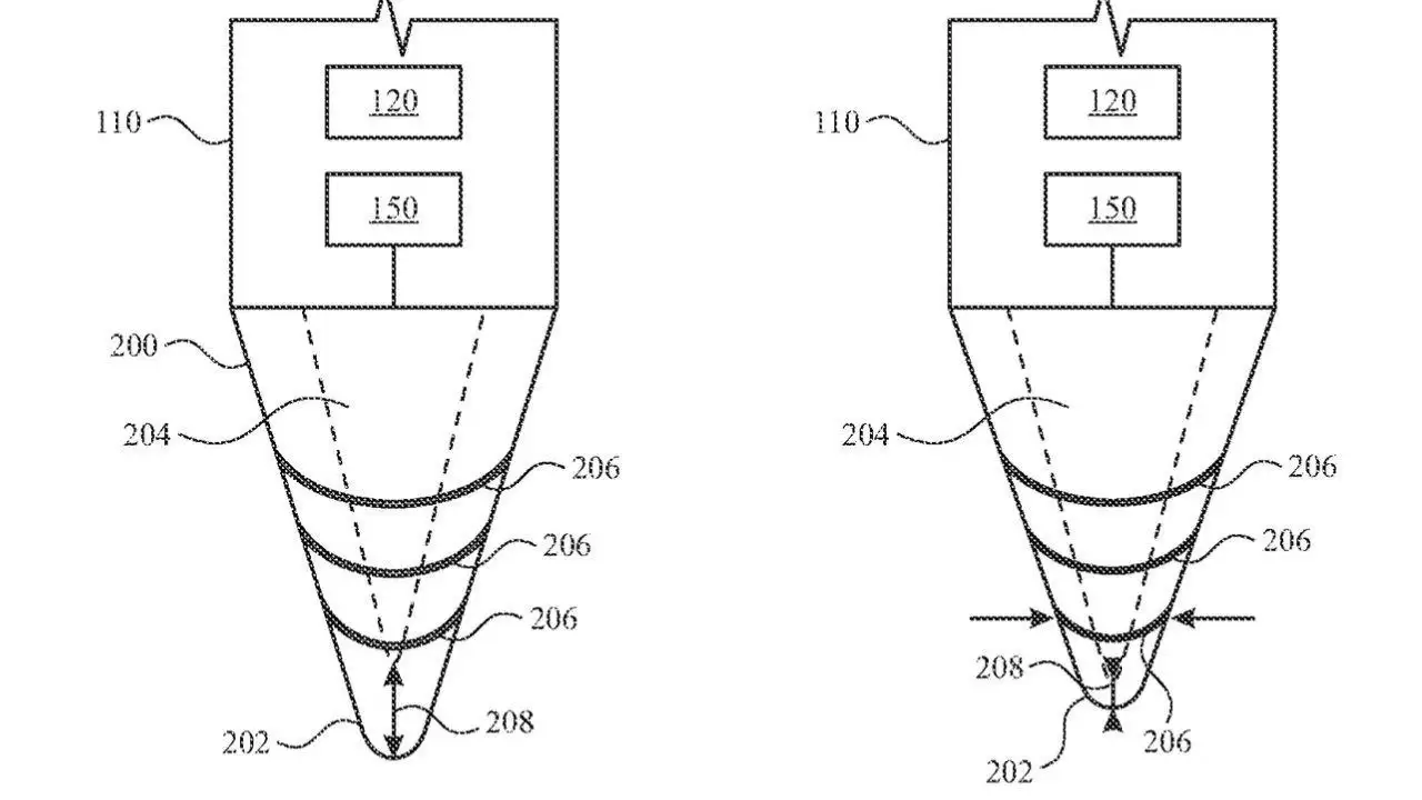
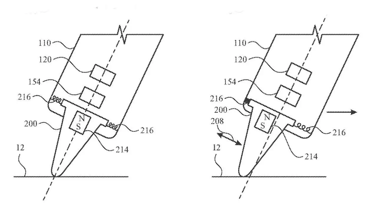
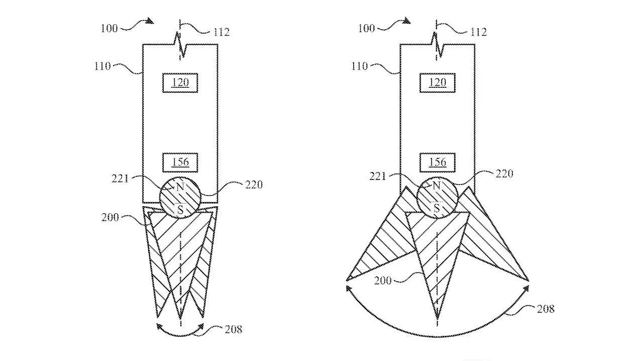
专利文件显示,为实现逼真的物理触感,苹果在触控笔内部引入了前沿材料与机械结构。具体而言,新一代Apple Pencil的笔尖外壳与刚性核心之间或填充一种“磁流变液”。
系统可通过电磁场实时改变该液体的粘度,从而动态调整笔尖的硬度、韧性与摩擦力。同时,笔身内部的微型元件支持定向移动,以此改变触控笔的重心和转动惯量,还原不同实体画笔的重量分布特性。
在外部形态方面,苹果在专利中明确表示,未来的笔尖不再局限于传统的固定圆锥体,而是能够根据当前任务动态改变其大小与形状。
专利草图还进一步展示了一项“分裂”功能:笔尖能够从单一触点展开为多个触点,直接在物理层面模拟真实毛笔的刷毛质感。此外,笔身表面或集成触控感应区,方便用户一键切换不同的画笔物理属性。
在生态适配层面,这款支持“物理变形”的Apple Pencil未来不仅将继续深度兼容iPad,甚至有望扩展至iPhone设备。
游乐网为非赢利性网站,所展示的游戏/软件/文章内容均来自于互联网或第三方用户上传分享,版权归原作者所有,本站不承担相应法律责任。如您发现有涉嫌抄袭侵权的内容,请联系youleyoucom@outlook.com。
同类文章
朱珠40岁迎来事业巅峰大女主时代正式开启
《蜜语纪》热播引发共鸣,讲述全职主妇许蜜语重返职场后的自我重建。朱珠细腻演绎角色困境与觉醒,剧集突破“爽剧”模式,传递“年龄非束缚、人生可重启”的积极信念,鼓励女性保持独立与成长。
王暖暖解约后遭网友抵制流量反噬引发争议
王暖暖与MCN机构解约纠纷三天内迅速解决。她控诉高强度工作致晕厥,公司否认霸凌称系友好协商。舆论未一边倒支持,反出现“利用舆论”等批评,甚至模糊其受害者身份。事件反映公众人物享受流量红利也需承担义务,公众质疑商业行为虽正常,但恶意呼吁封杀已越合理尺度。
藏海传第二季海报发布一念之间覆手翻云
《藏海传Ⅱ》发布概念海报,配文“覆手翻云,只在一念”。该剧由郑晓龙、曹译文执导,肖战等主演。故事讲述稚奴经历家族变故后,隐忍十年,以“藏海”之名重返朝堂。他凭借技艺与谋略稳步晋升,旨在平息战乱,守护家国安宁。
德阳文旅短剧重生只为你爱可否重来拍摄地旅游攻略
文旅短剧《重生只为你爱可否重来》正在德阳拍摄。该剧讲述主角苏晚重生回到2008年,决心扭转命运,阻止母亲悲剧并创业反击仇人,与同样重生的爱人陈敬言并肩解开前世心结,最终共同打造商业版图。该剧由专业团队打造,并获当地多方支持。
正午阳光十大封神剧集排名人世间垫底琅琊榜位列第三
谈及国产电视剧的品质标杆,“正午阳光”无疑是业界与观众心中公认的金字招牌。“正午出品,必属精品”的口碑流传,虽有盛赞之誉,却也精准反映了其作品一贯的高水准。今天,我们就来深度盘点那些被观众誉为“封神之作”的正午阳光经典剧集。这份榜单,不以商业热度为标尺,而是聚焦于作品的时代穿透力、人性描摹的深度以及
- 日榜
- 周榜
- 月榜
1
2
3
4
5
6
7
8
9
10
1
2
3
4
5
6
7
8
9
10
相关攻略
2015-03-10 11:25
2015-03-10 11:05
2021-08-04 13:30
2015-03-10 11:22
2015-03-10 12:39
2022-05-16 18:57
2025-05-23 13:43
2025-05-23 14:01
热门教程
- 游戏攻略
- 安卓教程
- 苹果教程
- 电脑教程
热门话题

