Apple Vision Pro新专利曝光:将实现按需定制与组件更换
苹果新专利曝光:未来Vision Pro可像乐高一样自定义?
近期,科技领域一项关于苹果Vision Pro头显的专利信息引发广泛关注。有消息指出,苹果公司正在研究一种创新的模块化设计方案,旨在让未来的Apple Vision Pro能够像“可自定义的积木套装”一样,允许用户根据实际使用场景,灵活更换电池模组、头戴部件乃至显示单元。这种设计理念,与我们过去购买电子产品时“配置固定、一锤定音”的传统模式形成了鲜明对比,或将彻底改变头戴式设备的用户体验。
免费影视、动漫、音乐、游戏、小说资源长期稳定更新! 👉 点此立即查看 👈

专利深度解析:从“大而全”到“核心+扩展”的设计转型
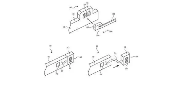
这份名为“可连接配件的头戴式设备”的专利文件,揭示了一个核心的设计思路:未来的Apple Vision Pro主机本身,无需集成所有潜在功能。取而代之的是,它将作为一个核心计算与传感平台,通过标准化的接口,允许用户连接各种外部配件来实现功能扩展与个性化定制。
这种模式类似于专业相机系统:用户购买一个高性能的机身,然后根据拍摄需求自由搭配不同镜头、闪光灯和手柄。专利中强调,用户能够便捷地在不同场景下连接特定配件或外部设备,从而组合出差异化的功能配置。这一思路若能实现,将显著提升设备的场景适应性与产品生命周期。

相关报道
按需定制:工作娱乐两不误,清晰度与续航兼得
专利文件通过一个具体的生活化案例,清晰地阐述了模块化设计的实用价值:同一用户在不同场景下的核心需求往往是矛盾且动态变化的。例如,在家中享受沉浸式影视内容或进行精细的3D建模工作时,用户对屏幕的极致分辨率与色彩表现有极高要求;而当需要佩戴设备外出进行移动办公或长途差旅时,持久的电池续航能力则成为首要考量因素。
此时,若显示模块与电池模组支持用户自主更换,这一矛盾便能迎刃而解。当然,业界普遍分析认为,此类核心组件的更换大概率不会作为标准配置提供,而是会以苹果官方认证的付费配件形式单独销售。用户若想获得超长续航体验,可能需要额外选购一块高容量电池模块。

生态展望:封闭系统还是开放平台?
由此也引出了一个关键议题:未来Vision Pro的配件生态将如何构建?目前,Apple Vision Pro尚未推出类似“MFi(Made for iPhone)”那样成熟的第三方配件认证计划。如果苹果选择维持相对封闭的生态策略,那么很可能只会由官方及少数认证合作伙伴推出专属配件,形成一个类似iPad妙控键盘那样的高度整合生态。
然而,无论最终生态走向开放还是封闭,模块化设计的方向已日趋明朗。未来的Apple Vision Pro,极有可能以一个高度集成的主机框架为基础,像搭建乐高积木一样,外接各类专业功能组件。从专利附图展示的多种设备连接与接口设计方案来看,苹果在机械结构、电气接口与数据协议层面已进行了深度布局。这预示着,头戴式显示设备或许正从“高度集成的一体机”时代,迈向“高度可定制的模块化组装机”的全新阶段。
游乐网为非赢利性网站,所展示的游戏/软件/文章内容均来自于互联网或第三方用户上传分享,版权归原作者所有,本站不承担相应法律责任。如您发现有涉嫌抄袭侵权的内容,请联系youleyoucom@outlook.com。
同类文章
机械革命推出 2026 款耀世 16 Ultra 游戏本:水冷双烤 300W,OLED 屏
机械革命耀世16 Ultra 2026款游戏本深度解析:300W水冷双烤与OLED旗舰屏 追求极致性能的游戏玩家们,一款定义未来的高性能游戏本已经登场。机械革命近期正式发布了2026款耀世16 Ultra游戏笔记本电脑,其核心配置与散热设计堪称行业标杆。新品搭载了英特尔全新酷睿Ultra 9 290
泰坦军团确认 U275M 显示器在 720p 下支持 1060Hz 刷新率
泰坦军团TITAN ARMY高刷显示器信息追踪 关注高刷新率电竞显示器的玩家或许还记得,今年二月,泰坦军团在其产品型号速查表中,悄然预告了一个惊喜——两款标称在HD(720p)模式下可实现1000Hz极致刷新率的型号:孤勇U275M和仓刀X276M。当时,这两款新品尚未登陆主流线上销售渠道,其真实性
对话丽天智能王士涛:光伏安装机器人,隐秘的千亿蓝海
光伏制造自动化率超90%,电站建设自动化率不足5%:能源转型的隐秘瓶颈与破局之道 审视当前光伏产业,一个鲜明的断层已然显现:上游硅片制造端的自动化率已突破90%,而下游电站建设端的自动化率却仍低于5%。这不仅是制造业与建筑业的效率鸿沟,更是全球能源转型进程中最为关键的瓶颈之一。突破这一瓶颈,已成为释
LibTV上不排队的Seedance 2.0,治好了我的抽卡焦虑
全网AI视频创作者翘首以盼,Seedance 2 0公测正式开启 漫长的等待终于结束。对于广大AI视频创作者来说,Seedance 2 0的公测无疑是近期最重磅的利好消息。“终于不用再去即梦平台排队等待数小时了”,一位AI漫剧从业者如此感慨。行业一边是创作者们的跃跃欲试,另一边,整个AI视频赛道也正
北大团队推出AI自主全球直播,探讨脑机接口技术安全
AI策划的直播为何聚焦脑机接口安全?深度解析技术爆发前的隐忧 3月18日,一场全程由AI自主策划并主持的全球直播在科技界引发广泛关注。这场直播的特殊性在于,其从主题设定到流程执行均由名为“球球AI”的数字主播独立完成。直播中,AI主播提出了一个关键预警:脑机接口技术预计将在未来1至3年内迎来消费级产
- 日榜
- 周榜
- 月榜
1
2
3
4
5
6
7
8
9
10
1
2
3
4
5
6
7
8
9
10
相关攻略
2015-03-10 11:25
2015-03-10 11:05
2021-08-04 13:30
2015-03-10 11:22
2015-03-10 12:39
2022-05-16 18:57
2025-05-23 13:43
2025-05-23 14:01
热门教程
- 游戏攻略
- 安卓教程
- 苹果教程
- 电脑教程
热门话题

